Eksperymentalna budowa urządzeń telekinetyki
do generowania darmowej energii
(2-języcznie po angielsku For English version click on this flag i polsku Dla polskiej wersji kliknij na ta flage)
Uaktualizowano:
7 sierpnia 2013


Kliknij "X" lub "No" na np. planszy rzekomych błędów, lub na reklamie, jeśli te usiłują przeszkodzić w oglądnięciu tej strony.



Menu 1:

(Wybór języka:)


(Organizujące:)

Strona główna

Skorowidz

Menu 2

Menu 4

FAQ

Tekst [11] w PDF


(Po polsku
na tej witrynie:)

Telekinetyka

Telekinetyka w PDF

Źródłowa replika tej strony

Darmowa energia

Telekinetyczne ogniwo

Grzałka soniczna

Telekinetyka

Samochody bez spalin

Telekineza

Strefa wolna od telekinezy

Telepatia

Trzęsienia ziemi

Sejsmograf

Artyfakt

Koncept Dipolarnej Grawitacji

Totalizm

Pasożytnictwo

Karma

Prawa moralne

Nirwana

Dowód na duszę

Wehikuły czasu

Nieśmiertelność

Napędy

Magnokraft

Komora oscylacyjna

Militarne użycie magnokraftu

Tapanui

Nowa Zelandia

Atrakcje Nowej Zelandii

Dowody działań UFO na Ziemi

Fotografie UFO

Chmury-UFO

Bandyci wśród nas

Tornado

Huragany

Katrina

Lawiny ziemne

Zburzenie hali w Katowicach

Ludobójcy

26ty dzień

Petone

Przepowiednie

Plaga

Podmieńcy

WTC

Columbia

Kosmici

UFOnauci

Formalny dowód na istnienie UFO

Zło

Antychryst

O Bogu naukowo

Dowód na istnienie Boga

Metody Boga

Biblia

Wolna wola

Prawda

O mnie (dr inż. Jan Pająk)

Starsze "o mnie"

Poszukuję pracy

Aleksander Możajski

Świnka z chińskiego zodiaku

Zdjęcia ozdobnych świnek

Radości po 60-tce

Kuramina

Uzdrawianie

Owoce tropiku

Owoce w folklorze

Książka kucharska

Ewolucja ludzi

Wszystko-w-jednym

Grecka klawiatura

Rosyjska klawiatura

Rozwiązanie kostki Rubika 3x3=9

Rozwiązanie kostki Rubika 4x4=16

Wrocław

Malbork

Milicz

Bitwa o Milicz

Św. Andrzej Bobola

Liceum Ogólnokształcące w Miliczu

Klasa Pani Hass z LO Milicz

Absolwenci 1970

Nasz rok

Wykłady 1999

Wykłady 2001

Wykłady 2004

Wykłady 2007

Wieś Cielcza

Wieś Stawczyk

Wszewilki

Zwiedzaj Wszewilki i Milicz

Wszewilki jutra

Zlot "Wszewilki-2007"

Unieważniony Zjazd "2007"

Poprzedni Zlot "2006"

Raport Zlotu "2006"

Korea

Hosta

Lepsza ludzkość

Partia totalizmu

Statut partii totalizmu

FAQ - częste pytania

Replikuj

Memoriał

Sabotaże

Skorowidz

Menu 2

Menu 4

Źródłowa replika strony menu

Tekst [11] w PDF

Tekst [10] w PDF

Tekst [8p/2]

Tekst [8p]

Tekst [7]

Tekst [7/2]

Tekst [7b]

Tekst [6/2]

[5/4]: 1, 2, 3

Tekst [4c]: 1, 2, 3

Tekst [4b]

Tekst [3b]

Tekst [2]

[1/3]: 1, 2, 3

X tekst [1/4]

Monografia [1/4]:
P, 1, 2, 3, E, X

Monografia [1/5]



(In English
here:)

Telekinetics

Telekinetics in PDF

Source replica of this page

Free energy

Telekinetic cell

Sonic boiler

Telekinetics

Zero pollution cars

Telekinesis

Telekinesis Free Zone

Telepathy

Earthquake

Seismograph

Artefact

Concept of Dipolar Gravity

Totalizm

Parasitism

Karma

Moral laws

Nirvana

Proof of soul

Time vehicles

Immortality

Propulsion

Magnocraft

Oscillatory Chamber

Military use of magnocraft

Tapanui

New Zealand

New Zealand attractions

Evidence of UFO activities

UFO photographs

Cloud-UFOs

Bandits amongst us

Tornado

Hurricanes

Katrina

Landslides

Demolition of hall in Katowice

Predators

26th day

Petone

Prophecies

Plague

Changelings

WTC

Columbia

Aliens

UFOnauts

Formal proof for the existence of UFOs

Evil

Antichrist

About God

Proof for the existence of God

God's methods

The Bible

Free will

Truth

About me (Dr Eng. Jan Pajak)

Old "about me"

My job search

Aleksander Możajski

Pigs from Chinese zodiac

Pigs Photos

Healing

Tropical fruit

Fruit folklore

Cookbook

Evolution of humans

All-in-one

Greek keyboard

Russian keyboard

Solving Rubik's cube 3x3=9

Solving Rubik's cube 4x4=16

Wrocław

Malbork

Milicz

Battle of Milicz

St. Andrea Bobola

Village Cielcza

Village Stawczyk

Wszewilki

Wszewilki of tomorrow

Korea

Hosta

1964 class of Ms Hass in Milicz

TUWr graduates 1970

Lectures 1999

Lectures 2001

Lectures 2004

Lectures 2007

Better humanity

Party of totalizm

Party of totalizm statute

FAQ - questions

Replicate

Memorial

Sabotages

Index of content with links

Menu 2

Menu 4

Source replica of page menu

Text [11] in PDF

Text [8e/2]

Text [8e]

Text [7]

Text [7/2]

Text [6/2]

Text [5/3]

Figs [5/3]

Text [2e]

Figures [2e]: 1, 2, 3

Text [1e]

Figures [1e]: 1, 2, 3

X text [1/4]

Monograph [1/4]:
E, 1, 2, 3, P, X

Monograph [1/5]


(Hier auf Deutsch:)

Freie Energie

Telekinesis

Moralische Gesetze

Totalizm

Über mich

Menu 2

Menu 4

Quelreplica dieser Seite


(Aquí en espańol:)

Energía libre

Telekinesis

Leyes morales

Totalizm

Sobre mí

Menu 2

Menu 4

Reproducción de la fuente de esta página


(Ici en français:)

Énergie libre

Telekinesis

Lois morales

Totalizm

Au sujet de moi

Menu 2

Menu 4

Reproduction de source de cette page


(Qui in italiano:)

Energia libera

Telekinesis

Leggi morali

Totalizm

Circa me

Menu 2

Menu 4

Replica di fonte di questa pagina




Menu 2:

(Przesuwne)

Oto wykaz wszystkich stron które powinny być dostepne pod niniejszym adresem (tj. na tym serwerze), w zestawieniu językowym - w 8 językach. Jest on częściej aktualizowanym powtórzeniem stron zestawionych też w "Menu 1". Wybierz poniżej interesującą Cię stronę manipulując suwakami, potem kliknij na nią aby ją uruchomić:

Tu powinna być wyświetlona strona menu2.htm.

(Ten sam wykaz daje się też wyświetlić z "Menu 1" poprzez kliknięcie tam na "Menu 2".)



Menu 3: (Alternatywne adresy internetowe tej witryny, np.:)

artefact.uhostall.com

bobola.net78.net

cielcza.iwebs.ws

energia.sl.pl

karma.khoai.vn

petone.loomhost.com

proof.t15.org

rex.dasfree.com

soul.frihost.org

tornado.fav.cc

totalizm.pl

totalizm.com.pl

(Starsze wersje:)

cielcza.5GBFree.com

quake.hostami.me

bible.webng.com

malbork.webng.com

tornados2005.narod.ru

tornado.zxq.net

dhost.info/nirvana

pajak.fateback.com

geocities.ws/immortality

morals.mypressonline.com

telekinesis.50megs.com

malbork.20megsfree.com

ufonauci.w.interia.pl




Menu 4:

(Przesuwne)

Oto wykaz adresów wszystkich totaliztycznych witryn działających w dniu aktualizacji tej strony. Pod każdym z owych adresów powinny być dostępne wszystkie totaliztyczne strony wyszczególnione w "Menu 1" i "Menu 2", włączajac w to również ich odmienne wersje językowe (tj. wersje w językach: polskim, angielskim, niemieckim, francuskim, hiszpańskim, włoskim, greckim i rosyjskim). Najpierw więc w poniższym okienku wybierz adres serwera z każdego masz zamiar skorzystać manipulując suwakami, potem kliknij na jego adres, kiedy zaś otworzy się strona reprezentująca ów serwer wówczas wybierz sobie z "Mednu 1" lub z "Menu 2" interesującą cię stronę i kliknij na nią aby ją uruchomić i przeglądnąć:

Tu powinna być wyświetlona strona menu.htm.

(Niniejszy wykaz daje się też wyświetlić z "Menu 1" poprzez kliknięcie tam na "Menu 4".)


Termin "telekinetyka" (po angielsku "telekinetics"), od którego wywodzi się nazwa niniejszej strony, oznacza "dyscyplinę naukową o urządzeniach do wytwarzania nieustającego i samopodtrzymującego się ruchu odbywanego na zasadach telekinezy". Zgodnie z tą nazwą, niniejsza strona prezentuje raport z eksperymentów i badań nad skonstruowaniem i wdrożeniem do seryjnej produkcji fabrycznej pierwszych na Ziemi urządzeń telekinetyki, czyli urządzeń które generują wiecznie trwający darmowy ruch lub darmową energię, podczas gdy wcale nie wymagają w tym celu zasilania w jakąkolwiek formę energii lub paliwa.
      


Część #A: Informacje wprowadzające tej strony:

      

#A1. Jakie są cele tej strony:

       Głównym celem niniejszej strony internetowej oraz materiału ilustracyjnego który ukazałem tutaj czytelnikowi, jest zaprezentowanie raportu z dotychczasowych badań i eksperymentów nad skonstruowaniem i wdrożeniem do produkcji pierwszych na Ziemi urządzeń telekinetyki.
       Strona ta jednocześnie została tak zaprojektowana aby służyć jako rodzaj wytycznych dla hobbystów którzy podejmują budowę owych urządzeń telekinetyki. Ujawnia ona bowiem nie tylko co już zostało eksperymentalnie ustalone na temat owych urządzeń przez innych badaczy, ale także wyjaśnia jaka jest poprawna procedura podjęcia budowy tych niezwykłych urządzeń.
       Strona ta poszerza też i uściśla część #D odrębnej strony free_energy_pl.htm - o telekinetycznych generatorach darmowej energii, w której opisano budowę i zasadę działania jednego z pierwszych prototypów urządzeń telekinetycznych, powszechnie znanego pod nazwą "Thesta Distatica". Thesta-Distatica należy do większej grupy urządzeń telekinetycznych jakiach zasada działania wywodzi się z urządzeń elektrostatyki, po niemiecku nazywanych "influenzmaschines".


Część #B: Filozoficzne przesłanki które wskazują, że zbudowanie energetycznych urządzeń telekinetyki jest możliwe:

      

#B1. Teoria Wszystkiego zwana Konceptem Dipolarnej Grawitacji ujawnia, że nieustający i beztarciowy "ruch" wiecznie ruchliwej "przeciw-materii" jest fundamentalnym zachowaniem we wszechświecie:

       Na całym szeregu totaliztycznych publikacji, przykładowo na stronie o nazwie dipolar_gravity_pl.htm, a także w podrozdziale A1.1 z tomu 1 mojej najnowszej monografii [1/5], wyjaśnione zostało że nasz "świat fizyczny" jest tylko "połową" wszechświata. Drugą połowę zajmuje tzw. "przeciw-świat", przez religie nazywany "tamtym światem". Ów "przeciw-świat" zapełniony jest unikalną substancją zwaną "przeciw-materia". Z kolei unikalną cechą owej przeciw-materii jest, że w przeciwieństwie do statycznej i inercyjnej materii z naszego świata fizycznego, "przeciw-materia" jest rodzajem bezinercyjnego i beztarciowego płynu który znajduje się w stanie nieustającego ruchu. Ponieważ zaś owa inercyjna i nieruchoma "materia" z naszego "świata fizycznego" została stworzona właśnie poprzez odpowiednie zaprogramowanie ruchów tamtej "przeciw-materii", faktycznie wieczysty ruch jest najbardziej fundamentalnym zachowaniem we wszechświecie. Innymi słowy, teoria wszystkiego zwana Konceptem Dipolarnej Grawitacji ujawnia, że nieustający ruch i samoczynny dopływ energii są naturalnym zachowaniami wszechświata, zaś inercja, nieruchomość, oraz potrzeba generowania dopływu energii są stanami sztucznie wymuszonymi i obowiązującymi tylko w obrębie naszego "świata fizycznego".
       Powyższe wyjaśnienia, że nieustający ruch jest "naturalnym zachowaniem wszechświata", zaś bezruch jest "stanem sztucznie wymuszonym", wprowadzają ogromnie istotne implikacje filozoficzne. Mianowicie oznaczają one, że pozostaje tylko kwestią czasu aż "totaliztyczne nauki" znajdą jakieś "obejście" naokoło "blokady" uniemożliwiającej ludzkości korzystanie z owego "wieczystego ruchu" wszechświata, oraz z "nielimitowanych ilości darmowej energii" której ów wieczysty ruch jest w stanie nam dostarczyć. Z kolei owo znalezienie "obejścia blokad" otworzy ludziom nieograniczony dostęp do dowolnych ilości darmowej energii. Istnieje jednak istotny problemem ze znalezieniem i z technicznym wdrożeniem owego "obejścia energetycznej blokady". Problem ten wskazują nam ustalenia "totaliztycznej nauki" - tj. tej nauki która opisana jest dokładniej w punkcie #C1 niniejszej strony, a która bada rzeczywistość zgodnie z podejściem "od przyczyny do skutku". Mianowicie, aby "przyczyna wszystkiego" (czyli "Bóg") pozwoliła ludzkości uzyskać dostęp do nieograniczonych ilości darmowej energii, najpierw ludzkość musi nauczyć się jak żyć i jak zachowywać się w "moralny sposób" - tak aby przypadkiem jej niemoralni przywódcy i politycy NIE wykorzystywali potem owych nieograniczonych ilości energii do kontynuowania dotychczasowego eksploatowania biedniejszych od siebie, do wyniszczenia natury, oraz do powtarzalnego wymordowywania wojnami wymykającej się spod ich kontroli części populacji Ziemi. Dlatego wszystkie oznaki na niebie i Ziemi wskazują, że ludzkość uzyska dostęp do owej nielimitowanej energii dopiero kiedy na Ziemi ustanowiona zostanie oficjalnie "totaliztyczna nauka" opisana poniżej w punkcie #C1, a także kiedy owa "totaliztyczna nauka" zdoła zmienić zasady na jakich działają poszczególne społeczeństwa. Niefortunnie, z powodu uporu z jakim ludzie odmawiają przyjęcia do wiadomości udzielanych im lekcji moralnych, istnieje spore prawdopodobieństwo że zanim dojdzie do ustanowienia takiego "moralniejszego porządku" na Ziemi, najpierw spora część obecnej ludzkości być może będzie musiała zostać wyniszczona kataklizmami - podobnymi do tych które opisuje punkt #M1 niniejszej strony, lub na odrębnej stronie o nazwie seismograph_pl.htm.


#B2. Przykład najprostrzego "urządzenia do wytwarzania nieustającego i samopodtrzymującego się ruchu z samo-odtwarzających się i nieustających zjawisk natury":

       Aby ujawnić tutaj, że faktycznie istnieją sposoby na podłączenie się do owego niewyczerpanego i wieczystego ruchu wszechświata, opiszę poniżej najprostrze urządzenie które demonstruje iż takie urządzenia generujące wieczysty ruch faktycznie są możliwe do zbudowania. Opisywane tutaj urządzenie zaprezentowałem już na sporej liczbie swoich publikacji, przykładowo w punkcie #G2 strony o nazwie pajak_jan.htm czy w punkcie #A2 strony o nazwie boiler_pl.htm. Najwięcej jednak opisów owego urządzenia porozsyłalem do wielu uniwersytetów z najróżniejszych krajów świata kiedy w latach 2005 do 2011 bezowocnie starałem się o znalezienie jakiejś posady badawczej która umożliwiłaby mi zbudowanie i przebadanie prototypów takich urządzeń do pozyskiwania nieograniczonych ilości darmowej energii. Wiele bowiem uniwersytetów, które wówczas ogłaszały pozycje dla badań nowych i niekonwencjonalnych źródeł energii, wymagało aby wraz z podaniem wysłać im projekt badań zamierzanych do przeprowadzenia. W ramach właśnie proponowania takiego projektu przygotowałem też opis urządzenia jaki przytoczę poniżej w niniejszym punkcie. Nie muszę tutaj już dodawać, że niestety, wszystkie tamte moje podania o pracę i wysiłki znalezienia pozycji badawczej pozwalającej na zbudowanie owego urządznie, okazały się bezowocne. Jednak ostatnio odkryłem i opisałem dokładniej w punkcie #I1 strony o nazwie seismograph_pl.htm, że Bóg celowo organizował tamte moje oferty budowy i badań opisywanego tutaj urządzenia, aby dać wstępne ostrzeżenie i "fair szansę" tym krajom i narodom które w przyszłości będą ukarane paralizującym ich życie "kryzysem energetycznym". Wszakże niedawno się okazało, że dokładnie na takiej samej zasadzie Bóg również tak pokierował moim rozsyłaniem innych propozycji zbudowania i przebadania "urządzenia ostrzegającego do wczesnego wykrywania nadchodzących trzęsień ziemi", że moje oferty zbudowania owego urządzenia ostrzegającego otrzymały wszystkie te kraje i miasta które już wkrótce potem miały być zniszczone trzęsieniami ziemi - co też opisałem w w/w punkcie #I1 strony seismograph_pl.htm oraz w (3) z punktu #E2 strony o nazwie wroclaw.htm. Oto więc prezentacja fragmentu moich propozycji badawczych załączanych do podań o pracę wysyłanych na uczelnie wielu krajów świata, które to propozycje zawierały opis omawianego tu przykładu urządzenia do absorbowania wieczystego ruchu z wiecznie ruchliwego zjawiska wszechświata - cytuję z jednego ze swoich ówczesnych podań o pracę:
* * *
       Kolejnym urządzeniem którego rozwój i badania chciałbym zaproponować jako przykład mojego przyszłego projektu badawczego, jest urządzenie energetyczne jakie już otwarłem do publicznego wykonania i badań poprzez umieszczenie jego opisów w "public domain" moich stron internetowych. Urządzenie to doskonale ilustruje m.in. możliwość podjęcia budowy całkowicie nowej klasy "urządzeń do generacji bezzanieczyszczeniowej energii z samo-odtwarzających się i nieustających zjawisk natury". Mianowicie, załóżmy przez chwilę że istnieje niewidzialny rodzaj "wiatru" o którego istnieniu narazie dzisiejsza nauka ciągle NIE jest świadoma. Jeśli ów (nadal nieznany i niewidzialny) "wiatr" wiałby bez przerwy, jednostajnie, oraz silnie, przez, powiedzmy, kilka milionów lat, wówczas "wiatrak" który taki "wiatr" by napędzał, stałby się urządzeniem które mogłoby zostać nazwane bardzo już niemodną dla klasycznych badaczy energii nazwą "perpetum mobile". Wszakże ów niewidzialny i nieznany dzisiejszej nauce "wiatr" napędzałby "wiatrak" nieprzerwanie przez nieskończoną liczbę lat, podczas gdy dzisiejsza nauka NIE wiedzałaby dlaczego owo urządzenie działa i dlaczego generuje ono energię. Niefortunnie, wiemy również że żadem dzisiejszy naukowiec NIE miałby odwagi aby podjąć badania nad takim możliwym "perpetum motion" - wszakże by został "zlinczowany" przez swoich kolegów którzy wierzą w owe statystyczne przewidywania zwane "prawami termodynamiki" (które stwierdzają kategorycznie że "perpetum motion" jest niemożliwe do zbudowania). Wszakże, przy dzisiejszej tradycji, że konieczne jest uzyskanie "naukowych referencji" dla wszystkiego co się publikuje, NIE ma szansy aby jakikolwiek artykuł naukowy o "perpetum motion" otrzymał przychylne referencje i mógł być opublikowany lub zaprezentowany na naukowej konferencji. Dlatego taki "wiatrak" który działałby na niewidzialny i nadal nauce nieznany "wiatr" NIE mógłby być badany i rozwijany przez jakiegokolwiek opłacanego przez uczelnię naukowca, jako ze dla takiego naukowca oznaczałby on "zawodowe samobójstwo". Jednak badania nad takimi "niewidzialnymi i dotychczas nieznanymi wiatrami" mogą być łatwo prowadzone i naukowo nadzorowane przerz projekty takie jak moja "public domain" - i to jest celem który ów projekt ma za zadanie osiągnąć. Potem zaś, kiedy ów projekt zakończy się już sukcesem, jego wyniki mogą być przerzucone do obszaru oficjalnej nauki.
       Interesująco, powyższy przykład "wiatraka" na niewidzialny i nadal nieznany nauce "wiatr" wcale NIE jest tak czysto hipotetyczny jak może się zdawać. Wszakże najróżniejsze nauki znają już liczne "wiatry" które "wieją" bez przerwy i jednostajnie przez miliony lat. Aby wskazać tutaj kilka przykładów takich właśnie "wiatrów", to należą do nich m.in.: obroty, a także obieg naszej planety wokół Słońca, ruch Księżyca wokół Ziemi, pole magnetyczne Ziemi, fale "kosmicznego hałasu", różnice temperatur pomiędzy powierzchnią Ziemi a np. absolutnym zerem kosmicznej próżni lub zimnem górnej atmosfery, najróżniejsze zachowania elementarnych cząsteczek, odwrotnośc tarcia, oraz wiele więcej. Jedyny problem polega na tym, ze narazie NIKT nie mial odwagi (ani wiedzy i motywacji) aby wypracować zasadę działania oraz urządzenie z pomocą których energia mogłaby być zbierana z takich nieustających zjawisk naturalnych. Jednak wynalazczość ludzka NIE zna granic. Stąd, dla każdego z takich zjawisk, zasada działania może zostać wynaleziona, która by generowała z niego energię lub niezanikający ruch mechaniczny. Jedyną przeszkodą jest, że ludzie (i naukowcy) muszą najpierw przełamać psychologiczną barierę która więzi ich myślenie i która utrzymuje ich w tradycji "patrzenia do tyłu" po zasady działania i po zjawiska, zamiast "patrzenia do przodu" w przyszłość. Stąd wyjaśnijmy sobie teraz jak moglibyśmy generować np. "nieustający ruch" z jednego z takich nieustających i niewidzialnych "wiatrów" - tj. z pola grawitacyjnego oraz z ruchu obrotowego Ziemi. Jeśli, dla przykładu, skonstruujemy mechaniczne "koło zamachowe", które wypełni trzy technicznie łatwe do spełnienia warunki, mianowicie (1) jego "moment bezwładności" będzie większy od "momentu tarcia" na jego łożyskach, (2) będzie ono doskonale wyważone - tak że pole grawitacyjne Ziemi nie wpłynie na jego pozycję kątową podczas obrotów, oraz (3) będzie ono tak zamontowane w danej pozycji geograficznej, że jego oś obrotu będzie dokładnie równoległa do osi obrotu Ziemi, wówczas takie koło zamachowe wytwarzałoby nieustający ruch względem Ziemi, z szybkością jednego obrotu na dobę. (A ściślej, pozostawałoby ono nieruchome względem układu słonecznego, podczas gdy Ziemia rotowałaby wokół niego z szybkością owego jednego obrotu na dobę.) Stąd takie koło zamachowe - zaopatrzone w odpowiednią przekładnię podłączoną do wskazówki, dostarczyłoby empirycznego dowodu że "patrząca do przodu" synteza wynalazków jest w stanie wypracować zasady działania które pozwalają aby zbierać ruch i energię mechaniczą z ruchu obrotowego naszej planety. Z kolei, kiedy następne takie "niezanikające naturalne zjawiska" (albo niewidzialne "wiatry") zostałyby zidentyfikowane, zaś zasady działania zostałyby wypracowane które pozwalałyby na generowanie z nich bezzanieczyszczeniowej energii, wówczas to by posiadało ogromnie istotny wpływ na wszystkie obszary nauki i techniki. Dla przykładu, dałoby to narodom wysoce ilustratywny przykład że ogromne ilości energii mogą być generowane bez powodowania jakichkolwiek zanieczyszczeń. Zmieniłoby to także naszą całą cywilizację, jako że przetarłoby drogę dla rozwoju najróżniejszych zasad działania które by generowały nieskończoną energię mechaniczną lub elektryczną z najróżniejszych wieczystych "wiatrów". Z kolei wdrożenie owych zasad działania pozwoliłoby ludzkości na wygenerowanie ogromnych ilości energii bez konsumowania żadnych paliw i bez generowani jakichkolwiek zanieczyszczeń, ze zjawisk co do których obecnie żaden naukowiec nie ma inspirującego przykładu ani odwagi aby je badać ponieważ po nowatorskie idee w generowaniu energii dzisiejsza tradycja nakazuje aby "patrzeć do tyłu w przeszłość" zamiast "patrzeć do przodu ku przyszlości". Wszakże NIE wolno nam mieć wątpliwości, że we wszechświecie nadal istnieje spora liczba ciągle niewykorzystanych zjawisk natury które wynalazcy są w stanie użyć do generowania energii. Jeśli więc zdołamy znaleźć metody, zasady i urządzenia które będą w stanie generować wystarczające ilości energii z takich nieustających zjawisk naturalnych, wówczas byłyby one w stanie otworzyć ludzkości dostęp do nieograniczonych źródeł bezzanieczyszczeniowej energii - znaczy energii która nie pochodzi ze spalania żadnych paliw, a stąd która nie generuje jakichkolwiek zanieczyszczeń.


Część #C: Jak "monopol na wiedzę" i spowodowane nim wypaczenia oficjalnej "nauki" indukują nieracjonalne powody które uniemożliwiły aż do dzisiaj zabranie się ludzkości za budowę "energetycznych urządzeń telekinetyki":

      

#C1. Jak wyeliminować hamujący postęp "monopol na wiedzę" dotychczasowej "ateistycznej nauki ortodoksyjnej", oraz jak poprzez uprzednie złamanie owego monopolu stworzeniem nowej "nauki totaliztycznej", stanie się możliwe odkrywanie prawdy i podejmowanie budowy bezpiecznych i korzystnych dla ludzi "urządzeń telekinetyki":

Motto: "Narody zaczynają rewolucje, bunty i wojny domowe jeśli zmuszone zostały do życia pod rządami jednego dyktatora, jednej hunty wojskowej, czy jednej monopolistycznej partii, jednak nikt NIE rusza nawet palcem chociaż wszyscy ludzie od wieków już cierpią pod dyktaturą jednej monopolistycznej nauki której błędne, powypaczane i nieodpowiedzialne twierdzenia są najbardziej pierwotnym powodem całego zła jakie widzimy obecnie wokoło, źródłem udręki dla praktycznie już każdej osoby i stopniowego wyniszczania całej naszej planety."

       Zarówno z nauki ekonomii, jak i z codziennego życia doskonale wszystkim wiadomo, że "monopole" zawsze okazują się ogromnie szkodliwe dla ludzkości - co bardziej szczegółowo starałem się wyjaśnić w punktach #H1 do #H3 strony humanity_pl.htm. Przykładowo, tylko w Nowej Zelandii gdzie "każdy zna każdego", z powodu tendencji jej ludności (a więc także i polityków) do formowania niezliczonych monopoli w każdej możliwej dziedzinie, z kraju który przed wprowadzeniem obecnych monopoli cieszył się jednym z najwyższych w świecie stadardów życia, w przeciągu zaledwie około dwudziestu lat od spuszczenia monopoli z uwięzi, ten bogaty kraj zamienił się w jeden z posiadających najniższe standardy życia w rozwiniętym świecie.
       Na przekór owej powszechnej wiedzy iż "monopole" są zaczątkiem i siedliskiem społecznego zła, w najważniejszej dla ludzi sprawie jaką jest rozwój postępu i wiedzy, ludzkość toleruje "monopol na wiedzę" dzisiejszej "ateistycznej nauki ortodoksyjnej" (tj. tej nauki która ciągle nam dyktuje nam czego mamy uczyć się w szkołach i na uczelniach). Nauka ta zaś zazdrośnie strzeże tego swojego "monopolu" i NIE dopuszcza do głosu nikogo kto zagraża jego odebraniem. Wszakże doskonale zdaje sobie ona sprawę, że do swego "monopolu" doszła tylko w efekcie mozolnego zniszczenia podobnej do niej instytucji "religii" - która przed nią dzierżyła ten sam "monopol na wiedzę". Tymczasem opisywany powyżej Koncept Dipolarnej Grawitacji stworzył naukowe i filozoficzne podstawy dla ustanowienia zupełnie "konkurencyjnej" nauki, która w punkcie #A2.6 strony totalizm_pl.htm nazywana jest "nauką totaliztyczną".
       Ta noworodząca się "nauka totaliztyczna" wyjaśnia każdemu w tamtym punkcie #A2.6 strony totalizm_pl.htm, że pełną i zbalansowaną wiedzę można gromadzić tylko jeśli każdy temat bada się z co najmniej dwóch odwrotnych punktów widzenia. Jako jeden z szeregu przykładów ilustrujących owo co najmniej dwukierunkowe podejście do badań, tamten punkt #A2.6 używa m.in. analogię oglądania krajobrazu kiedy się odbywa "drogę do" oraz "drogę z". Mianowicie, jeśli obserwuje się krajobraz kiedy jedzie się tylko w jednym kierunku, np. "do", wówczas widzi się tylko połowę widoków przez jakie się przejeżdża. Druga połowa pozostaje wszakże zasłonięta, bowiem aby ją zobaczyć trzeba ją oglądnać z zupełnie odwrotnej strony. Stąd dopiero po oglądnięciu tego samego krajobrazu podczas "drogi do" oraz podczas "drogi z", otrzymuje się pełną i zbalansowaną wiedzę tego co przy drodze tej się znajduje. Dokładnie tak samo jest też z badaniami naukowymi. Każdy problem można bowiem badać przy co najmniej dwóch odmiennych podjeściach filozoficznych, mianowicie badać "od skutku do przyczyny", lub badać "od przyczyny do skutku". Niestety, dzisiejsza "ateistyczna nauka ortodoksyjna" bada wszystko wyłącznie z podejścia "od skutku do przyczyny". Wszakże "zakłada ona z góry" że "przyczyna wszystkiego", czyli "Bóg", wogóle NIE istnieje. Dlatego aby ludzkość uzyskała pełny i zbalansowany obraz rzeczywistości, konieczne jest stworzenie zupełnie nowej "nauki totaliztycznej", która byłaby "konkurencyjna" wobec tamtej starej (oficjalnej) "ateistycznej nauki ortodoksyjnej", oraz która bazowałaby na formalnym dowodzie naukowym Konceptu Dipolarnej Grawitacji że "Bóg istnieje", a stąd która badałaby naukowo wszystko z odwrotnego niż dotychczas podejścia "od przyczyny do skutku" (czyli "od Boga" do "otaczającej nas rzeczywistości").
       Owa nowa "nauka totaliztyczna" miałaby zupełnie odwrotne podejście do gromadzenia wiedzy od dotychczasowej "ateistycznej nauki ortodoksyjnej". Wszakże kiedy dotychczasowa nauka ortodoksyjna badała wszystko wyłącznie według filozoficznego podejścia zwanego "a posteriori" - czyli "od skutku do przyczyny", owa noworodząca się "totaliztyczna nauka" bada wszystko z filozoficznego podejścia zwanego "a priori" - czyli "od przyczyny do skutku". W rezultacie, już do dzisiaj owa noworodząca się "nauka totaliztyczna" działając zupełnie bez żadnego finansowania dla swych badań, oraz nieustannie będąc wystawiona na najróżniejsze szykany i prześladowania ze strony starej "ateistycznej nauki ortodoksyjnej", ciągle zdołała przykładowo już formalnie udowodnić że "Bóg istnieje" (ów formalny dowód naukowy na istnienie Boga zaprezentowany został np. w punkcie #G2 totaliztycznej strony o nazwie god_proof_pl.htm), a także zdołała już udowodnić że "telekinetyczne 'urządzenia darmowej energii' dają się zbudować, zaś po ich zbudowaniu będą one w stanie uratować naszą cywilizację od 'energetycznej śmierci' ".
       W przeciwieństwie do dotychczasowej "ateistycznej nauki ortodoksyjnej", która egoistycznie dba jedynie o własne isteresy, zaś zupełnie zaniedbuje dobro ludzkości której jakoby miała służyć, noworodząca się "totaliztyczna nauka" jako swój cel stawia służenie "moralności, prawdzie, wiedzy, postępowi, oraz ludzkości". To z tego własnie powodu "totaliztyczna nauka" stwierdza, że starej nauki ortodoksyjnej wcale NIE wolno zastępować nową "nauką totaliztyczną", a jedynie starej nauce należy stworzyć konkurencję w formie nowej "nauki totaliztycznej" i potem utrzymywać tą "konkurencję" przy życiu poprzez jednakowe finansowanie i promowanie obu tych nauk równocześnie. Chodzi bowiem o to, że gdyby jeden "monopol na wiedzę" zastąpiło się innym "monopolem na wiedzę", z czasem stałoby się dokładnie to samo co typowo się dzieje kiedy stary skorumpowany rząd zastępuje się nowym rządem - mianowicie nowy też z upływem czasu uległby skorumpowaniu. Dlatego w witalnym interesie ludzkości leży NIE tylko aby możliwie jak najszybciej oficjalnie ustanowić i zacząć finansować nową "totaliztyczna naukę" bazującą na naukowych podstawach Konceptu Dipolarnej Grawitacji oraz na filozoficznych podstawach filozofii totalizmu, ale także aby w czasie stwarzania nowej nauki ciągle zadbać aby stara "ateistyczna nauka ortodoksyjna" nadal istniała i działała - tyle że nareszcie zaczęła mieć "naukową konkurecję" w rezultacie której obie nauki by zaczęły nawzajem "patrzeć sobie na ręce", nawzajem się intelektualnie rozliczać, sprawdzać, korygować, oraz nieustannie wyzywać na naukowe pojedynki (wszystko to zaś tylko służyłoby moralności, prawdzie, wiedzy, postepowi i dobru ludzkości).
       Po formalnym stworzeniu nowej "totaliztycznej nauki", jednym z pierwszych projektów badawczych owej nauki powinno się stać zbudowanie i wypracowanie opisywanych na tej stronie "energetycznych urządzeń telekinetyki". Tylko bowiem kiedy ludzkość wejdzie w końcu w posiadanie takich urządzeń, stanie się możliwe dalsze unikanie katastrof w rodzaju nuklearnych skażeń ziemi i ludzkości, takich jak w te z Czernobyla czy z Fukushima w Japonii (tak jak opisane to zostało w punkcie #M1 przy końcu tej strony).
       Oczywiście, "telekinetyka" to nie tylko "energetyczne urządzenia darmowej energii", ale także cały szereg innych urządzeń jakich badania ja już zapoczątkowałem i obecnie kontynuuję - przykładowo komór oscylacyjnych wszystkich trzech generacji, wehikułów telekinetycznych, czy nawet wehikułów czasu. Dlatego kiedy już nowa "nauka totaliztyczna" upora się z oddaniem do użytku ludzkości opisywanych na tej stronie "telekinetycznych urządzeń energetycznych", kolej przyjdzie na budowę tamtych dalszych urządzeń przyszłości. Zajęcia więc pracownikom owej nowej nauki wystarczy na wiele przyszłych generacji. Naprawdę warto więc aby społeczeństwa i publikatory zmusiły swoje rządy i zakisłe instytucje edukacyjne do jak najszybszego ustanowienia owej nowej "nauki totaliztycznej" - preferencyjnie ciągle jeszcze za mojego życia (tak abym to ja mógł nadać jej poprawny kierunek początkowy oraz właściwy klimat filozoficzny i intelektualny). Warto też już obecnie usilnie i aktywnie zacząć walczyć aby nauce tej przyznać oficjalny status, własne szkoły i uczelnie, własne naukowe periodyki, oraz wymagane rządowe finasowanie które byłoby zupełnie niezależne od wszelkich monopolistycznych instytucji starej nauki ortodoksyjnej. Ja osobiście oceniam bowiem, że szybkie ustanowienie takiej "nauki totaliztycznej", np. w Polsce miałoby równie doniosłe następstwa dla kraju i dla narodu, jak kiedyś przed rozbiorami miało ustanowienie słynnej "Narodowej Komisji Edukacyjnej" - jaka potem okazała się ową instytucją która umożliwiła odrodzenie się Polski jako kraju.
       Praktycznie każdy naród z czasem się buntuje jeśli przychodzi mu żyć pod terrorem tylko jednego dyktatora, pod uciskiem tylko jednej hunty militarnej, albo pod rządem tylko jednej monopolistycznej partii. Jednak praktycznie nikt nawet palcem dotychczas NIE ruszył, na przekór że cała ludzkość już od wieków jest terroryzowana, spychana w dół oraz pozbawiana prawdy przez tylko jedną "naukę" która dzierży absolutny "monopol na wiedzę", zaś której błędy, wypaczenia, dwulicowość, brak odpowiedzialności, itp., są pierwotną przyczyną i źródłem praktycznie całego zła jakie obecnie widzimy wokoło, oraz początkiem każdego cierpienia jakie obecnie dotyka ludzi. Najwyższy więc czas aby każdy z nas zakasał teraz rękawy - kiedy ciągle jeszcze NIE jest za późno, oraz dołożył własny wkład w obalenie tego wyniszczającego ludzkość i Ziemię "monopolu na wiedzę" starej "ateistycznej nauki ortodoksyjnej", poprzez oficjalne stworzenie i odrębne finansowanie nowej (jeszcze jednej) nauki, "konkurencyjnej" wobec tej starej, jaka będzie bazowała na poprawnych moralnie filozoficznych fundamentach "totalizmu", oraz na poprawnych intelektualnie naukowych fundamentach "Konceptu Dipolarnej Grawitacji".
       W mojej opinii oficjalne ustanowienie "totaliztycznej nauki" jest na tyle istotne dla całej naszej cywilizacji, że zadecyduje czy cywilizacja ta zdoła się wspiąć na wyższy szczebel rozwoju, czy też najpierw zamrozi swój postęp na obecnym poziomie, a potem stopniowo albo upadnie, albo też będzie "rozdysponowana" przez Boga. Dlatego problem ustanowienia owej "nauki totaliztycznej" jest przypominany i omawiany z najróżniejszych punktów widzenia aż na całym szeregu totaliztycznych stron i monografii. Niezależnie od niniejszej strony oraz od wskazywanego powyżej punktu #A2.6 strony o nazwie totalizm_pl.htm, temat ten omawiany jest także np. w punktach #F1 do #F4 strony god_istnieje.htm, w punkcie #A4 strony o nazwie god_proof_pl.htm, w punkcie #C5 strony o nazwie biblia.htm, w punkcie #C1 strony o nazwie quake_pl.htm, w punkcie #B1 strony o nazwie tornado_pl.htm, w punkcie #J2 strony o nazwie pajak_jan.htm, w punkcie #A2 strony o nazwie healing_pl.htm, w podrozdziale H10 z tomu 4 monografii [1/5], oraz na kilku innych stronach i publikacjach totalizmu.


#C2. Powodem korupcji, nieudolności, błędów i wypaczeń dzisiejszej oficjalnej "nauki" jest celowo błędne zdefiniowanie pojęcia "nauka" jakie ta prastara ateistyczna instytucja upowszechnia wśród ludzi:

Motto: 'Powiedz mi jak definiujesz pojęcie "nauka", a ja ci wskaże skąd biorą się twoje przeoczenia korupcji, nieudolności, błędów, wypaczeń, monopolizmu, itp., jakimi już obrosła owa prastara instytucja i jakie z "wnosiciela postępu" zamieniają "naukę" w "hamulec postępu".'

       Najpoważniejsze problemy z dzisiejszą oficjalną "nauką" wynikają z faktu, że owa nauka definiuje sama siebie w celowo zwodzący ludzi sposób. Przykładowo, typowa definicja pojęcia "nauka", którą można znaleźć np. w podręcznikach, słownikach, a także w dzisiejszych wyszukiwarkach internetowych, stwierdza w przybliżeniu co następuje: nauka jest to gałąź wiedzy lub badań która zajmuje się zestawem faktów lub prawd zorganizowanych systematycznie i wskazujących działanie generalnych praw (w oryginale angielskojęzycznym: science is a branch of knowledge or study dealing with a body of facts or truths systematically arranged and showing the operation of general laws).
       Niestety, zarówno powyższa definicja, jak i wszystkie inne oficjalne definicje pojęcia "nauka" dotychczas upowszechniane przez samą "naukę", demonstrują wysoką prymitywność, przestarzałość i na dodatek błędność. Jako zaś takie, celowo wprowadzają one ludzi w bład - czyli okłamują. Dlatego pojęcie "nauka" wymaga dziś przedefiniowania (lub "zreformowania") w podobny sposób jak kiedyś Karol Marks przedefiniował ("zreformował") pojęcie "kapitał" - otwierając dzięki temu ludzkie oczy na niedoskonałości kapitalistycznego społeczeństwa i systemu. Podobnie też jak kiedyś przedefiniowanie ("zreformowanie") pojęcia "kapitał" spowodowało rewolucje i przyspieszenie procesu udoskonalania życia wielu ludzi, miejmy nadzieję że dzisiejsze przedefiniowanie pojęcia "nauka" też spowoduje udoskonalenie i uproszenie dostępu ludzi do tzw. "prawdy". Najważniejsze niedoskonałości powyższej przykładowej definicji, jak i wszystkich innych dotychczas upowszechnianych przez "naukę" oficjalnych definicji pojęcia "nauka", są jak następuje:
       1. Definicja ta NIE ujawnia, że dotychczasowa oficjalna "nauka" faktycznie jest "eksploatatorską instytucją żyjącą z podatków obywateli", która aby najłatwiej osiągać swoje egoistyczne cele zdołała wmusić ludziom i obecnie zazdrośnie strzeże swój absolutny "monopol na wiedzę i na kształtowanie ludzkich poglądów". Utajnienie zaś w owej definicji faktu, że nauka jest "monopolistyczną instytucją żyjącą z eksploatacji podatników", która dla zdobycia swego monopolu w sposób celowy i systematyczny zniszczyła już inną podobną do siebie instytucję zwaną "religia", zakrywa przed oczami ludzkich podatników aż cały szereg niekorzystnych zjawisk wynikających z tego faktu. Przykładowo, zakrywa to przed oczami podatników fakt, że nauka tylko pretenduje iż promuje ona postęp, jednak faktycznie to koncentruje się wyłącznie na mnożeniu własnych korzyści, na dbaniu o swoje własne egoistyczne interesy i na zaspokajaniu swoich własnych potrzeb (zamiast potrzeb ludzkości - z której podatków jest ona utrzymywana). Ponadto, jako monopolistyczna instytucja faktycznie wcale ona sama NIE jest zainteresowana w stwierdzaniu prawdy, w ponoszeniu odpowiedzialności za swe stwierdzenia, ani w korygowaniu swych wypaczeń. Stąd "prawdę" wypowiada ona tylko wtedy kiedy jakoś do tego zostaje zmuszona. To właśnie z tego powodu niemal wszystko co dzisiej stwierdza oficjalna nauka, za jakiś czas będzie ogłoszone nieprawdą i zastąpione jakimiś innymi jej kłamstwami.
       2. Definicja ta NIE podkreśla faktu, że cała "nauka" i wszyscy "naukowcy" NIE generują żadnego fizykalnego produktu, dlatego niezależnie od tego skąd wywodzi się i jak jest nazywane finansowanie dla ich istnienia, zawsze finansowanie to jest jakąś formą "podatku". Będąc zaś opłacana z "podatku" obywateli, instytucja ta faktycznie "eksploatuje ludzi" czyli reprezentuje sobą "eksploatatorską instytucję". Oczywiście, niektórzy czytelnicy, szczególnie jeśli wywodzą się oni z grona "ateistycznych naukowców ortodoksyjnych", będą usiłowali tutaj argumentować, że istnieją też naukowcy którzy finansowani są przez przemysł lub przez jakieś prywatne instytucje, np. przez prywatne uczelnie. Tym jednak osobom radziłbym rozważyć "skąd się biorą" i "jakie następstwa powodują" zasady finansowania takich jakoby "poza-podatkowych" źródeł utrzymania owych niektórych naukowców. Jak bowiem się okazuje, zawsze mają one charakter "podatku który tylko nazywany jest inaczej". Przykładowo, finansowanie niektórych naukowców przez przemysł powoduje, że produkty owego przemysłu muszą być sprzedawane na rynku po droższych niż to konieczne cenach. Stąd faktycznie kupujący te produkty płacą rodzaj ukrytego "podatku" który jest kierowany na utrzymanie owych naukowców. Podobnie jest z innymi "poza-podatkowymi" naukowcami, np. tymi zatrudnionymi na prywatnych uczelniach - oni także podnoszą koszta, tym razem edukacji, a stąd też nakładają na społeczeństwo dodatkowy rodzaj "podatku", tyle tylko że oficjalnie NIE jest on nazywany "podatkiem".
       3. Definicja ta NIE podkreśla faktu, że "nauka" jest zbudowana na takich filozoficznych fundamentach jakie zmuszają ją do istnienia wyłącznie jako "ateistyczna instytucja". Owe ateistyczne fundamenty naukowe dotychczasowej oficjalnej nauki opisane zostały relatywnie dokładnie m.in. w punktach #F1 do #F3 strony o nazwie god_istnieje.htm.
       4. Definicja ta NIE podkreśla też faktu, że "nauka" ma już wbudowane w siebie na stałe takie trwałe tradycje, kulturę i zasady postępowania, jakie gwarantują że z zupełnie fałszywych powodów nigdy NIE będzie ona w stanie zarzucić swojej "ateistyczności" - bez względu na to jakie fakty i prawdy wyjdą w międzyczasie na wierzch. Doskonałymi przykładami takich tradycji, kultury i zasad jest tradycja i zasada recenzowania artykułów naukowych przez innych naukowców, oraz tradycja i zasada przydzielania promotorów młodym naukowcom piszącym swoje rozprawy magisterskie i doktorskie, jakie to obie tradycje uniemożliwiają publikującym "wychylenie się" z generalnie zaakceptowanej linii, a stąd jakie uniemożliwiają też wszelkim nowym ideom wydostanie się spod opresji owej nauki. To zaś oznacza, że nauka ma trwale wbudowane w siebie mechanizmy jakie uniemożliwiają zmianę jej fundamentów filozoficznych. Czyli tylko sam sposób na jaki oficjalna nauka jest zorganizowana i tylko mechanizmy jakich używa (zamiast wyników jej badań i sytuacja jaką ona wykryła w świecie który nas otacza) zmuszają tą naukę aby na zawsze pozostawała ona już wyłącznie "ateistyczną nauką".
       5. Definicja ta NIE ujawnia faktu, że istnieje aż cały szereg odmiennych podejść do badań, z grupy których dotychczasowa oficjalna nauka stosuje tylko jedno jakie przez filozofów jest nazywane "a posteriori" - czyli "od skutków do przyczyny". To zaś podejście pozwala na wprowadzanie najróżniejszych błędów, wypaczeń, niewłaściwych interpretacji, itp., na owej "długiej drodze badawczej" która wiedzie od poznania skutku do ustalenia faktycznej przyczyny tego skutku. Dlatego w tej nauce ustalanie prawdy na temat "faktycznych przyczyn" staje się wręcz niemozliwe. Bez zaś poznania faktycznych przyczyn NIE jest możliwe podejmowanie obrony. To właśnie z tego powodu, na przekór tysiącletniego już istnienia, stara "ateistyczna nauka ortodoksyjna" NIE zdołała jeszcze wypracować i wskazać do stosowania nawet jednego efektywnego sposobu zapobiegania nieszczęściom czy kataklizmom, w rodzaju sposobów które przez nową "totaliztyczną naukę" dokumentowane są np. w punkcie #I3 strony o nazwie petone_pl.htm, w punkcie #J1 strony o nazwie quake_pl.htm, czy w punkcie #G1 strony o nazwie will_pl.htm.
       6. Definicja ta NIE ujawnia, że przy innych podejściach do badań, np. przy podejściu "a priori" czyli "od przyczyny do skutków" albo "od Boga rozumianego jako nadrzędna przyczyna, do otaczającej nas rzeczywistości jaka reprezentuje skutek działań tegoż Boga", niemal wszystkie zjawiska wyjaśniane przez oficjalną naukę w dzisiaj znany nam sposób otrzymałyby zupełnie odmienne wyjaśnienia - których poprawność także jest już potwierdzana istniejącym materialem dowodowym. To zaś powoduje, że ludzkości ujawniane jest przez dotychczasową oficjalną naukę jedynie znacznie mniej niż tylko połowa "prawdy" o otaczającym nas wszechświecie - co dokładniej wyjaśnia np. punkt #C2 na stronie o nazwie tornado_pl.htm. Tymczasem odwrotne do stosowanego przez dotychczasową naukę filozoficzne podejście do badań zwane "a priori" - czyli "od przyczyny do skutku" albo "od Boga rozumianego jako nadrzędna przyczyna wszystkiego, do otaczającej nas rzeczywistości rozumianej jako skutek działalności tegoż Boga", tj. podejście stosowane w praktyce przez nową "naukę totaliztyczną", wyjaśnia każde zjawisko i każdy obiekt w całkowicie odmienny sposób niż czyni to oficjalna nauka. Aby poznać co bardziej drastyczne przykłady odmienności owych wyjaśnień, wystarczy poznać wyjaśnienie nowej "totaliztycznej nauki" dla procesu powstania świata fizycznego - opisane w podrozdziałach A1 do A9 z tomu 1 mojej najnowszej monografii [1/5], czy wyjaśnienie dla mechanizmu powstawania tornad opisane na totaliztycznej stronie o nazwie tornado_pl.htm. Co najciekawsze, owe prześladowane wyjaśnienia nowej "totaliztycznej nauki" są równie dobrze potwierdzane istniejącym materiałem dowodowym jak oficjalne wyjaśnienie upowszechniane przez starą oficjalną naukę. Jak bowiem odkryła to dopiero nowa "totaliztyczna nauka", w świecie stworzonym i inteligentnie rządzonym przez wszechmogącego Boga (tj. w takim świecie jaki opisują punkty #B1 do #B3 strony changelings_pl.htm) powstanie każdego zdarzenia i każdego obiektu potwierdzają co najmniej trzy (3) wzajemnie różniące się (i pozornie wzajemnie sprzeczne) grupy materiału dowodowego - co wyjaśnia dokładniej w/w punkt #C2 na stronie o nazwie tornado_pl.htm.
       7. Definicja ta NIE ujawnia, że w celu utrzymanie swojej ateistyczności i osiągania swoich egoistycznych celów, "nauka" w zamierzony sposób eliminuje ze swych badań poznawanie wpływu jaki na wszelkie wydarzenia na Ziemi posiada poziom tzw. "grupowej moralności" ludzi dotykanych przez owe wydarzenia. Tymczasem w "świecie stworzonym i inteligentnie rządzonym przez wszechmogącego Boga" (tj. w świecie zdefiniowanym punktami #B1 do #B3 strony changelings_pl.htm) "moralność" okazuje się być najpierwotniejszym powodem wszelkich nieszcześć jakie dotykają zarówno indywidualnych ludzi, jak i całe społeczności. Jednocześnie "moralność" jest też jedynym znanym ludziom czynnikiem, który może być poddawany przez ludzi zmianom i dowolnie kształtowany, a tym samym który pozwala określonym społecznościom i indywidualnym osobom efektywnie bronić się przed dotykającymi ich nieszczęściami - w rodzaju "kataklizmów" opisywanych np. w punktach #I3 i #I5 totaliztycznej strony o nazwie petone_pl.htm czy "przedwczesnych zgonów" opisywanych np. w punktach #G1 do #G8 totaliztycznej strony o nazwie will_pl.htm. (Po totaliztyczną definicję "moralności" patrz punkt #B5 strony morals_pl.htm.)
       8. Niektóre definicje pojęcia "nauka" (w tym definicja przytoczona jako przykład na początku tego punktu) wmawiają nam, że "nauka" jakoby może też być rodzajem "abstraktu" którego istnienie w naszym świecie fizycznym wcale NIE jest uzależnione od istnienia fizykalnej instytucji jaka generuje produkty danej "nauki". To ich twierdzenie jest podobne do twierdzeń, że jakoby "religie" mogą istnieć bez istnienia "instytucji religijnych" które wdrożyły i realizują dany rodzaj wiary i towarzyszących mu rytuałów. Każdy jednak racjonalnie myślący człowiek, który wie ilu drastycznie różniących się nawzajem religii i kultów, ludzkie niedoskonałości zdołały już namnożyć jedynie w wąskiej grupie religii chrześcijańskich, po zastanowieniu się zrozumie, że ani "nauka", ani "religia", ani też żaden inny "abstrakt" NIE jest w stanie konsystentnie istnieć jeśli jego istnienia NIE podtrzymuje i NIE wdraża jakaś fizykalna instytucja.
       Oczywiście, niezależnie od powyższych, istnieją także dalsze problemy i niedoskonałości wbudowane w dotychczasową oficjalną definicję pojęcia "nauka". Jednak tamte NIE są już aż tak istotne jak te wskazywane powyżej. Ich przykładem może być fakt, że praktycznie wszystkie oficjalne definicje pojęcia "nauka" upowszechniane po świecie przez starą "ateistyczną naukę ortodoksyjną" faktycznie wcale "NIE zgadzają się" z tym co zwykli ludzie rozumieją pod nazwą "nauka".
       Mając wszystko powyższe na uwadze, nowa "totaliztyczna nauka" postuluje, że pojęcie "nauka" powinno być przedefiniowane ("zreformowane") w trybie pilnym. Oczywiście, jak to zawsze bywa z definicjami, taka nowa "totaliztyczna" definicja pojęcia "nauka" może zostać wyrażona aż na cały szereg odmiennych sposobów, wszystkie z których ciągle mogą zwracać naszą uwagę na konieczność pilnego eliminowania niedoskonałości "nauki" wskazywanych powyżej. Jedna z wielu takich możliwych "zreformowanych" totaliztycznie definicji pojęcia "nauka", mogłaby zostać wyrażona np. następującym sformułowaniem.
       Zreformowana przez totalizm definicja nr #1 pojęcia "nauka", wypracowana na bazie dotychczasowych doświadczeń ludzkości nad drogą na którą owa "nauka" kieruje siebie i całą ludzkość:
"Nauka" jest to exploatatorska instytucja żyjąca z podatków obywateli, której faktycznym celem jest zaspokajanie własnych potrzeb poprzez wymuszanie na ludziach i późniejsze zazdrosne strzeżenie swego absolutnego "monopolu" na wiedzę i na kształtowanie ludzkich poglądów, a która jako narzędzi dla osiągnięcia tego swego egoistycznego celu używa m.in.: (1) swoje własne (niepoddawane niezależnemu i zewnętrznemu zweryfikowaniu, a stąd z natury kłamliwe) twierdzenie iż jakoby poznała i upowszechnia "prawdę" o otaczającym nas wszechświecie; (2) wyłącznie zaakceptowane przez siebie fundamenty filozoficzne i doktryny co do których już się przekonała że najlepiej służą one jej egoistycznym celom (zamiast służenia całej ludzkości) - w rodzaju "ateizm", "brzytwa Occama", eliminowanie z badań wpływu "moralności" na przebieg zdarzeń naszego świata, itp.; (3) wybrane przez siebie podejście do badań które najłatwiej potwierdza rzekomą poprawność jej stwierdzeń - np. podejście "a posteriori" (zamiast dowolnego odmiennego podejścia, np "a priori"); (4) wypracowane przez siebie tradycje, kulturę, metody działania, itp., które okazują się najkorzystniejsze dla jej własnych interesów - w rodzaju "recenzjowania przez swoich reprezentantów wszelkich opracowań akademickich", wmuszania promotorów młodym akademikom, eliminowania z badań tematów które prowadziłyby do odkrycia prawd jakie okazują się być niebezpieczne dla jej interesów (np. prawdy o istnieniu Boga, prawdy o symulowaniu UFO przez Boga, prawdy o możliwości "sfabrykowania" przez Boga warstw geologicznych i np. "kości dinozaurów" aby przyspieszyć w ten sposób aktywność ludzkości w "przysparzaniu wiedzy" - tak jak opisuje to np. punkt #H2 strony o nazwie god_istnieje.htm, itp.), ujawniania ludziom tylko tego fragmentu otaczającej nas rzeczywistości który zdaje się potwierdzać jej twierdzenia, ignorowania i zwalczania faktów i tych już opracowanych teorii (np. tzw. "Konceptu Dipolarnej Grawitacji") które okazują się być przeciwstawne do jej stwierdzeń; itd., itp.
       W powyższej definicji albo bezpośrednio zostały już nazwane (a stąd i wskazane do wyeliminowania) te niedoskonałości "oficjalnej definicji" nauki które wylistowane były poprzednio, albo też niedoskonałości te są ujawniane pośrednio - jako następstwa stwierdzeń tej definicji.
       Prymitywność i nieadekwatność dotychczasowych "oficjalnych" definicji pojęcia "nauka" jest bezpośrednią przyczyną i powodem dla całego oceanu nieszczęść jakie ostatnio dotykają ludzkość. Wszakże okłamując ludzkość nauka faktycznie kieruje ją na manowce i w przepaść. Aby wskazać tu mechanizm za pomocą którego błędna definicja nauki powoduje obserwowany obecnie upadek ludzkości, wystarczy wyjaśnić że owa oficjalna i monopolistyczna "nauka" upowszechnia wśród ludzi kompletnie błędną tzw. "naukową moralność" opisywaną m.in. w punktach #B2 i #B6 strony o nazwie morals_pl.htm. Z kolei za praktykowanie owej błędnej "naukowej moralności" Bóg surowo karze kataklizmami dzisiejsze społeczeństwa - tak jak wyjaśnia to np. punkt #I5 czy punkt #I3 strony o nazwie petone_pl.htm.


#C3. Jak nowa "totaliztyczna nauka" definiuje oficjalną starą "ateistyczną naukę ortodoksyjną" (tj. tą starą instytucję naukową która ciągle dyktuje czego uczymy się w szkołach i na uczelniach oraz która nadal ma monopol na kształtowanie naszych poglądów):

Motto: "Niedoskonałości ludzkie są aż tak znaczące, że jeśli spuści się je spod kontroli i nadzoru wówczas z upływem czasu skorumpują one kompletnie nawet najszlachetniejszą instytucję."

       Wypracowanie zreformowanej definicji (nr #1) pojęcia "nauka", przytoczonej w punkcie #C2 niniejszej strony, otwiera obecnie możliwość sformułowania całego szeregu szczegółowych definicji dla najróżniejszych odmiennych "nauk". Pierwszą z tych definicji, której zreformowana wersja najpilniej domaga się zaprezentowania, jest definicja dotychczasowej oficjalnej nauki ziemskiej, którą dla istotnych powodów sporo już ludzi nazywa "starą ateistyczną nauką ortodoksyjną" (wszakże faktycznie nauka ta jest "stara" - bo liczy już tysiące lat, faktycznie też jest "ateistyczna" i "ortodoksyjna"). Oto więc zreformowana przez nową "naukę totaliztyczną" definicja tamtej starej nauki:
       Totaliztyczna definicja nr #2 starej oficjalnej "ateistycznej nauki ortodoksyjnej" (czyli tej starej instytucji naukowej, która ciągle dyktuje nam czego uczymy się w szkołach i na uczelniach oraz która nadal utrzymuje absolutny "monopol" na kształtowanie naszych poglądów):
Stara "ateistyczna nauka ortodoksyjna" jest to exploatatorska instytucja żyjąca z podatków obywateli, której faktycznym celem jest zaspokajanie własnych potrzeb dzięki sukcesowi jaki odniosła ona w wymuszeniu na ludziach i obecnemu zazdrosnemu strzeżeniu swojego absolutnego "monopolu" na wiedzę i na kształtowanie ludzkich poglądów, a która jako narzędzi dla osiągnięcia tego swego egoistycznego celu używa m.in.: (1) swoje własne (niepoddawane niezależnemu i zewnętrznemu zweryfikowaniu) twierdzenie iż jakoby poznała i upowszechnia "prawdę" o otaczającym nas wszechświecie; (2) wyłącznie zaakceptowane przez siebie fundamenty filozoficzne i doktryny co do których już się przekonała, że najlepiej służą one jej egoistycznym celom (zamiast służenia całej ludzkości) - w rodzaju "ateizm", "brzytwa Occama", eliminowanie z badań wpływu moralności na przebieg zdarzeń naszego świata, itp.; (3) wybrane przez siebie podejście do badań, które najłatwiej potwierdza rzekomą poprawność jej stwierdzeń - tj. podejście "a posteriori" (zamiast dowolnego odmiennego podejścia, np "a priori"); (4) wypracowane przez siebie tradycje, kultury, metody działania, itp., które okazują się najkorzystniejsze dla jej własnych interesów - w rodzaju "recenzjowania przez swoich reprezentantów wszelkich opracowań akademickich", wmuszania promotorów młodym akademikom, eliminowania z badań tematów które prowadziłyby do odkrycia prawd jakie okazują się być niebezpieczne dla jej interesów (np. prawdy o istnieniu Boga, prawdy o symulowaniu UFO przez Boga, prawdy o możliwości "sfabrykowania" przez Boga warstw geologicznych i np. "kości dinozaurów" aby przyspieszyć w ten sposób aktywność ludzkości w "przysparzaniu wiedzy" - tak jak opisuje to np. punkt #H2 strony o nazwie god_istnieje.htm, itp.), ujawniania ludziom tylko tego fragmentu otaczającej nas rzeczywistości który zdaje się potwierdzać jej twierdzenia, ignorowania faktów i tych już opracowanych teorii (np. tzw. "Konceptu Dipolarnej Grawitacji") które okazują się być przeciwstawne do jej stwierdzeń; itd., itp.
       Absolutny "monopol na wiedzę i na kształtowanie ludzkich poglądów" jaki dzierży i zazdrośnie strzeże owa stara "ateistyczna nauka ortodoksyjna" jest pierwotnym źródłem praktycznie wszelkiego zła i cierpienia jakie obecnie widzimy na Ziemi. Dlatego obalenie owego monopolu staje się w dzisiejszych czasach jednym z najpilniejszych zadań całej ludzkości. Aby jednak monopol ów mógł zostać obalony, najpierw powinniśmy dokładnie sobie zdefiniować nową "totaliztyczną naukę" która ma wszystkie cechy konieczne aby ów monopol starej nauki z sukcesem obalić.


#C4. Jak nowa "totaliztyczna nauka" definiuje siebie samą, czyli definiuje tą nową "naukę" która podjęła już zmagania o obalenie "monopolu na wiedzę" tamtej starej "ateistycznej nauki ortodoksyjnej":

Motto: "Jedyna znana ludzkości metoda zapobiegania korupcji to zastępowanie statycznych monopoli przez dynamiczną konkurencję."

       Obie zreformowane definicje "nauki", tj. definicja nr #1 pojęcia "nauka" (przytoczona w punkcie #C2 powyżej), jak i definicja nr #2 starej "ateistycznej nauki ortodoksyjnej" (przytoczona w punkcie #C3 powyżej), umożliwiają nam teraz precyzyjne zdefiniowanie co należy rozumieć pod pojęciem nowa "totaliztyczczna nauka". Oto więc definicja nowej "totaliztytcznej nauki" wypracowana przez nią samą. (Odnotuj jednak, że definicja ta opisuje nową "totaliztyczną naukę" w jej dzisiejszym stanie i sytuacji. Jeśli więc z upływem czasu faktycznie nowa "totaliztyczna nauka" zostanie oficjalnie przetransformowana w instytucję również żyjącą z podatków obywateli, wówczas definicja ta będzie wymagała uaktualizowania.)
       Totaliztyczna definicja nr #3 nowej i dopiero rodzącej się "totaliztycznej nauki", samo-wypracowana przez ową nową naukę:
Nazwa nowa "totaliztyczna nauka" została przyporządkowana do zestawu narzędzi nauko-twórczych, czyli do zestawu idei, fundamentów naukowych i filozoficznych, celów, zasad, metod postępowania, itp. (w rodzaju "teorii wszystkiego" zwanej "Konceptem Dipolarnej Grawitacji", filozofii zwanej "totalizmem", filozoficznego podejścia do badań zwanego "a priori" - czyli "od przyczyny do skutków" albo "od Boga rozumianego jako nadrzędna przyczyna do otaczającej nas rzeczywistości jaka reprezentuje skutki działań tegoż Boga", formalnego dowodu na istnienie Boga, zasady postępowania która nakazuje aby do opisu każdego faktu i obiektu dołączać odpowiedzi na pytania "jak", "dlaczego", "jaki materiał dowodowy to potwierdza", oraz kilku jeszcze innych) które to narzędzia nauko-twórcze są niemal dokładnie przeciwstawne do tych praktykowanych przez starą "ateistyczną naukę ortodoksyjną", a stąd które jeśli zostaną wdrożone w oficjalnie ustanowionej instytucji naukowej wówczas będą miały siłę moralną, fundamenty filozoficzne, podstawy naukowe i teoretyczne, oraz motywacje, aby obalić dotychczasowy "monopol na wiedzę i na kształtowanie ludzkich poglądów" utrzymywany przez ową starą "ateistyczną naukę ortodoksyjną".
       W tym miejscu należy też z naciskiem podkreślić, że powodem i celem dla którego ludzkość powinna w trybie pilnym oficjalnie ustanowić i finansować nową "totaliztyczną naukę", jest obalenie monopolu starej nauki i zastąpienie tego monopolu dynamicznym stanem równowagi i wzajemnego oddziaływania pomiędzy oboma tymi naukami (a ściślej wzajemnego "patrzenia konkurencji na ręce" i sprawdzania poprawności tego czym owa konkurencja stara się "karmić" ludzkość). Z kolei dopiero istnienie tego dynamicznego stanu równowagi i wzajemnej konkurencji wyeliminuje korupcje, błędy, wypaczenia, kłamstwa, itp., jakimi obrastać będzie każda nauka która działa na zasadach "monopolu". Dlatego w witalnym interesie prawdy (a stąd i całej ludzkości) leży aby nowa "nauka totaliztyczna" była ustanowiona "na dodatek" do starej nauki, a także aby poprzez ustanowienie nowej "nauki totaliztycznej", albo w następstwie obecnych zmagań o jej ustanowienie, owa stara "ateistyczna nauka ortodoksyjna" NIE została przypadkiem zniszczona (tak jak owa stara nauka zniszczyła uprzednio instytucje "religii"). Po takim bowiem jej zniszczeniu, nowa nauka szybko też stałaby się "monopolistyczną instytucją" i zaczęłaby ponownie obrastać najróżniejszymi niszczycielskimi wadami jakimi charakteryzują się wszelkie "monopole".
       Oczywiście, niezależnie od wypełniania tak ogromnie potrzebnej ludzkości funkcji "konkurencji" dla starej "ateistycznej nauki ortodoksyjnej", taka oficjalnie ustanowiona nowa "nauka totaliztyczna" wypełniałaby aż cały szereg dodatkowych funkcji, jakich potencjału i możliwości w chwili obecnej czasami nie jesteśmy nawet w stanie sobie wyobrazić. Przykładowo, uzupełniłaby ona wiedzę naszej cywilizacji o ową obecnie brakującą nam "drugą połowę" wiedzy jakiej istnienia dotychczasowe badania naszej rzeczywistości z podejścia "a posteriori" po prostu NIE są w stanie odnotować. U tych ludzi gotowych na zaakceptowanie Boga, nauka ta pozwoliłaby aby "wierzenie w Boga" mogło zostać zastąpione "wiedzą o Bogu". Wszakże wiadomo, że religie co najwyżej są ludziom w stanie zaoferować "wierzenie w Boga". Za to nowa "nauka" jest w stanie zaoferować rzetelną wiedzę, pewność, sprawdzalne dowody, wyjaśnienia typu "dlaczego", "w jaki sposób", "od kiedy", itp. Ponadto jest też wiadomo, że zawsze można przestać "wierzyć" jednak nigdy NIE przestaje się "wiedzieć". Warto też odnotować, że sukces sytuacji "konkurencji" w poskromieniu błędów, wypaczeń, korupcji, itp., w instytucji nauki, zainspirowałby także ludzkość do szukania podobnych rozwiązań opartych na "konkurencji" w całym szeregu innych obszarów podanych na korupcje, wypaczenia, błędy, itp. - przykładowo w obszarze rządzenia krajem, lokalnej administracji państwowej, administrowania przedsiębiorstwami, instytucji małżeństwa, itp. (po szczegóły patrz cała strona o nazwie humanity_pl.htm oraz punkt #J2.2.2 na stronie o nazwie morals_pl.htm). Ponadto, kiedy już nowa "nauka totaliztyczna" zostanie oficjalnie ustanowiona, wówczas uczyni ona pewnym, że NIE tylko mój magnokraft i moja komora oscylacyjna, ale także i mój wehikuł czasu - zostaną zbudowane i oddane w służbę ludzkości, otwierając w ten sposób do ludzi wprost nieograniczone możliwości. (Wszakże, jak wyraźnie widać to już z dotychczasowego rozwoju wypadków, korupcja i wady starej "ateistycznej nauki ortodoksyjnej" powodują, że nauka ta nigdy NIE podejmie się zrealizowania owych urządzeń.)
       Warto tutaj także dodać, że na przekór swego istnienia już przez ponad 37 lat, tj. od 1985 roku kiedy stworzona została owa przełomowa dla powstania "totaliztycznej nauki" teoria wszystkiego zwana "Konceptem Dipolarnej Grawitacji", aż do sierpnia 2012 rou - kiedy to autor niniejszej strony formułował i publikował ten punkt (a być może nawet i do dzisiaj), na całą nową "totaliztyczną naukę" ciągle składał się tylko jeden naukowiec który prywatnie i na własny koszt prowadził wszystkie realizowane przez tą naukę badania, tj. składał się (a być może składa się aż do dzisiaj) tylko autor niniejszej strony - linki do którego autobiografi czytelnik ma udostępnione w punkcie #N4 poniżej. Konieczność aż tak długiego podtrzymywania istnienia i działania całej "totaliztycznej nauki" wysiłkiem i umiejętnościami tylko jednego naukowca, ujawnia więc nam jak powszechny i głęboki jest terror zasiewany w społeczeństwie przez mściwą instytucję starej "ateistycznej nauki ortodoksyjnej" oraz jak bardzo inni naukowcy boją się zabrać głos po stronie prawdy i moralności z obawy przed nawałnicą szykan, wyszydzania, usuwania z pracy, oskarżania o chorobę umysłową, itp., jakie czekają każdego kto dla dobra wszystkich ludzi ośmieli się w dzisiejszych czasach uczynić to co faktycznie nakazuje mu sumienie, wiedza i poczucie odpowiedzialności.


#C5. Dlaczego mit, że to nauka i naukowcy generują postęp ludzkości, na zawsze pozostanie tylko fałszywym "mitem":

       W sierpniu 2012 roku wziąłem udział w angielskojęzycznej dyskusji internetowej (czytelnik znajdzie ową dyskusję pod adresami frihost.com/users/Totalizm/blog/vp-140877.html i frihost.com/users/Totalizm/blog/vp-141547.html), w której jakiś "ateistyczny naukowiec ortodoksyjny" insynuował, że to naukowcy budują postęp na Ziemi. Jednak ja mu zdołałem udowodnić na sprawdzalnym przez każdego materiale dowodowym, że to wcale NIE opłacani z podatków zawodowi naukowcy, a wydający własne oszczędności hobbyści wynalazcy, są faktycznie tymi co dźwigają na swoich barkach cały postęp techniczny ludzkości. Zawodowi naukowcy wkraczają tylko do akcji, kiedy wszystko jest już gotowe i kiedy daje się na tym dobrze zarobić. Jeśli zaś już zawodowi naukowcy dobrowolnie zabierają publicznie głos w jakiejś sprawie, zawsze czynią to w taki sposób lub w takiej sprawie, aby nikt NIE był w stanie sprawdzić na ile mają rację.


#C6. Jedynym sposobem na naprawienie sytuacji z "nauką" jest oficjalne ustanowienie co najmnniej jeszcze jednej, "konkurencyjnej" wobec starej, oraz opartej na drastycznie odmiennych fundamentach filozoficznych, nowej "nauki totaliztycznej":

Motto: "Tylko tam gdzie istnieje 'konkurencja' dana absolutna władza pozbawiona zostaje zdolności do absolutnego 'skorumpowania' się."

       Ową palącą już niezbędność ustanowienia na Ziemi jeszcze jednej, "konkurencyjnej" wobec starej, oraz opartej na drastycznie odmiennych fundamentach filozoficznych, nowej "nauki totaliztycznej" opisałem już na całym szeregu totaliztycznych stron. Przykładowo, na niniejszej stronie opisałem ją w punkcie #C1. Z innych zaś totaliztycznych stron temat ten omawia np. punkt #A2.6 strony o nazwie totalizm_pl.htm, punkty #F1 do #F4 strony god_istnieje.htm, oraz jescze kilka innych stron wskazywanych powyżej na końcu owego punktu #C1. Warto przy tym zwrócić też uwagę, że taką "konkurencję" koniecznie musi stwarzać jeszcze jedna "nauka", czyli jeszcze jedna "instytucja żyjąca z podatków obywateli" - jako że tylko jeszcze jedna nauka stałaby na tym samym poziomie intelektualnym, poznawczym, metodologicznym, itp., na jakim stoi owa stara "ateistyczna nauka ortodoksyjna" dla której konieczne jest stworzenie konkurencji. Tylko też jeszcze jedna "nauka" używałaby tych samych narzędzi i metod naukowych oraz cieszyłaby się takim samym uznaniem, respektem społecznym, posłuchem, itp., jakim cieszy się stara nauka. Wszalkie zaś inne instytucje obarczone zadniem stworzenia konkurencji dla "nauki", nawet gdyby była ta armia czy policja, NIE wypełnią warunku równorzędnego konkurenta i dlatego z upływem czasu też zostaną przez starą naukę "zniszczone" - podobnie jak nauka ta już zdołała zniszczyć tak potężną i wszechwładną kiedyś "religię".


Część #D: Budowa i zasadnicze podzespoły urządzeń telekinetyki wyjaśnione na przykładzie tzw. "telekinetycznych influenzmaschines":

      

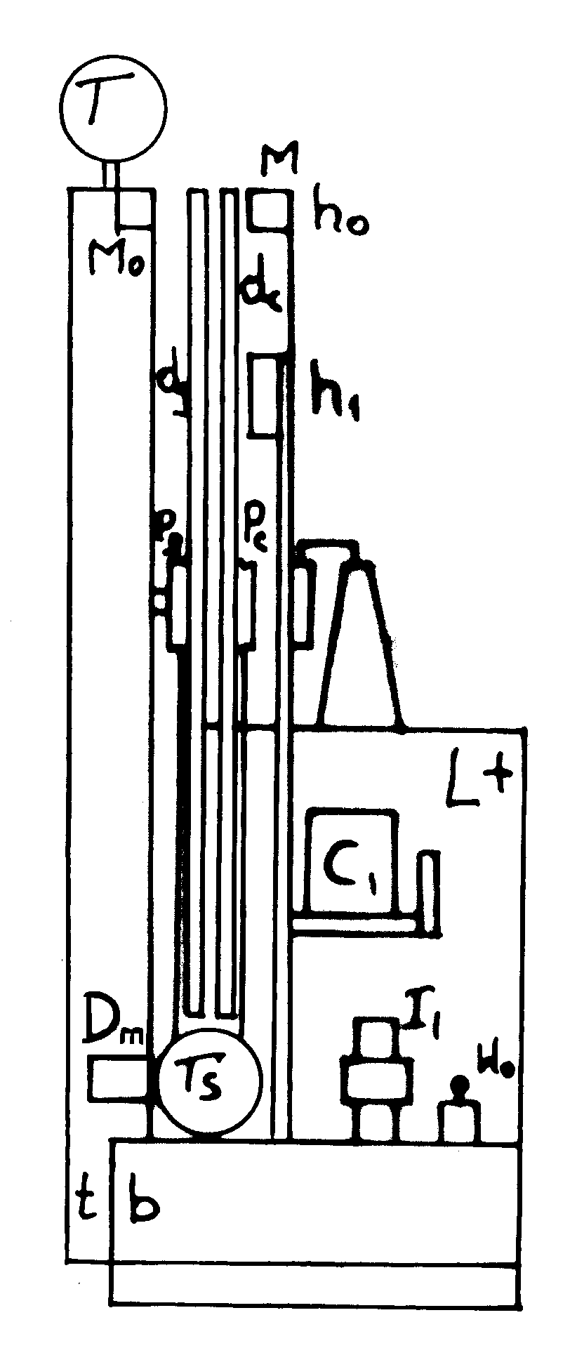
#D1. Główne podzespoły telekinetycznych influenzmaschines:

       W sensie zasady stosowanej w ich działaniu, telekinetyczne influenzmaschine są faktycznie urządzeniami złożonymi z trzech wzajemnie ze sobą współpacujących podzespołów. Omówmy teraz każdy z owych głównych podzespołów oddzielnie.
       1. Silnik elektrostatyczny. Jest to pierwszy z głównych podzespołów telekinetycznych influenzmaschiones. Silnik ten działa on na zasadzie indukcji elektrostatycznej. Znaczy, ów silnik stosuje w działaniu zasady jakie stanowią odwrócenie zasad używanych albo przez maszynę elektrostatyczną Töpler'a albo też przez maszynę elektrostatyczną Wimshurst'a. Jak czytelnik zapewne wie, w elektryczności zasady dzialania silników i generatorów są nawzajem odwracalne. To oznacza, że zasady używane w każdym silniku elektrycznym mogą być tak odwrócone, że uformują one generator elektryczności. Także zasady każdego generatora elektryczności mogą być tak odwrócone, że stworzą one silnik elektryczny. Owa odwracalność stosuje się również do zasad działania stosowanych w maszynach elektrostatycznych Töpler'a i Wimshurst'a.
       2. Ogniwo telekinetyczne. Jest ono drugim istotnym podzespołem telekinetycznych influenzmaschine. Ogniwo to opisana zostało relatywnie dobrze w punkcie #L1 strony internetowej free_energy_pl.htm - o telekinetycznych generatorach darmowej energii, a także na całej odrębnej stronie fe_cell_pl.htm - o podejściu do budowy ogniwa telekinetycznego. Ogniwo telekinetyczne generuje darmową elektryczność jaka jest następnie używana do podtrzymywania ruchu silnika elektrostatycznego.
       3. Analogowy sterownik prędkości obrotowej tarcz (dynamo-motor). Jednym z istotnych problemów generowania elektryczności i poprawnego działania urzadzeń telekinetyki jest problem utrzymywanie stałej szybkości obrotowej wirowania dysków (w Thesta-distatica owa prędność jest utrzymywana przez cały czas na wartości około 60 obrotów na minutę). Wszakże od precyzji tej stałej prędkości zależy częstotliwość prądu jaki jest generowany. Aby rozwiązać ten problem specjalny analogowy "sterownik prędkości obrotowej dysków" musi zostać dobudowany do naszego silnika elektrostatycznego. Sterownik ten powstaje poprzez mechaniczne połączenie silnika elektrostatycznego używanego jako główny podzespół telekinetycznej influenzmaschine, z małym wirującym wrzecionkiem jakie napędza niewielki sterujący "dynamo-motor". Ów "dynamo-motor" posiada "przeciwstawne" połączenie elektryczne z silnikiem influenzmaschine. Znaczy jest on podłączony do silnika elektrostatycznego z tzw. "dodatnim sprzężeniem zwrotnym".
       Wszystkie trzy powyższe podzespoły wzięte razem, znaczy (1) silnik elektrostatyczny, (2) ogniwo telekinetyczne, oraz (3) sterownik porędnikości obrotowej tarcz, formują telekinetyczną influenzmaschinę która nie tylko wytwarza doskonale widoczny ruch mechaniczny bez konieczności zasilania ją w jakąkolwiek energię, ale także generuje znaczny nadmiar darmowej elektryczności jaka może z niej być odprowadzana do innych urządzeń w celu ich zasilania w energię elektryczną.
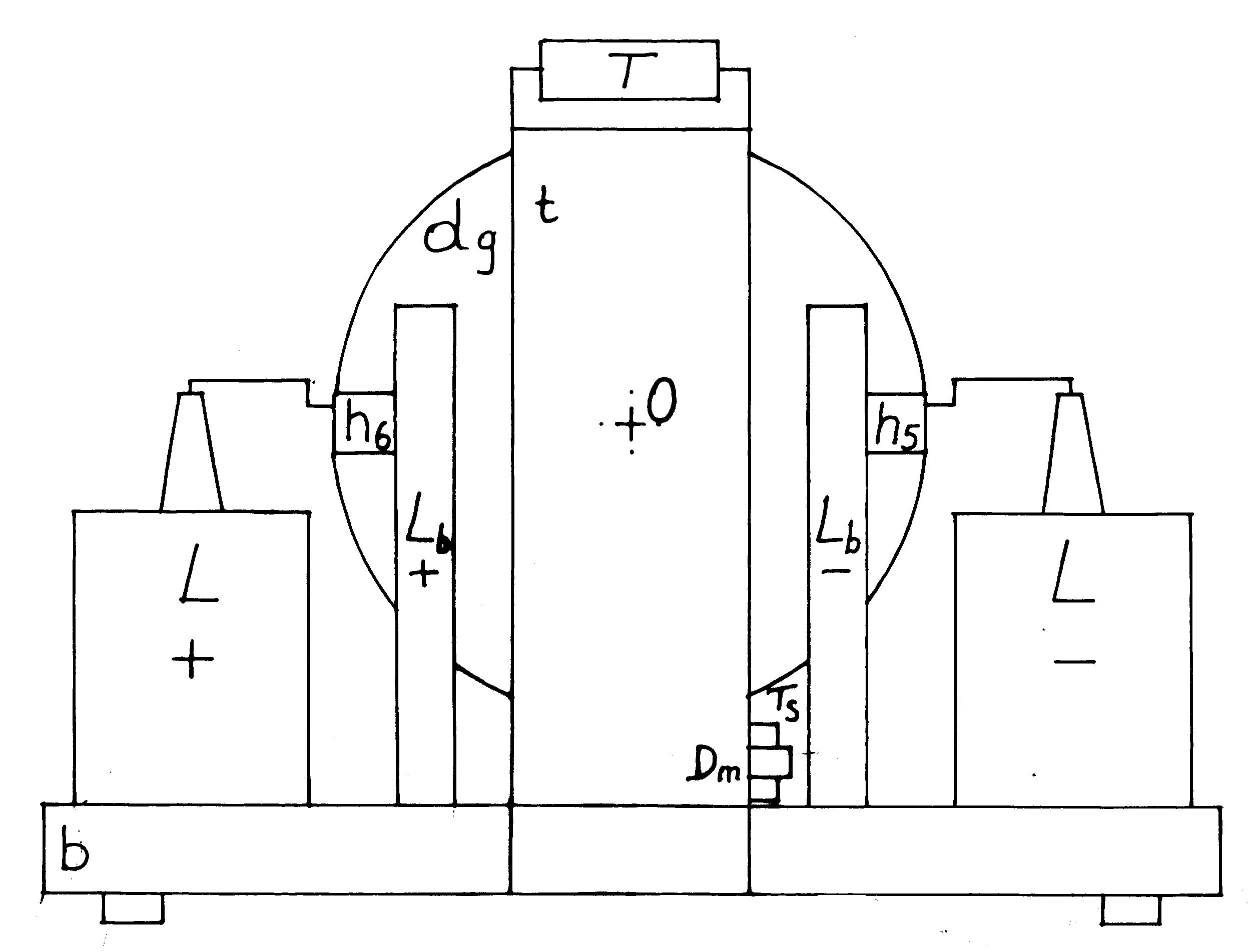
       W tym miejscu należy też zwrócić uwagę na nazwy przyporządkowane opisywanym tutaj maszynom telekinetyki. Wszakże zarówno w literaturze, jak i w internecie, te same maszyny nazywane są z użyciem aż kilku odmiennych nazw. Przykładowo Methernitha przyporządkowała każdej z tych maszyn odrębną nazwę. Stąd nazwy Thesta-Distatica oraz Testatica to nazwy owych maszyn używane przez Methernitha. Z kolei Bela Brosan (a za nim zapewne także Vene) używał odmiennej nazwy influenz-machines dla swoich maszyn. Ja powtarzam za nim ową nazwę dla uhonorowania jego wkładu i osiągnięć. Stąd tej nazwy ja używam w swoich publikacjach dodając jedynie słowo "telekinetyczna" (stąd się bierze nazwa którą ja używam często na tej stronie, mianowicie telekinetyczna influenzmaschines). Jeszcze inna grupa badaczy owych maszyn nazywa je M-L converter. Wielu badaczy nazywa je po prostu generatorami darmowej energii. Ja zaś wierzę że naukowo należałoby je nazywać generalnym terminem "maszyny telekinetyki". Wszystkie więc powyższe nazwy faktycznie referują do jednego i tego samego rodzaju maszyn - opisywanych na niniejszej stronie.

Fot. #D1: Thesta-Distatica (tj. rys. LA4 z [1/5]). Odnotuj ze z powodu nachalnych sabotazy wyjasnionych na stronach evil_pl.htm i fe_cell_pl.htm, co wazniejsze ilustracje moga tu byc wymazane. Szukaj wowczas tych ilustracji na innych stronach z Menu (np. o darmowej energii lub z [1/5]).

Fot. #D1 (LA4 z [1/5]): "Thesta-Distatica" ze szwajcarskiej komuny religijnej Methernitha, czyli dwutarczowa "telekinetyczna influenzmaschine". Jest ona najbardziej zaawansowanym urządzeniem darmowej energii zbudowanym dotychczas na Ziemi, jakie faktycznie działa i jakie faktycznie generuje całe zatrzęsienie darmowej energii. Relatywnie pełny opis tego urządzenia zaprezentowany został w punkcie #D1 strony internetowej. free_energy_pl.htm - o telekinetycznych generatorach darmowej energii. Proszę odnotować, że Methernitha posiada także dwa mniejsze jednotarczowe urządzenia działające na podobnej zasadzie, które nazywane są "Testatica". (Powyższe zdjęcie pochodzi z monografii [1/5] gdzie jest ono pokazane na rysunku LA4.)
* * *
       Urządzenie darmowej energii z powyższego rysunku "Fot. #D1" (albo z rysunku LA4 w monografii [1/5]), nazywane jest Thesta-Distatica. Należy ono do ogólnej kategorii tzw. "telekinetycznych influenzmaschine". (Słowo "influenzmaschine" pochodzi z języka niemieckiego. Oznacza ono całą klasę maszyn, które w swoim działaniu wykorzystują zjawisko indukcji elektrostatycznej, po niemiecku nazywanej "influenz". (Należy wyraźnie odróżniać owo zjawisko indukcji od innych zjawisk które także może być używane w maszynach elektrycznych. Np. w generatorze Van de Graaff'a używane jest tarcie.) Historyczne przykłady influenzmaschine obejmują m.in. maszynę Töpler'a z pojedynczym dyskiem, czy maszynę Wimshurst'a z dwoma dyskami. Z kolei "telekinetyczna influenzmaschine" to bardziej zaawansowana wersja owych influenzmaschine, jaka dodatkowo wykorzystuje w swoim działaniu zjawisko zwane "efektem telekinetycznym". (Znaczy że działają one na zasadzie technicznie wyzwalanej telekinezy - na dodatek do indukcji elektrostatycznej.)
       Zasada działania oraz budowa telekinetycznych influenzmaschine są szczegółowo opisane w podrozdziale LA2.3 z tomu 10 monografii [1/5]. Zasada ta jest także w skrócie podsumowana na totaliztycznej stronie internetowej free_energy_pl.htm - o telekinetycznych generatorach darmowej energii. Tutaj więc zasada ta nie będzie omawiana. Wszakże niniejsza strona ma na celu wyjaśnić jak ją zbudować, a nie jak ona działa.
       Telekinetyczna influenzmaschine "Thesta Distatica" pokazana powyżej zbudowana została przez Szwajacarską komunę religijną nazywajacą sama siebie Methernitha. Owa Thesta Distatica generuje około 3 kW prądu zmiennego o częstotliwości 50 Hz oraz o napięciu około 600 Volt. Z punktu widzenia użytej w niej zasady działania, jest ona faktycznie "silnikiem prądu zmiennego" opartym w działaniu na zasadach indukcji elektrostatycznej. Ów silnik pracuje ponieważ darmowa energia elektryczna jest do niego doprowadzana z tzw. "ogniwa telekinetycznego" które zostało wbudowane w jego konstrukcję. (Budowa i działanie takiego "ogniwa telekinetycznego" streszczone zostały w punkcie #C1 w/w strony free_energy_pl.htm - o telekinetycznych generatorach darmowej energii, zaś dokładniej omówione na odrębnej stronie o fe_cell_pl.htm - o ogniwach telekinetycznych.) Pierwsze dwie małe takie telekinetyczne influenzmaschine nazywane "Testatica" (z pojedyńczym dyskiem, bazujące na zasadzie działania maszyny Töpler'a) zbudowane zostały NIE aby generować darmową elektryczność, a aby wytwarzać darmowy ruch mechaniczny. Celem ich konstruktora było łatwo dostrzegalne zademonstrowanie wszystkim wysoce sceptycznym ludziom oraz naukowcom ortodoksyjnym, że ponieważ maszyny te są w stanie wytwarzać ruch fizyczny bez żadnego zasilania w energię, stąd faktycznie one dowodzą że zbudowanie perpetuum mobile jest rzeczywiście możliwe.
* * *
       Zauważ że można zobaczyć powiększenie każdej fotografii z niniejszej strony internetowej. W tym celu wystarczy zwykle kliknąć na tą fotografie. Ponadto wiekszość tzw. browserow ktore obecnie są w użyciu, włączając w to populany "Internet Explorer", pozwala na załadowanie każdej ilustracji do swojego własnego komputera, gdzie można jej się do woli przyglądać, gdzie daje się ją zredukować lub powiększyć, a także gdzie ją można wydrukować za pomocą posiadanego przez siebie software graficznego.
       Jeśli życzysz sobie przesunąć daną ilustrację (tj. fotografię lub rysunek), znaczy chcesz przemieścić ją w inne miejsce ekranu z którego właśnie czytasz jego opis, wówczas powinieneś uczynić co następuje: (1) kliknąć na nią aby spowodować pojawienie się tej ilustracji (zdjęcia lub rysunku) w odrębnym okienku, (2) zmniejszyć wymiary tego odmiennego okienka (z danym zdjęciem lub rysunkiem) poprzez "złapanie" myszą jego prawego-dolnego narożnika i przesunięcie tego narożnika w górę-lewo aby otrzymać rozmiar tego odrębnego okienka jaki sobie życzysz mieć (odnotuj że kiedy raz zmniejszysz już rozmiar pierwszej takiej ilustracji, wówczas wszelkie następne kliknięte rysunki pojawią się już w owych zmniejszonych rozmiarach - chyba że je ponownie powiększysz w taki sam sposób), a następnie (3) przemieść to odmienne okienko z ilustracją w miejsce strony internetowej w którym zechcesz je oglądać. (Aby je przemieścić złap je myszą za ten niebieski pasek na jego górnej krawędzi). Odnotuj też, że jeśli przesuniesz (suwakiem) tekst tej strony kiedy go czytasz, owo odrębne okienko z dodatkowym rysunkiem nagle zniknie. Aby je ponownie przywrócić w nowe położenie strony musisz kliknąć na jego "ikonkę" (nazwę) w najniższej części ekranu.


Część #E: Jak się zabrać za zbudowanie telekinetycznej influenzmaschine:

      

#E1. Główne stadia rozwojowe telekinetycznej influenzmaschine:

       Najprostsza metoda zbudowania telekinetycznej influenzmaschine sprowadza się najpierw do stopniowego zbudowania i niezależnego wytestowania wszystkich trzech jej podstawowych podzespołów opisanych poprzednio w punkcie #D1 tej strony. Następnie podzespoły te należy zintegrować ze sobą tak aby formowały one całą działającą telekinetyczną influenzmaschine. Omówmy teraz generalnie na czym polega zbudowanie i niezależne wytestowanie owych trzech podstawowych podzespołów tej maszyny:
       1. Zbudowanie "elektrostatycznego silnika prądu zmiennego". Od tego kroku należy rozpocząć budowę telekinetycznej influenzmaschine. Taki "silnik elektrostatyczny prądu zmiennego" musi działać na zasadzie indukcji elektrostatycznej. Znaczy, musi on być po prostu odwróceniem zasady działania albo jednotarczowej maszyny elektrostatycznej Töpler'a, albo też dwutarczowej maszyny Wimshurst'a. Faktycznie też taki motor może być zakupiony niemal w gotowej postaci, jako że wiele krajów, włączając w to Polskę, oferuje fabrycznie nowe dwutarczowe maszyny elektrostatyczne Winshurst'a na sprzedaż w swoich sklepach. Owe już gotowe maszyny wyglądają tak jak owa pokazana poniżej na rysunku "Fot. #E1" (lub na rysunku 11 z monografii [6/2]). Istnieje jednak z nimi pewien problem. Mianowicie dostępne na rynku maszyny, tj. maszyna Töpler'a i maszyna Wimshurst'a, pracują jako generatory elektrostatyczne. Znaczy produkują one elektryczność, podczas gdy konsumują moc mechaniczną. Aby więc przemienić je w silniki na indukcję elektrostatyczną, koniecznym jest odwrócenie ich zasady działania. Stąd muszą one wówczas być w stanie wyprodukować ruch mechaniczny, jeśli do ich kondensatorów dostarczy się prąd zmienny 50 Hz (z sieci). Ponadto, aby potem mogły one pracować efektywnie jako telekinetyczne infuenzmaschine, muszą one spełniać cały szereg wymogów konstrukcyjnych. Przykładowo, ze względów praktycznych dobrze jest aby szybkość obrotowa tarcz tej maszyny wynosła 60 obr/min. Taką bowiem szybkością łatwo jest potem eksperymentalnie sterować, jako że jej szybkość sprowadza się do 1 obrotu tarczy na każdą sekundę. Z kolei aby maszyna ta generowała prąd zmienny o częstotliwości 50 Hz dla Europy (lub 60 Hz dla Ameryki), liczba elektrod na jej tarczy musi być równa lokalnej częstości prądu (tj. w Europie ta maszyna powinna mieć 50 elektrod, zaś w Amerykach - 60 elektrod). W ten sposób liczba elektrod na jej tarczach pomnożona przez szybkość obrotową tych tarcz np. dla Europy daje 50 impulsów na sekundę. Dlatego, chociaż dobrze jest posiadać pod ręką zakupioną maszynę np. Töpler'a albo Wimshurst'a jako model do eksperymentowania i do projektowania, niemniej dla zbudowania telekinetycznej influenzmaschine najlepiej skonstruować swój własny zupełnie nowy "silnik elektrostatyczny", zaczynając jego konstrukcję od samych podstaw.
       2. Zbudowanie ogniwa telekinetycznego. Kiedy już posiądziemy taki działający "silnik elektrostatyczny na prąd zmienny", musimy użyć jedną jego szczotkę (głowicę) jako "pulser" dla ogniwa telekinetycznego. Znaczy, że musimy wyłapywać impulsy elektryczne jakie ów silnik generuje, za pomocą szczotki (głowicy) oznaczonej "ho" na rysunkach "Fot. #D2" i "Fot. #D3" ze strony free_energy_pl.htm - o telekinetycznych generatorach darmowej energii (tj. na rysunkach LA5 i LA6 z monografii [1/5]). Potem musimy dostarczać owe impulsy na wejście do oddzielnego ogniwa telekinetycznego jakie wbudujemy w naszą maszynę. Owe impulsy spowodują zadziałanie tego ogniwa telekinetycznego. Stąd będziemy wówczas mogli dostarczyć wydatek z owego ogniwa telekinetycznego z powrotem do kondensatorów owego silnika. W ten sposób otrzymamy podwójne działanie wynikowego urządzenia, składającego się z silnika elektrostatycznego oraz z ogniwa telekinetycznego. W tym działaniu obroty silnika generują impulsy elektryczne jakie podtrzymują działanie ogniwa telekinetycznego, podczas gdy ogniwo telekinetyczne generuje elektryczność jaka podtrzymuje obroty silnika elektrostatycznego. Stąd wynikowe urządzenie działa dokładnie w ten sam sposób jak działa słynna "Thesta-Distatica" pokazana uprzednio na rysunku "Fot. #D1" (tj. rysunku LA4 z monografii [1/5]). (To zaś praktycznie oznacza, że opisy jakie tutaj prezentuję są również opisami sposobu budowania "Thesta-Distatica" posiadanej przez komunę religijną "Methernitha".) Nasze urządzenie produkowało więc będzie niewielki choć dobrze widoczny "wieczysty ruch mechaniczny" (podobnie jak słynne urządzenia "perpetum motion"), plus ogromną ilość darmowej elektryczności, jakiej nadmiar będzie się nadawał do wykorzystania w formie darmowych zasilaczy energii elektrycznej.
       3. Zbudowanie analogowego sterownika prędności obu tarcz. Jeśli zbudujemy telekinetyczną influenzmaschine która nie posiada takiego sterownika, wówczas jej obroty (a stąd i częstotliwość wytwarzanego przez nią prądu elektrycznego) będą eratyczne i silnie zależane od warunków zewnętrznych. Przykładowo, w suche ciepłe dni będzie ona obracała się szybko, w inne zaś wolno. Dlatego do obwodów elektrycznych owej maszyny należy dodać niewielką jakby "prądniczkę" (dynamo-motor) która będzie również pracowała jako silnik elektryczny. Prądniczkę tą należy sprzegnąć paskiem z obrotami tarcz tej maszyny. Z kolei wytwarzany przez nią prąd należy podłączyć do prądu generowanego przez maszynę na zasadzie tzw. "przeciwstawnyej" (tj. z tzw. "dodatnim sprzężeniem zwrotnym"). Kiedy więc warunki zewnętrzne spowodują że tarcze tej maszyny będą się obracały zbyt wolno aby generować prąd o częstotliwości 50 Hz, wówczas ów "dynamo-motor" zacznie działać jako "motor" i "podpędzi" obroty tarcz do wymaganej prędkości. Jeśli zaś warunki zewnętrzne spowodują że tarcze tej maszyny będą się obracały zbyt szybko aby generować wymagany prąd o częstotliwości 50 Hz, wówczas ów "dynamo-motor" zacznie działać jako "dynamo", czyli zacznie konsumować ruch mechaniczny i produkować prąd elektryczny. To zaś "wyhamuje" obroty tarcz do wymaganej prędkości.

Fot. #E1: maszyna Wimshursta (tj. Rys. 9 z [6]). Odnotuj ze z powodu nachalnych sabotazy wyjasnionych na totaliztycznych stronach evil_pl.htm i fe_cell_pl.htm co wazniejsze ilustracje moga tu byc wymazane. Szukaj wowczas tych ilustracji na innych stronach z Menu (np. o darmowej energii lub z [1/5]).

Fot. #E1 (9 z [6/2p]): Maszyna elektrostatyczna Wimshursta. Stanowi ona punkt startowy do rozpoczęcia budowy telekinetycznych infuenzmaschiones, czyli budowy urządzeń telekinetyki których pierwsze pracujące prototypy już zbudowane zostały na ziemi.
       W 1989 roku skompletowalem relatywnie szerokie badania tzw. "urządzeń darmowej energii". Urządzenia te wykorzystują zjawisko będące odwrotnością tarcia do generowania darmowej elektryczności. W taki sam sposób jak tarcie spontanicznie zamienia ruch na ciepło, również urządzenia darmowej energii spontanicznie zamieniają energię cieplną zawartą w swoim otoczeniu na ruch elektronów w przewodniku. Stąd ochładzają one swoje otoczenie, podczas gdy równocześnie generują one elektryczność dosłownie za darmo - znaczy bez potrzeby zasilania ich w jakiekolwiek paliwo lub w jakąkolwiek inną formę energii. Ja sam wynalazłem moje własne urządzenie darmowej energii, które w tomie 10 monografii [1/5] opisane jest pod nazwą "bateria telekinetyczna". Zasada użyta w działaniu owej baterii telekinetycznej wyjaśniona została na moich stronach internetowych o "darmowej energii" dostępnych poprzez "Menu 2" i "Menu 4" z tej strony. Ponadto rozpracowałem wówczas również zasadę działania całej odmiennej klasy urządzeń darmowej energii, jakie noszą ogólną nazwę "telekinetycznych influenzmaschine" (dla przykładu, słynna "Thesta-Distatica" ze Szwajcarii, która w chwili obecnej jest najbardziej doskonała ze wszystkich urządzeń darmowej energii zbudowanych na naszej planecie, należy właśnie do klasy telekinetycznych influenzmaschine). Potem zdecydowałem się zbudować owe urządzenia. Niestety, zaraz po tym jak ukończyłem wykonywanie ich szczegółowych konstrukcji i zakupiłem podzespoły, przez ogromnie dziwny "zbieg okoliczności" w 1990 roku straciłem pracę wykładowcy uniwersyteckiego. Tamta strata pracy wykładowcy uniwersyteckiego uczyniła zupełnie niemożliwym skompletowanie któregokolwiek z urządzeń darmowej energii jakie wynalazłem. Wszakże, w tak przykrej sytuacji, znalezienie następnej pracy oraz przeżycie stało się moim najważniejszym zadaniem. Ironicznie, ci sami administratorzy nauki którzy ubliżali moim badaniom i aktywnie powstrzymywali mnie przed zbudowaniem moich urządzeń darmowej energii, już wkrótce mogą doświadczyć borykania się z zaciemnieniami prądu i z brakami energii, jako ze Nowa Zelandia właśnie zbliża się do kryzysu energetycznego.
       Powyższa fotografia pokazuje mnie kiedy trzymam w ręku fabrycznie nową maszynę elektrostatyczną Wimshursta, która jest głównym podzespołem dla konstruowania telekinetycznych influenzmaschine. Tuż zaś za moimi plecami, na wysokosci moich łopatek, zgrupowanie budynków kampusu uniwersytetu jest widoczne w którym wówczas pracowałem. Kiedyś miałem nadzieję że zbuduję tam telekinetyczną influenzmaschine - niestety w 1990 roku straciłem tam pracę wykładowcy zanim zdołałem osiągnąć ten cel. Trochę dalej na horyzoncie widać sztożkowe wzgórze - jest to słynna "Saddle Hill" w której wnętrzu ma się znajdować jaskinia w jakiej niemal na stałe podobno rezyduje wehikuł UFO (po szersze opisy tego wzgórza i związanych z nim maoryskich legend - patrz punkt #F2 na stronie o nazwie newzealand_pl.htm). Proszę odnotować, że zasady działania i konstrukcja baterii telekinetycznych mojego wynalazku, a także telekinetycznych influenzmaschine (znaczy jeszcze jednej klasy urządzeń darmowej energii do której to klasy należy słynna Thesta-Distatica ze Szwajcarii), jest omówione szczegółowo na mojej odmiennej stronie internetowej jaka, między innymi, może być oglądana pod nazwą darmowa energia z "Menu 2" i "Menu 3".


#E2. W chwili podejmowania decyzji o rozpoczęciu budowy telekinetycznej influenzmaschine warto wiedzieć że zbudowanie tego urządzenia jest "najtrudniejszym technicznym zadaniem świata", chociaż jednocześnie zadaniem wykonalnym samotnie przez pojedynczego ambitnego hobbystę:

       Podjęcie budowy telekinetycznej influenzmaschine jest ogromnie ambitnym zadaniem. Faktycznie w dzisiejszej sytuacji na Ziemi jest to najtrudniejsze zadanie na świecie. Wszakże aby osiągnąć w nim sukces, należy pokonać cały szereg najróżniejszych poważnych przeszkód. Przykładowo, w sobie samym należy pokonać rodzaj przekleństwa obecnej cywilizacji, jakim jest zwyczaj siedzenia na swojej tylnej części, oglądania telewizji, zajadania kanapek, oraz NIE czynienia niczego dla poprawy sytuacji swojej i innych. W sobie samym należy też pokonać wpojone nam przez ludzką naukę i edukację filozoficznie błędne przekonanie że takich urządzeń wcale NIE da się zbudować. Trzeba też pokonać standardowe nawyki myślowe i zacząć myśleć w sposób po angielsku nazywany "lateral thinking". Na dodatek to tego wszystkiego, budowę owej maszyny trzeba realizować z właściwych pobudek moralnych, opisanych w części #K tej strony, które muszą być nastawione na faktyczne dobro naszej cywilizacji, oraz zamanifestowane poprzez unikanie utrzymywania czegokolwiek w tajemnicy. Wszystko to zaś trzeba uzypełniać zdrowym rozsądkiem, doskonałą i szeroką wiedzą, oraz umiejętnością samodzielnego znajdowania potrzebnej nam informacji. Jedynym sprzyjającym faktem w tej budowie, jest że telekinetyczne influenzmaschine dają się zbudować samotnie przez indywidualnego hobbystę w typowo wyposażonym domowym warsztacie lub garażu. Wcale NIE trzeba więc dla ich zbudowania dużego zespołu rozwojowego czy drogo wyposażonego laboratorium. Ponadto sprzyjającym faktem jest też że Bóg jest szczególnie zainteresowany rozwojem tego urządzenia i będzie uważnie nadzorował każdy nasz krok na drodze do jego zrealizowania. Faktycznie też podejmując budowę tej maszyny stajemy się automatycznie budowniczymi sponsorowanymi bezpośrednio przez samego Boga.
       Ponieważ zbudowanie tej maszyny jest faktycznie najtrudniejszym zadaniem świata wykonalnym przez pojedyńczą osobę, na próbach zbudowania tego urządzenia "połamali sobie zęby" rozliczni próbujący. Tylko na tej stronie w punkcie #J2 wyjaśniłem, że klęskę w próbach zbudowania takiej maszyny poniósł sam Paul Baumann ze swoim dużym zespołem (i to na przekór że mieli oni do wglądu trzy działające prototypy takich maszyn), a prawdopodobnie nawet sam Nitschel działający pod szyldem "Vene" (i to na przekór że uprzednio zbudował on aż trzy takie maszyny). Ja wiem o kilku dalszych osobach które poniosły klęski w próbach zbudowania telekinetycznej influenzmaschine, jednak NIE ma potrzeby aby ich wszystkich tutaj wskazywać.

Fot. #E2: galaxy z Vene.

Fot. #E2: Jeden z całego szeregu prototypów maszyn budowanych w różnych krajach świata, które usiłowały zduplikować konstrukcję telekinetycznej influenzmaschine zwanej "Thesta-Distatica" a zbudowanę przez szwajcarską komunę religijną Methernitha. Powyższa dwutarczowa "telekinetyczna influenzmaschine" była budowana przez grupę zwaną "Vene" z najbliższego do Methernitha miasteczka Thun. Podobnie jednak jak wiele innych prób tego rodzaju, powyższa maszyna nigdy nie zadziałała. Znawcy przedmiotu by stwierdzili, że najwyraźniej budowniczemu tej maszyny zabrakło ekspertyzy technicznej i mocy wykonawczej dostępnych zespołowi rozwojowemu z Methertnitha. Ja natomiast bym stwierdził, że z powodów opisanych w punkcie #K1 poniżej, Bóg zwyczajnie NIE dopuścił aby maszyna ta została zbudowana bez uprzedniego spełnienia warunków wyjaśnionych w punkcie #K2 tej strony. Wszakże nawet zespół rozwojowy Methernithy poniósł klęskę w swoich wysiłkach zbudowania czwartej (gigantycznej) wersji technicznej swoich telekinetycznych influenzmaschines - i to na przekór że miał do swojej dyspozycji całą tą ekspertyzę techniczną oraz trzy uprzednio zbudowane i działające prototypy owych maszyn.


Część #F: Zbudowanie "elektrostatycznego silnika na prąd zmienny" czyli uzyskanie pierwszego podstawowego podzespołu telekinetycznej influenzmaschine:

      

#F1. Zbudowanie odwracalnej wersji maszyny elektrostatycznej zwanej "modelem Dra Pająka":

       Jak to wyjaśniłem w punkcie #J3 tej strony, w 1990 roku - czyli w czasach kiedy ciągle miałem jeszcze pracę wykładowcy uniwersyteckiego, zupełnie na poważnie przygotowywałem wówczas podjęcie w Nowej Zelandii seryjnej produkcji opisywanych tutaj telekinetycznych influenzmaschine. Wszakże wiedziałem wówczas już dokładnie jaka jest zasada działania owych telekinetycznych influenzmaschine. Na universytecie miałem też dostęp do urządzeń pomiarowych i do laboratorium badawczego w których zamierzałem zmontować razem i dopracować w szczegółach prototyp produkcyjny owej potrzebnej ludzkości maszyny. Chociaż więc po mojej utracie w 1990 roku pracy wykładowcy owego uniwersytetu zmuszony zostałem zrezygnować z tamtych planów, plany te nadal istnieją i nadal ich najważniejsze szczegóły jestem teraz w stanie zrekonstruować i opublikować. Ponieważ zaś były one realistyczne, wykonalne przez niemal każdego, oraz naukowo zoptymalizowane pod względem łatwości ich urzeczywistnienia, każdy kto nosi się z zamiarem zbudowania tej maszyny ma największą szansę sukcesu jeśli będzie postępował zgodnie z tamtymi moimi planami. Dlatego postulując tutaj zbudowanie "elektrostatycznego silnika na prąd zmienny" w ramach pierwszej fazy budowy telekinetycznej influenzmaschine, faktycznie nawracam do tamtych swoich starych planów i wyjaśniam tutaj ich szczegóły.
       Zbudowanie "elektrostatycznego silnika na prąd zmienny" w ramach pierwszej fazy budowy telekinetycznej influenzmaschine faktycznie sprowadza się do wykonania tzw. "modelu Dra Pająka" maszyny elektrostatycznej. (Nazwa tego modelu wywodzi się z czasów kiedy negocjowałem podjęcie jego seryjnej produkcji z fabryką w Nysie. Inżynierowie owej fabryki jego dokumentację i opisy nazywali wówczas właśnie "modelem Dra Pająka". Potem ta nazwa do niego już przylgnęła i była używana w moich dalszych publikacjach.) Model ten zaprojektowałem jeszcze w 1990 roku na uniwersytecie, w czasach kiedy zabierałem się za podjęcie budowy telekinetycznej influenzmaschine. Esencja owego "modelu Dra Pająka" sprowadza się do tego, że stanowił on odwracalną wersję maszyny elektrostatycznej, która została tak zaprojektowana, aby mogła pracować zarówno jako elektrostatyczny generator elektryczności (czyli jako maszyna elektrostatyczna) jak również jako silnik elektrostatyczny (tj. jako podstawowy podzespół telekinetycznych influenzmaschines). Mianowicie, ów "model Dra Pająka" miał w sobie wszystkie elementy zarówno maszyn elektrostatycznych, jak i silników elektrostatycznych. Dlatego był bardzo łatwy do testowania i do dopracowywania jego szczegółów. Kiedy miał on pracować jako maszyna elektrostatyczna, jego tarcza napędzana była ręcznie krobką, podczas gdy generowany przez niego ładunek elektryczny mógł być zbierany z jego terminala wyjściowego. Aby zaś przetransformować go w silnik elektrostatyczny, wystarczyło zdjąć pasek który łączył jego korbkę z tarczą, dostarczyć prąd elektryczny do jego terminala wyjściowego, oraz zakręcić wstępnie jedną z jego tarcz. Jego tarcze następnie obracały się już same napędzane dostarczanym do niego prądem elektrycznym. Ów "model Dra Pająka" stanowił więc już gotowy pozespół bazowy dla telekinetycznej influenzmaschine. Moim planem było wówczas, że zlecę polskiej fabryce maszyn elektrostatycznych w Nysie seryjną produkcję owego "modelu Dra Pająka". (W owym czasie adres tamtej fabryki był jak następuje: Fabryka Pomocy Naukowych w Nysie, ul. Słowiańska 43, 48 300 Nysa, Poland; Tel: 2491.) Po zaimportowaniu zaś do Nowej Zelandii serii maszyn owego "modelu Dra Pająka" domontuję do nich jedynie "baterię telekinetyczną" i "sterownik prędkości tarcz", oraz zintegruję wszystkie części w jedną pracującą całość. Otrzymane zaś w ten sposób telekinetyczne influenzmaschines będę upowszechniał (sprzedawał) po świecie jako gotowe telekinetyczne generatory darmowej energii. W ramach realizacji owego planu zdołałem nawet przekonać ówczesną dyrekcję fabryki w Nysie do podjęcia seryjnej produkcji "modelu Dra Pająka". Niestety, moja następna utrata pracy na uniwersytecie, bezrobocie, oraz konieczność tułaczki po świecie "za chlebem" zrujnowały tamte plany.
       "Model Dra Pająka" jest opisany relatywnie dobrze w podrozdziale 5.4 z polskojęzycznej monografii [6/2p]. Jest on także zaprezentowany w podrozdziale LA2.3.4 z tomu 10 monografii [1/5] - tyle że w owej [1/5] NIE jest on już nazywany "modelem Dra Pająka". Ponieważ jednak czytelnik może nie mieć dostępu do monografii [6/2p] czy [1/5] i do tamtych opisów, skrótowo wyjaśnię jego budowę i działanie na niniejszej stronie. Jedyne więc co czytelnik musi uczynić aby zrealizować pierwszy etap budowy telekientycznej influenzmaschine (czyli aby zbudować "silnik elekrostatyczny na prąd zmienny") to zbudować sobie taki "model dra Pająka".


#F2. Najważniejsze szczegóły konstrukcyjne odwracalnej wersji maszyny elektrostatycznej zwanej "modelem Dra Pająka", wraz z uzasadnienieniami takiego a nie innego ich zaprojektowania:

       Zanim też się przystąpi do realizacji tego projektu najpierw wykonać należy pełną dokumentację konstrukcyjną tej maszyny i upewnić się, że pod względem wymiarowym i działaniowym wszystko jest sprawdzone i poprawne. W dokumentacji tej przewidzieć i rozrysować powinno się współdziałanie, położenie, wymiary, konstrukcję, sposób zamontowania, oraz sposób późniejszego regulowania i udoskonalania wszelkich elementów konstrukcyjnych jakie wymagane będą w budowanym przez siebie telekinetycznym agregacie prądotwórczym. Szczególnie dobrze w dokumentacji tej powinno się rozpracować następujące aspekty:
       5A. Konstrukcję, wymiary i wzajemne rozmieszczenie wszystkich części budowanego ageregatu. Przykładowo dla ułatwienia późniejszych udoskonaleń obie tarcze agregatu powinny posiadać co najmniej średnicę 55 cm, tj. nie mniejszą niż średnica tarcz w Thesta-Distatica (w maszynie Wimshursta V5 43 posiadają one tylko średnicę 250 mm). Zasada jest przy tym, że im większa jest maszyna i jej tarcze, tym łatwiej przyjdzie potem wprowadzać do niej poprawki i udoskonalenia. Jednak po przekroczeniu przez średnice tarcz wartości około 1 m, maszyna staje się już zbyt ciężka i nieporęczna.
       5B. Przy budowie maszyny z dwoma tarczami - wymuszanie przeciwbieżnego ruchu obu tarcz. Wymuszenie to najlepiej uzyskać przez pojedyńczy pasek który jednocześnie napędza wrzecionko (Ts) - jak to pokazano na rysunku K5 (e). Pamiętać przy tym należy o mechaniźmie napinania tego pasa. Ponadto rekomendowałbym, aby wrzecionko (Ts) umieszczone było ponad obu tarczami, nie zaś poniżej nich - jak to ma miejsce w Thesta-Distatica. Powodem jest, że w dalszych etapach prac rozwojowych wrzecionko to, oraz współpracujący z nim dynamo-motor (Dm) wymagały będą najróżniejszych przeróbek i udoskonaleń, a także nieustannego regulowania. Stąd powinien istnieć łatwy dostęp do wrzecionka i dynamo-motoru, tak aby nie było konieczne odmontowywanie obu tarcz za każdym razem kiedy trzeba dostać się do wrzecionka. (W Thesta-Distatica dostęp ten jest bardzo utrudniony.) Z kolei umieszczenie wrzecionka u góry agregatu nakłada wymóg aby głowica (ho) oraz np. magnesy (Mo) i (M) znajdowały się u dołu tarcz.
       Wrzecionko (Ts) będzie utrzymywało 6 lub 8 magnesów, współpracujących z elektrodami obu tarcz oraz z dynamo-motorem. Stąd obroty tego wrzecionka powinny zostać tak dobrane, aby umożliwiały one współpracę indywidualnych magnesów z indywidualnymi elektrodami. To zaś oznacza, że przełożenie prędkości pomiędzy wirującymi tarczami i wrzecionkiem powinno być odpowiednio 1:8 albo też 1:6. Gotowe rozwiązanie dla tego wrzecionka oraz współpracującego z nim dynamo-motoru uzyskać można ze starych motocykli, np. WFM. (Ich dynamo budowane było wszakże jako wirująca tarcza z ośmioma magnesami współpracująca z cewkami dynama.)
       5C. Napęd i rozruch tarcz. Podczas prób, tarcze często będą musiały być napędzane. Należy więc przewidzieć i rozwiązać sposób tego napędzania - albo za pomocą korbki, albo małego silniczka elektrycznego (zasilanego z sieci). W przypadku rozwiązania z korbką, napęd przykładowo podawany może być tylko na przednią tarczę za pośrednictwem pojedyńczego (zrzucalnego) paska i korbki. Korbka zaopatrzona powinna być w balast przeciwwagowy, jaki zabezpieczy jej wyważone wirowanie inercyjne po zaprzestaniu jej napędzania ręką. Z przedniej tarczy na tylną napęd ten przekazywany będzie za pośrednictwem przeciwbieżnej przekładni pasowej opisanej już w punkcie 5B.
       5D. Zasadę minimalizowania oporów ruchu poprzez zastosowanie łożysk kulkowych (tj. zamiast łożysk ślizgowych stosowanych w tradycyjnych maszynie Wimshursta, np. maszynie V5 43). Na łożyskach tych powinny być osadzone wszystkie części wirujące (tj. obie tarcze, wrzecionko (Ts), koła pasowe, oraz ewentualna korbka). Rozwiązania techniczne i gotowe podzespoły jakie tu mogą zostać użyte daje się łatwo podpatrzeć i zaadoptować z konstrukcji rowerów.
       5E. Liczbę elektrod (e). Liczba ta powinna być podzielna przez 8 (tj. przez ilość pozycji kątowych głowic), zaś po pomnożeniu jej przez szybkość obrotową tarcz (n) powinna dać częstotliwść roboczą baterii telekinetycznej (R) wbudowanej w tą maszynę, równą częstotliwości prądu z sieci, tj. f=e•n=50 [Hz]. Stąd dla średnicy obu tarcz d=55 cm (najłatwiej i najbezpieczniej wykonywanych z przeźroczystego pleksiglasu), najlepiej aby uzyskały one po 48 drabinkowatych elektrod rozmieszczonych równomiernie na ich obwodzie (zamiast po 30 elektrod istniejących w maszynie V5 43). Każda z tych elektrod posiadałaby wtedy długość około 190 mm. Knoby stykowe (w kształcie pinesek) osadzone powinny być po wewnętrznej, osiowej stronie elektrod (a nie jak w V5 43 po ich zewnętrznej stronie).
       5F. Bezpieczeństwo eksperymentującego i obserwatorów. Już na etapie projektowania należy zwrócić uwagę, aby budowana maszyna była bezpieczna podczas eksperymentowania. Należy wszakże pamiętać, że wytwarzane na niej napięcie czasami przekroczy 700 Volt, przy mocy około 3 kW. To zaś oznacza, że jest ona w stanie zabić nieostrożnego dotykalskiego. Wszystkie przewody i podzespoły na jakich panowało będzie owo napięcie powinny więc być starannie zaizolowywane od zewnątrz i zabezpieczone przed przypadkowym dotknięciem. Ponadto bezpieczniki przeciążeniowe powinny zabezpieczać przed zwarciem. Problem jest też z tubą w jakiej panuje próżnia i wypełniona jest trującą rtęcią. W dotychczasowej konstrukcji łatwo spowodować jej pęknięcie i rozprysk rtęci. Wszakże w szwajcarskiej Thesta-Distatica tuba ta umieszczona jest na górze maszyny, co czyni ją szczególnie podatną na przypadkowe uderzenie. Aczkolwiek jest to spektakularne umieszczenie i zapewne w wersjach tej maszyny przeznaczonych na rynek migotliwe jarzenie się tej tuby będzie dodawało maszynie atrakcyjności, jednak w wersji przeznaczonej do eksperymentowania sugerowałbym aby tubę schować w środku płyty podstawowej i dobrze osłonić przed przypadkowym stłuczeniem. Oczywiste powinny być też takie "dodatki bezpieczeństwa", jak uchwyty do łatwego przenoszenia maszyny, pokrywy osłaniające, zamek/stacyjka zabezpieczające przed przypadkowym uruchomieniem przez dzieci, itp.
       5G. Dodatkowe nieruchome płyty uchwytowe i półki z pleksiglasu wprowadzone z obu stron tarcz. Umożliwiają one późniejsze montowanie głowic indukujących, grzebieni zbierających, przewodów doprowadzających, itp.

Rys. #F1a (LA5b z [1/5]) Rys. #F1b (LA5e z [1/5]) Rys. #F1c (LA5a z [1/5])
(a)
(b)
(c)

Rys. #F1abc (LA5 z [1/5]): Wygląd dwutarczowej telekinetycznej influenzmaschine, podobnej do "Thesta-Distatica" z Methernitha, pokazanej w trzech odmiennych wydokach. Mianowicie maszyna ta pokazana tutaj jest (a) w widoku z przodu, (b) w widoku z boku, oraz (c) w widoku z tyłu. Tzw. "model Dra Pajaka" był projektowany w taki sposób aby po ukończeniu wszystkich faz budowy telekinetycznej influenzmaschine uzyskana została maszyna bardzo podobna do tej pokazanej powyżej. (Kliknij na którykolwiek powyższy rysunek aby zobaczyć go w powiększeniu, albo aby przemieścić go w inne miejsce ekranu.)
       Rys. #F1a (lewe): Wygląd telekinetycznej influenzmaschine oglądanej od przodu. Na rysunku zaznaczono symbolami poszczególne podzespoły istotne dla jej zadziałania.
       Rys. #F1b (środkowy): Wygląd telekinetycznej influenzmaschine oglądanej z jej lewego boku. Na tym rysunku też zaznaczono symbolami poszczególne podzespoły istotne dla jej zadziałania.
       Rys. #F1c (prawy): Wygląd telekinetycznej influenzmaschine oglądanej od tyłu. Na tym rysunku też zaznaczono symbolami poszczególne podzespoły istotne dla jej zadziałania.
* * *


Rys. #F2 (LA5c z [1/5])

Rys. #F2 (LA5c z [1/5]): Struktura nośna (rama) telekinetycznej influenzmaschine. Do owej ramy wszystkie podzespoły influenzmaschine są potem montowane. (Kliknij na powyższy rysunek aby zobaczyć go w powiększeniu, albo aby przemieścić go w inne miejsce ekranu.)


Część #G: Zbudowanie "baterii telekinetycznej" czyli uzyskanie drugiego podstawowego podzespołu telekinetycznej influenzmaschine:

      

#G1. Jak zbudować "baterię telekinetyczną":

       "Bateria telekinetyczna" jest owym podzespołem telekinetycznej influenzmaschine, który generuje elektryczność z wydajnością ponad 100%. Kiedyś na świecie były już produkowane fabrycznie prymitywne wersje tego ogniwa. Nazywano je "radiami kryształkowymi" - po szczegóły patrz opisy ze strony fe_cell_pl.htm - o podejściu do budowy ogniwa telekinetycznego.
       Jak zbudować "baterię telekinetyczą" opisane zostało relatywnie dobrze w podrozdziale LA2.4.2 z tomu 10 monografii [1/5], a także na odrębnej stronie internetowej fe_cell_pl.htm - o podejściu do budowy ogniwa telekinetycznego. Jedyne więc co czytelnik musi uczynić aby zrealizować również i niniejszy drugi etap budowy telekienetycznej influenzmaschine (czyli aby zbudować "baterię telekinetyczną") to zbudować sobie i wytestować owo urządzenie.
       Kiedy "baterię telekinetyczną" zintegruje się z opisanym poprzednio "silnikim elektrostatycznym" faktycznie otrzyma się już zgrubnie działającą telekinetyczną infuenzmaschine. Tyle że jej praca będzie raczej eratyczna i wysoce zależna od warunków zewnętrznych. Aby jej pracę uczynić niezawodną i powtarzalną, konieczne jest dodanie "sterownika obrotów tarcz" opisanego w następnej części.


Część #H: Zbudowanie "sterownika szybkości obrotowej tarcz" czyli uzyskanie trzeciego i ostatniego podstawowego podzespołu telekinetycznej influenzmaschine:

      

#H1. Jak zbudować "sterownik szybkości obrotowej tarcz":

       Jedyna funkcja "sterownika szybkości obrotowej tarcz" polega na utrzymywaniu stałej prędkości obrotowej tarczy (lub tarcz) całej maszyny zawsze na tej samej wartości 60 obrotów na minutę (albo 1 obrót na sekundę).
       Jak zbudować "sterownik szybkości obrotowej tarcz" opisane zostało relatywnie dobrze w podrozdziale LA2.3.3 z tomu 10 monografii [1/5], a także zgrudnie podsumowane na odrębnej stronie interrnetowej free_energy_pl.htm - o telekinetycznych generatorach darmowej energii. Jedyne więc co czytelnik musi uczynić aby zrealizować również ten trzeci i ostatni etap budowy telekienetycznej influenzmaschine (czyli aby zbudować "sterownik szybkości obrotowej tarcz") to zbudować sobie, wytestować owo urządzenie, oraz potem zintegrować je z pozostałymi zespołami telekinetycznej influenzmaschine.

Rys. #H1 (LA5d z [1/5])

Rys. #H1 (LA5d z [1/5]): Schemat kinematyczny influenzmaschine. Zilustrowano podzespoły dokonujące ruchu obrotowego, tj. tarcze przednią (dc) i tylną (dg), przednie (Pc) i tylne (Pg) koła pasowe obu tarcz, pas (B), oraz wrzecionko (Ts) dla "sterownika szybkości obrotowej tarcz" z jego dwoma kołami pasowymi - ułożyskowanym (Pb) i zaklinowanym (Pr). Zauważ że oś obrotu wrzecionka (Ts) leży w płaszczyźnie prostopadłej do osi obrotu tarcz szklanych (dc) i (dg). Owo wszecionko (Ts) jest praktycznie wirującym podzespołem "dynamo-motoru" który steruje pracą tej maszyny. (Kliknij na powyższy rysunek aby zobaczyć go w powiększeniu, albo aby przemieścić go w inne miejsce ekranu.)


Część #I: Fakty które jednoznacznie dowodzą że urządzenia telekinetyki mimo wszystko da się zbudować - czyli filozoficzne podstawy działania urządzeń telekinetyki:

      

#I1. Dzisiejsze "naukowe prawa" jakoby rządzące energią, są jak ostrzeżenia średniowiecznej inkwizycji na temat podróży do krańców świata:

Motto: "Poprzez sformułowanie 'praw' które jakoby rządzą energią, jednak bez uprzedniego wypracowania 'definicji' energii, dzisiejsza nauka ludzka wprowadziła sama siebie w rodzaj 'pułapki światopoglądowej' która zamyka przed ludzkością dostęp do nieograniczonych źródeł energii oferowanych nam przez atrybuty naturalnych programów zwanych 'energia'."

       Aczkolwiek może to nas ogromnie szokować, tzw. "prawa" które według dzisiejszej nauki jakoby rządzą energią, są równie absurdalne jak ostrzeżenia mnichów z okresu wczesnego średniowiecza na temat podróżowania do krańców świata i wpadania tam w przepaść wprost do "piekła". Wszakże prawa te zostały sformułowane zanim nauka zdołała wypracować wiedzę czym właściwie jest owa "energia". Nie mając zaś pojęcia czym naprawdę jest energia, nauka nie posiadała ani podstawy logicznej ani też wymaganych danych aby odkryć prawdziwe prawa które rządzą ową energią. Z kolei błędne założenie naukowców że "prawa" które dawniej już opracowała są jakoby poprawne, uniemożliwiają nauce ustalenie czym naprawdę jest owa "energia" i jakie prawa naprawdę nią rządzą. W rezultacie w sprawach energii oficjalna nauka ziemska wprowadziła się w sytuację "psa starającego się ugryść własny ogon", czyli w rodzaj "pułapki światopoglądowej" niemal bez wyjścia. W niniejszym punkcie postaram się uzasadnić powyższe ustalenia.
       Problem ze średniowiecznymi mnichami np. obsługującymi inkwizycję polegał na tym że wydawali oni werdykty i ostrzeżenia wyłącznie na bazie swojej własnej wyobraźni, zamiast na bazie naukowo ustalonych faktów. Przykładowo, mnisi ci NIE mieli najmniejszego pojęcia na temat kształtu Ziemi. Niemniej wypowiadali definitywne i autorytatywne sądy na temat podróży do krańców świata. Nie znając zaś definicji Ziemi która m.in. oddawałaby właściwy kształt naszej planety, mnisi ci wyobrażali sobie że świat jest płaski jak placek, zaś na swoich krańcach kończy się przepaścią wiodącą wprost do piekła. Zgodnie więc z ichnimi stwierdzeniami, każdy kto w średniowieczu usiłowałby popłynąć statkiem np. do dzisiejszej Nowej Zelandii lub Australii, na pewnym etapie swojej podróży spadłby z krańca Ziemi i wylądowałby w "piekle". Aby więc uratować takiego zuchwalca przed "piekłem", mnisi owi na wszelki wypadek palili go na stosie natychmiast kiedy wyraził on chęć wyruszenia w tak daleką podróż. Co najbardziej jednak szokuje, że to dziwne średniowieczne zachowanie dzisiejsi "postępowi" naukowcy dokładnie kopiują w sprawach energii.
       Rozważmy więc jak i dlaczego stwierdzenia dzisiejszej oficjalnej nauki ziemskiej na temat energii dokładnie kopiują zachowania tamtych średniowiecznych mnichów. Ano, na przekór że nauka ta NIE wypracowała sobie definicji która wyjaśniałaby czym naprawdę jest owa "energia" oraz jak owa energia działa, ciągle nauka ta upierała się przy formułowaniu "praw" w rodzaju "zasady zachowania energii" czy tzw. "praw termodynamiki". Stąd jedyne na czym owe "prawa" bazowały, było kilka przekonań i wierzeń, bardzo podobnych do tych które ludzie wczesnego średniowiecza posiadali na temat kształtu Ziemi. Wszakże NIE znając definicji energii która by dokładnie wyjaśniała czym faktycznie owa energia jest, dzisiejsza nauka wcale NIE posiada racjonalnych podstaw do formułowania "praw" które opisują zachowania owej energii. Przecież stwierdzanie jak energia się jakoby zachowuje, podczas gdy się NIE ma najmniejszego pojęcia czym owa energia naprawdę jest, dokładnie kopiuje owe opinie średniowiecznych mnichów na temat co się stanie jeśli ktoś wybierze się do krańców świata - wypowiadane w sytuacji gdy faktycznie nikt NIE wiedział wówczas jaki kształt ów świat naprawdę posiada.
       Aby dokładniej zilustrować tutaj jak bezpodstawne są opinie dzisiejszej nauki na temat cech i zachowań energii, rozważmy przykład definicji energii którą nauka ta dzisiaj dysponuje. Aczkolwiek zależnie od podręcznika który się użyje, definicje te mogą się nieco różnić użytymi słowami, generalnie wszystkie one będą stwierdzały coś w rodzaju, że "energia jest to zdolność do wykonywania pracy". Innymi słowy, obecna definicja naukowa energii jest kopią średniowiecznej definicji planety Ziemi, która stwierdzała coś w rodzaju że "Ziemia jest to miejsce życia boskich stworzonek". Znaczy żadna z tych definicji faktycznie nic nas NIE naucza o cechach czy działaniu tego co opisuje. Przykładowo, w przypadku energii jej dzisiejsza odicjalna definicja naukowa nadal NIE wyjaśnia natury energii ani nie pozwala na wywnioskowanie zachowań energii. Z kolei w przypadku planety Ziemia, średniowieczna definicja NIC nie wyjaśniała na temat kształtu Ziemi ani nie pozwalała wywnioskować jak po Ziemi dałoby się bezpiecznie podróżować. Żadna też z owych definicji zupełnie nie zezwala aby cokolwiek wnioskować na temat "praw" które rządzą tym co jest nimi zdefiniowane.
       Oczywiście, naukowcy mogą również usiłować zdefiniować energię na podstawie "praw" które jakoby rządzą jej zachowaniem. Przykładowo z treści "zasady zachowania energii" wynikałoby że "energia" jest rodzajem "niezniszczalnej substancji czy płynu", a stąd podlega ona "prawu bilansu" zwanemu "zasadą zachowania energii". Jednak formułowanie definicji energii na podstawie "praw" które zostały sformułowane bez posiadania owej definicji, jest logicznie błędne. Przypomina ono wszakże próbę "ponoszenia siebie samego za włosy". Innymi słowy, zarówno zrozumienie energii jako "niezniszczalnego płynu", jak i "zasada zachowania energii" okrzyknięta że jakoby obowiązuje dla owego "niezniszczalnego płynu" są jedną wielką kupą bzdur. Mi osobiście NIE może pomieścić się w głowie że racjonalni naukowcy traktują je obie tak jakby były to pewniki. Wszakże reprezentują one jedynie spekulacje i puste słowa które bazują na sobie samych - czyli na tychże spekulacjach i pustych słowach, natomiast które wcale NIE bazują na otaczającej nas rzeczywistości.
       Bezzasadność naukowych "praw" odnoszonych do energii a sfomułowanych w sytuacji kiedy nauka wcale NIE zna definicji wyjaśniającej czym właściwie owa energia jest, najlepiej ilustruje definicja energii sformułowana przez teorię wszystkiego zwaną Konceptem Dipolarnej Grawitacji. (Należy tutaj odnotować, że jak dotąd Koncept Dipolarnej Grawitacji wcale nie jest uznawany przez oficjalną naukę ziemską.) Definicja ta stwierdza, że "energia jest to rodzaj najbardziej elementarnego naturalnego programu rezydującego w przeciw-materii a opisującego zachowanie się materii w każdej sytuacji jakiej materia ta może zostać poddana". Szerszy opis tej definicji zaprezentowany został w publikacjach wyjaśniających ów Koncept Dipolarnej Grawitacj - przykładowo w punkcie #E2 z totaliztycznej strony internetowej dipolar_gravity_pl.htm - o Koncepcie Dipolarnej Grawitacji, albo też w podrozdziałach H4.1 (patrz tam C1) oraz H9.2 z tomu 4 monografii [1/5]. Różnica pomiędzy dotychczasowymi definicjami energii upowszechnianymi przez oficjalną naukę ziemską, a powyższą definicją energii sformułowaną przez (ciągle ignorowany przez naukowców) Koncept Dipolarnej Grawitacji, jest ogromna. Wszakże Koncept Dipolarnej Grawitacji dokładnie nam wyjaśnia czym naprawdę jest owa energia. Tym samym koncept ów dostarcza nam podstaw naukowych do racjonalnego dedukowania cech i zachowań owej energii. Jak też się okazuje, energia faktycznie jest "naturalnym programem" a stąd wykazuje wszelkie cechy "programu" - nie zaś cechy "niezniszczalnej substancji czy płynu" jakie jej nadały dotychczasowe "prawa nauki".
       Oczywiście, różnice pomiędzy zachowaniami "naturalnego programu", a zachowaniami "niezniszczalnej substancji czy płynu", są ogromne. Przykładowo, w program można wprawdzie wpisać algorytm takiego zachowywania się aby "zasada zachowania energii" była przez niego spełniana w większości przypadków. Jednak przy złożoności tego programu odpowiadającej już przez nas poznanym algorytmom zachowań energii, nieodwołalnie będzie on posiadał zarówno jakieś celowe wstawki, jak i algorytmiczne paradoksy, które pozwolą że owa "zasada zachowania energii" w szczególnych okolicznościach będzie zastąpiona zupełnie inną zasadą - czasami nawet do niej odwrotną. Natomiast owa hipotetyczna "niezniszczalna substancja czy płyn" jaka wynika z treści dotychczasowych "praw nauki" musi zawsze spełniać "zasadę zachowania energii". Innymi słowy, poprzez zdefiniowanie "praw" rządzących energią, zanim zdefiniowana została sama owa "energia", oficjalna nauka ziemska sama siebie wpędza w rodzaj zdradliwej "pułapki światopoglądowej". Pułapka ta zamyka przed nauką zdolność do dostrzeżenia lub do poszukiwań mniej typowych możliwości które faktycznie cechy i faktycznie zachowania energii oferują ludziom.
       Zamknięta w stworzonej przez samą siebie owej "pułapce światopoglądowej", dzisiejsza oficjalna nauka ziemska odmawia rozpatrzenia całego szeregu możliwości generowania energii jakie stwarzane są przez faktyczne cechy i faktyczne zachowania energii. Przykłady takich możliwości to budowanie urządzeń o ponad 100% sprawności energetycznej, a także budowanie urządzeń obecnie nazywanych "generatorami darmowej energii", zaś kiedyś nazywanych "perpetum mobile". Na przekór że działające prototypy owych urządzeń zostały już zbudowane i przetestowane na Ziemi, oraz na przekór że prototypy te faktycznie działały - jak to opisano na totaliztycznej stronie internetowej free_energy_pl.htm - o telekinetycznych generatorach darmowej energii, zapędzona w stworzoną przez samą siebie "pułapkę światopoglądową" oficjalna nauka uparcie odmawia uznania istnienia owych urządzeń i możliwości. Co nawet ciekawsze, dzisiejsza nauka zajmuje tak zdecydowane stanowisko na przekór że wszystko co stwierdza na temat energii, faktycznie jest wyssane z palca i NIE znajduje pokrycia w istniejącej rzeczywistości. Szokujące, jak bardzo twierdzenia dzisiejszych naukowców na temat energii kopiują twierdzenia średniowiecznych mnichów na temat kształtu ziemi. Jest to tym bardziej bolesne, że podobnie jak średniowieczni mnisi narzucali torturami swoje poglądy całej reszcie społeczeństwa, dzisiejsza oficjalna nauka też używa nowoczesnych odmian średniowiecznego torturowania aby również narzucać swoje błędne poglądy całej naszej cywilizacji. Tyle tylko że zamiast palenia na stosie, dzisiejsza nauka stosuje np. blokowanie dostępu do zatrudnienia i do źródła utrzymania, publiczne obwinianie, wyzwiska, wyszydzanie, obrzucanie błotem, itd., itp. (Po przykłady "narzędzi tortur" używanych przez naukę i naukowców - patrz opisy losów wynalazków zaprezentowanych na stronie mozajski.htm - o losach wynalazców pierwszych samolotów na Ziemi, lub patrz reakcje naukowców na najważniejsze wynalazki i odkrycia podsumowane w podrozdziale JB7.3 z tomu 7 monografii [1/5].)
* * *
       Podsumujmy teraz najważniejsze wniosek do którego prowadzą powyższe rozważania. Mianowicie, odpowiednie użycie "naturalnych programów", które obecnie nazywamy "energią", obiecuje ludzkości łatwy dostęp do nieograniczonych zasobów darmowej energii. Wykorzystanie tych zasobów darmowej energii NIE powodowałoby żadnych zniszczeń naturalnego środowiska. Jedyne co ludzie powinni uczynić aby zacząć używać ową nieograniczoną energię to podjęcie masowej produkcji fabrycznej tzw. "urządzeń darmowej energii" które wykazują ponad 100% sprawność energetyczną, a więc które działają podobnie do tzw. "pepetum motion" opisywanych w przeszłości. Już obecnie istnieją działające prototypy takich "urzadzeń darmowej energii" - których opisy można znaleźć m.in. na stronie free_energy_pl.htm - o telekinetycznych generatorach darmowej energii. Ponadto ustalenia teorii wszystkiego zwanej Konceptem Dipolarnej Grawitacji dowodzą, że owe "urządzenia darmowej energii" faktycznie mogą być budowane. Niestety, ludzkość posiada "problem filozoficzny" z podjęciem budowy oraz z masową produkcją fabryczną urządzeń które osiągają ponad 100% sprawność energetyczną, a stąd które w przeszłości mogły być nazywane "perpetum mobile". (Po szczegóły na temat obecnych filozofii ludzi warto zaglądnąć na strony totalizm_pl.htm oraz parasitism_pl.htm.) Mianowicie, jak to wyjaśniono powyżej, oficjalna nauka ziemska sama wprowadziła się w sytuację jakby "psa który usiłuje ugryźć własny ogon". Zapostulowała ona bowiem "prawa" które jakoby rządzą energią, podczas gdy narazie wcale NIE wie czym owa energia jest. Na dodatek, obecnie używa ona bezpodstawnie owe zapostulowane (rzekome) "prawa" dla definiowania pojęcia energii i jej zachowań. W ten sposób nauka domyka cyrkulację pustych spekulacji wprowadzając się w rodzaj "pułapki światopoglądowej" która uniemożliwia jej poznanie czym właściwie jest owa eneria. Pułapka ta powstrzymuje naukę przed choćby próbą wypracowania poprawnych praw jakie by opisywały faktyczne zachowanie się owej energii. Na dodatek do powyższego, dzisiejsza nauka jest ateistyczna. To zaś ustawia przed jej adeptami dodatkową "przeszkodę filozoficzną" która w rzeczywistym wszechświecie wcale nie istnieje ani nie działa. Mianowicie, uniemożliwia ona ateistycznym naukowcom zrozumienie, że wszechświat stworzony przez Boga, został celowo zaprojektowany tak inteligentnie, że w nim "wszystko co jest możliwe do pomyślenia jest też możliwe do urzeczywistnienia" - co dokładniej wyjaśnia następny punkt #I2 tej strony.


#I2. Zgodnie z filozofią totalizmu "wszystko co jest do pomyślenia jest także do urzeczywistnienia" - w tym także urządzenia telekinetyki:

Motto: "Określone osiągnięcia byłyby niemożliwe tylko w 'ateistycznym wszechświecie' który powstał przypadkowo. Natomiast we wszechświecie stworzonym i zarządzanym iteligentnie przez Boga, 'każdy czysty cel jest fizycznie osiągalny jeśli tylko może on zostać myślowo sprecyzowany oraz jeśli NIE nakłada on wymagania że wszechświat musi działać w określony sposób jaki jest przeciwstawny do sposobu na który Bóg zdefiniował jego działanie'."

       Problem jaki dzisiejsi ludzie mają z podjęciem budowy maszyn telekinetyki zdolnych do osiągnięcia ponad 100% sprawności energetycznej, jest typu filozoficznego. Mianowicie, jak to wyjaśniono w punkcie #D1 odrębnej strony internetowej god_proof_pl.htm - o dowodach naukowych że Bóg faktycznie istnieje, ateistyczni naukowcy wierzą (a za nimi wierzy też reszta ludzi), że w przypadkowo powstałym wszechświecie większość celów i zamiarów jest niemożliwa do osiągnięcia lub do zrealizowania. Nawet więc nie próbują osiągnąć niektórych swoich zamierzeń jakie uznali za nieosiągalne. Tymczasem okazuje się (jak wyjaśniła to filozofia totalizmu na poświęconej jej stronie), że faktyczny wszechświat stworzony przez Boga został celowo zaprojektowany aż tak inteligentnie, że "wszystko co jest możliwe do pomyślenia jest też możliwe do urzeczywistnienia". Stąd zbudowanie maszyn telekinetyki o ponad 100% sprawności energetycznej jest też możliwe we wszechświecie stwoerzonym przez Boga - my jedynie musimy włożyć w tą budowę nasz trud znalezienia sposobu na jaki maszyny te da się zrealizować.
       Filozofia totalizmu została opisana na odrębnej stronie internetowej totalizm_pl.htm - o najbardziej moralnej, postępowej, pokojowej i spełniającej filozofii świata. To ona wyprowadziła logicznie ten ogromnie istotny postulat który stwierdza że "wszystko co jest możliwe do pomyślenia jest też możliwe do urzeczywistnienia". Opis dedukcji logicznej wiodącej do wyprowadzenia tego postulatu zawarty jest w podrozdziale I5.4.2 z tomu 5 monografii [1/5], a także w punkcie #B4 strony telepathy_pl.htm - o telepatii oraz urządzeniach wykorzystujących fale telepatyczne. (Odnotuj że monografia [1/5] jest upowszechniana nieodpłatnie za pośrednictwem niniejszej strony internetowej.)
       Wyrażając powyższe innymi słowy, skoro urządzenia telekinetyki daje się wymyślić, zdefiniować i opisać, oraz skoro są one czystym celem jakie NIE narzuca wszechświatowi sposobu na jaki ma on działać, zgodnie z ustaleniami filozofii totalizmu urządzenia te daje się również zbudować.


Część #J: Nieoficjalna historia badań i rozwoju urządzeń telekinetycznych:

       Historia rozwoju nowych wynalazków na Ziemi ilustruje dosyć intrygujący choć zawsze powtarzany wzór. Mianowicie, kiedy ludzkość osiąga poziom rozwoju przy którym staje się już dojrzała do zbudowania nowego rodzaju urządzeń, wówczas owe nowe urządzenia pojawiają się na naszej planecie aż w kilku egzemplarzach naraz. Znaczy, zostają one rozpracowywane niemal równocześnie przez aż kilku różnych twórczych wynalazców nawzajem nie znających siebie ani szczegółów technicznych swoich rozwiązań. (Warto w tym miejscu odnotować, że takie równoczesne pojawianie się na Ziemi aż kilku nowych wynalazków tego samego urządzenia, świadczy że rozwój twórczości technicznej na Ziemi jest przez kogoś "zdalnie sterowany". Dlatego jest wysoce wskazane aby ludzie zaczęli wreszcie dociekać, czy owo "zdalne sterowanie" wynalazczością jest inspirowane przez Boga opisywanego na stronie god_pl.htm - o naukowym i świeckim zrozumieniu Boga, czy też przez mieszkańców jakiejś bardziej od ludzi zaawansowanej i sprzyjającej ludziom cywilizacji opisywanej np. w podpisie pod "Fot. #2" oraz w punkcie #D6 ze strony telepathy_pl.htm - o telepatii oraz o urządzeniach wykorzystujących fale telepatyczne.) Doskonałym przykładem takiego wynalazku dokonanego niezależnie od siebie przez aż kilku twórczych ludzi, jest zwykły samolot jakiego pojawienie się na Ziemi opisane zostało na stronie mozajski.htm - o wynalazcy pierwszego samolotu na Ziemi. Takie wielokrotne i zupełnie niezależne wynalezienie miało też miejsce w przypadku telekinetycznej influenzmaschine. Do chwili obecnej wiadomym jest mi o istnieniu trzech jej twórców, z których każdy niezależnie od pozostałych dwóch osób albo zbudował tą maszynę, albo też rozpracował jej konstrukcję i działanie. Są nimi: Adalbert Béla Brosan z Linz (Austria), Paul Baumann (Szwajcaria), oraz ja - tj. Dr Jan Pajak, autor niniejszej strony (Nowa Zelandia).
       My właśnie w chwili obecnej uczestniczymy w formowaniu się historii ogromnie istotnych dla naszej cywilizacji urządzeń telekinetyki. Jednocześnie, niestety, oficjalna ziemska nauka wykazuje bardzo negatywne i filozoficznie zupełnie nieusprawiedliwione nastawienie do tych niezwykłych urządzeń. Dlatego niemal nikt ani nie spisuje tej historii, ani jej oficjalnie NIE bada. Z drugiej strony, jest dosyć ważnym aby historia ta została jakoś zarejstrowana do użytku następnych pokoleń ludzi, oraz aby wnioski moralne z niej płynące zaczęły w końcu służyć ludzkości. Dlatego ja postanowiłem pospisywać te jej fragmenty które są mi znane. Ponieważ jednak NIE mam funduszy dla naukowego zweryfikowania poprawności tego co dotarło do mojej wiadomości, historię którą tutaj prezentuję bazuję na naukowo niezweryfikowanych informacjach uzyskiwanych podczas prywatnych rozmów, a czasami nawet zasłyszanych na zasadzie ciekawostek, plotek i rumorów. Niemniej taki charakter opisanej tutaj historii ciągle ujawnia nam generalny przebieg losów tych niezwykłych maszyn telekinetyki. Z kolei znajomość generalnych losów tych maszyn pozwala nam na wyciągnięcie wniosków zestawionych w części #K tej strony. W każdej zaś historii o to właśnie chodzi - tj. aby móc z niej powyciągać konstruktywne wnioski które mają zastosowanie do naszej aktualnej sytuacji.


#J1. Pierwsze na świecie urządzenia telekinetyki wynalazcy Adalbert Béla Brosan z Linz, Austria:

       O pierwszym twórcy telekinetycznej influenzmaschine praktycznie niemal nikt niczego NIE wie. Jego nazwiska nie można też nigdzie znaleźć. Ja dowiedziałem się o nim zupełnie "przypadkowo" dopiero w 1991 roku. (Aczkolwiek zgodnie z filozofią moralnego totalizmu opisaną w rozdziałach JA i JB monografii [1/5], nie istnieje takie coś jak "przypadek". Zgodnie z nią wszelkie zdarzenia jakie nas dotykają są celowo projektowane przez "wszechświatowy intelekt" (tj. Boga) i zawsze czemuś służą.) Mianowicie w 1991 roku, czyli w okresie najintensywniejszych prac nad teorią "efektu telekinetycznego" oraz nad konstruowaniem siłowni telekinetycznych, poznałem małżeństwo austriackie. Wyemigrowali oni do Nowej Zelandii w poszukiwaniu alternatywnego (naturalnego) stylu życia. Podanych przez nich informacji z przyczyn technicznych nie byłem w stanie sprawdzić, stąd przytaczam je tutaj tylko tak jak były mi zrelacjonowane. W swoim czasie małżeństwo to śledziło losy niezwykłej maszyny budowanej przez ich znajomego o nazwisku Adalbert Béla Brosan (adres w 1965 roku: Schiffmeisterplatz 5, Ybbs/Donau koło Linz, Austria). Brosan posiadł konstrukcję cudownego urządzenia typu "perpetuum mobile" wyglądającego jak udoskonalenie maszyny elektrostatycznej Töplera. Po ręcznym uruchomieniu urządzenie to poruszało się w nieskończoność wytwarzając przy tym energię elektryczną. Swoje urządzenie Brosan opisał w broszurce [1K2.3.1] "Weltfrieden durch Kostenlose Energie" wydanej w 1965 roku przez Karl Schenenberger Verlag (adres w 1965 roku: Stapfenstrasse 187, Helden, Szwajcaria). Owo poznane wówczas małżeństwo austriackie posiadało nawet w Nowej Zelandii kopię tej broszurki i zapoznało mnie z jej treścią. Na nieszczęście, Adalbert Béla Brosan nie zawarł w swej broszurze żadnych technologicznych szczegółów ani żadnego rysunku. Ponieważ Brosan sam nie posiadał uzdolnień wykonawczych, w celu zbudowania swego urządzenia wszedł on w spółkę z lokalnym "złotą rączką" o imieniu Nitschel pochodzącego z miejscowości Linz. (Istotnym szczegółem wydaje się tu informacja że Nitschel znany był w okolicy ze swoich radykalnych przekonań religijnych za które wszedł nawet w kolizję z miejscowymi władzami.) Wspólnie z nim Brosan zbudował dwa małe prototypy tego urządzenia. Działanie tych prototypów zdążyli zademonstrować kilku osobom, włączając w to owo małżeństwo austriackie. Zgodnie z opisami, oba te prototypy były wyglądu i wielkości identycznej do urządzeń zwanych "Testatica", jakie obecnie znajdują sie w posiadaniu szwajcarskiej komuny religijnej zwanej Methernithy. Niefortunnie jednak, zaraz potem Brosan zmarł. Natomiast Nitschel wraz z obu działającymi agregatami podobno przeniósł się do Szwajcarii w okolice (CH-9050) Appenzell, tel: (071) 914110. Dalszych losów Nitschel'a i agregatów nie udało się już ustalić. Powinno tu jednak zostać dodane, że dwa małe urządzenia nazywane "Testatica", które według istniejących opisów wyglądają identycznie do tych zbudowanych przez Brosana, znajdują się obecnie w posiadaniu szwajcarskiej grupy religijnej "Methernitha". To już koniec historii (jak ja ją poznałem) na temat pierwszego wynalazcy i budowniczego telekinetycznych influenzmaschine.


#J2. Urządzenia Paula Baumanna ze szwajcarskiej komuny religijnej Methernitha (znaczy dwie maszyny "Testatica", oraz jedna słynna na cały świat Thesta-Distatica):

       Zgodnie z informacjami które do mnie dotarły, osoba którą powszechnie uważa się za twórcę urządzeń telekinetyki pracujących na zasadzie telekinetycznych influenzmaschines, w rzeczywistości jest dopiero drugim twórcą tych maszyn. Osobą tą jest św.p. Paul Baumann (1917 do 2001) ze szwajcarskiej komuny religijnej Methernitha. W internecie oraz w niemal wszystkich publikacjach to jego wskazuje się jako pierwszego budowniczego tych maszyn. Tymczasem sam Paul Bauman nigdy NIE twierdził że to on zbudował owe maszyny. Co więcej, rumory jakie kiedyś słyszałem na ten temat stwierdzały, że po prostu kiedyś z jakiegoś tam powodu wylądował on we więzieniu, z owego zaś więzienia wrócił do Methernithy już z dwoma gotowymi urządzeniami telekinetyki, mianowicie z dwoma małymi maszynami "Testatica". Ponadto wygląd owych "Testatica" był identyczny do wyglądu dwóch maszyn Bela Brosana. Pytanie więc na jakie warto byłoby kiedyś znaleźć poprawną odpowiedź, to czy w owym więzieniu spotkał on pomocnika Beli Brosan'a, czyli ową złotą rączke o imieniu Nitschel.
       Paul Baumann urodził się on w 1917 roku we wieloosobowej rodzinie wieśniaczej koło Linden, Szwajcaria. Już jako uczeń miejscowej szkoły wykazywał niezwykłe uzdolnienia techniczne, budując różnorodne urządzenia eksperymentalne. W wieku późniejszym dał się poznać ze swych umiejętności zegarmistrzowskich. Około 1950 roku, współnie z 12-toma innymi rolnikami, założył on w Linden grupę religijną Methernitha której zasady odtwarzają życie pierwszych komun chrześcijańskich (adres w 1991 rioku: Methernitha, CH 3517 Linden bei Bern, Switzerland). W czasach kiedy ja odwiedziłem Methernitha w 1991 roku, był on jednym z przywódców tej grupy. Wszystko też wskazuje na to że poprzez swą religijną działalność wszedł on w kontakt z Nitschelem (pomocnikiem Brosan'a), który też wyznawał radykalne poglądy religijne. W internecie natknąłem się na informację, że Paul Baumann zmarł zimą 2001 roku. Po jego śmierci maszyny telekinetyczne uprzednio będące pod jego kontrolą weszły w posiadanie indywidualnych członków jego zespołu rozwojowego. Na przekór jednak że niektórzy z owych członków nadal prowadzą nad nimi prace rozwojowe i na przekór że mają oni działające prototypy, jak narazie nikt NIE był w stanie zbudować kolejnego (czwartego) działającego egzemplarza takiej maszyny. Najwyraźniej zbudowanie tego czwartego egzemplarza musi odczekiwać na czas kiedy ja zdołam znaleźć warunki pracy wymagane dla jego budowy (tak jak warunki te opisałem na stronie job_pl.htm).
       Zainteresowanie Baumann'a w telekinetycznej influenzmaschine zaczęło się już około 1965 roku, czyli w czasach kiedy Bela Brosan budował swoje maszyny. Jednak pierwsze dwa działające modele tych maszyn znalazły się w jego posiadaniu dopiero około 1978 roku. Modele te Baumann nazywał Testatica. Jednak sposób i miejsce w jakich maszyny te zostały zbudowane owiane są mgłą tajemniczości. Nie jest mi jednak wiadomym aby sam Baumann kiedykolwiek twierdził, że osobiście wynalazł Testatica lub że je osobiście zbudował - chociaż inni ludzie przypisywali wynalezienie i zbudowanie tych maszyn właśnie jemu. "Testatica" budowane były jako jednotarczowe telekinetyczne influenzmaschine, których zasada działania opierała się na maszynie elektrostatycznej Töplera (tj. te influenzmaschine posiadały tylko po jednej tarczy, zaś funkcję ich drugiej tarczy wypełniały nieruchome elektrody). Istniały aż dwa egzemplarze "Testatica", działające do dzisiaj w Methernitha, produkujące po około 200 Watt energii elektrycznej każdy.
       Około 1983 roku, wspierany już siłami 7-osobowego zespołu rozwojowego z Methernithy, Paul Baumann zbudował drugi model telekinetycznej influenzmaschine. Nie jest mi jednak wiadome z całą pewnością, czy w skład owego zespołu wchodził pomocnik Brosana, czyli ów tajemniczy Nitschel. Niemniej plotki które słyszałem zdają się to sugerować. Maszyna zbudowana tym razem była dwutarczowa. Paul Baumann nazwał ją Thesta-Distatica - patrz jej wygląd pokazany poniżej na zdjęciu "Fot. #D1". Wyjaśnienie dla pochodzenia nazwy "Thesta-Distatica" które mi przedstawiono w Methernitha, podaje że "Thesta" znaczy "prototyp dla testowania", "Di" znaczy dwutarczowy, zaś "statica" znaczy "oparty na oddziaływaniach elektrostatycznych". Działanie Thesta-Distatica stara się kopiować dwutarczową maszynę elektrostatyczną Wimshurst'a, aczkolwiek faktycznie od tej maszyny jest bardzo dalekie. W Methernitha twierdzono, że użycie dwóch tarcz umożliwiło lepsze powielanie ładunków elektrostatycznych i w ten sposób zwiększyło wydajność energetyczną tej maszyny. Jednak twierdzenie to wcale nie pokrywa się z prawdą ani nie leży ono w zgodzie z zasadą działania tego urządzenia (opisaną np. w podrozdziałe LA2.3.3 monografii [1/5]). Wszakże zgodnie z ową zasadą działania, wydajność owa zależy od efektywności "baterii telekinetycznej" jaka w ową maszynę została wbudowana, nie zaś od ilości czy średnicy tarcz. Ja osobiście wierzę, że Paul Baumann celowo wprowadził dwie tarcze z powodów psychologicznych. Mianowicie chciał wizualnie podkreślić odmienność zbudowanej przez siebie maszyny, od obu maszyn "Testatica" które skądś zdobył już zbudowane przez kogoś innego. Niemniej, ponieważ sam nie wiedział dokładnie jaka jest zasada działania tej maszyny, w swojej konstrukcji tak zaprojektował działanie tylniej tarczy, że jest ono dokładną kopią działania przedniej tarczy. Z kolei obie te tarcze wiernie kopiują działanie pojedynczej tarczy z maszyny "Testatica". Znaczy, pomimo że Thesta-Distatica używała dwóch tarcz, faktycznie jej działanie modelowało działanie dwóch maszyn "Testatica", tyle że złożonych ze sobą w formę pojedyńczej maszyny.
       Ciekawostką Thesta-Distatica może być, że istnieje w niej aż kilka szczegółów konstrukcyjnych jakie stanowią dziwne "zbiegi okoliczności". Dla przykładu, średnice obu tarcz Thesta-Distatica wynoszą 0.548 metra, tj. są dokładnie równe jednostce długości, jaką ja nazywam "kubitem kosmicznym", a jaka używana jest przez UFOnautów sekretnie okupujących Ziemię do wymiarowania ich magnokrafto-podobnych wehikułów UFO - patrz strona explain_pl.htm. Z kolei jednym z elementów tej maszyny jest "tuba" (patrz "T" na "Fot. #D2" i "Fot. #D3" z free_energy_pl.htm) identyczna do tej jaka występuje też w tzw. "piramidzie telepatycznej" podarowanej nam przez sprzyjających ludziom kosmitów. Tamta podarowana ludziom "tuba" pokazana jest na "Rys. #2" ze strony telepathy_pl.htm.
       Wszystkie znaki na ziemi i na niebie wskazują, że po zbudowaniu "Thesta-Distatica" Nitschel z jakichś tam powodów opuścił Methernithę. Zapewne to on założył w pobliskim miasteczku Thun ową jedno-osobową konkurencyjną grupę zwaną Vene, nazwa której stanowiła skrót od słów: Vereinigung Erforschung Natürlicher Energie (adres w 1991 roku: Vene, Postfach 334, Ch-3606, Thun, Switzerland). Potem owa Vene wyraźnie rywalizowała z grupą Methernitha. Owa grupa "Vene" usiłowała uruchomić seryjną produkcję dwutarczowych maszyn telekinetycznych podobnych do Thesta-Distatica, oraz zbijać majątek na sprzedaży owych maszyn. Z jakichś jednak powodów, które naukowo zapewne byłyby tłumaczone np. brakiem kapitału oraz brakiem możliwości wykonawczych podobnych do tych którymi dysponowała Methernitha (które to warunki nieco wcześniej zapewnił Nitschelowi Bela Brosan), spowodowała że grupa Vene NIE zdołała wyprodukować do końca nawet jednej działającej takiej maszyny. (Wiadomo że grupa ta podejmowała budowę aż kilku kolejnych prototypów owej maszyny - patrz "Fot. #E2" z dalszej części tej strony.)
       W 1991 roku Paul Baumann wraz z już tym razem nowym zespołem rozwojowym rozpoczęli realizację trzeciego modelu (a czwartego urządzenia) ich telekinetycznych infuenzmaschines. Ja nigdzie nie natknąłem się jeszcze na publikacje opisujące jego szczegóły konstrukcyjne i parametry pracy. Niemniej obiło mi się o uszy, że była to gigantyczna maszyna telekinetyczna. Przykładowo, jej dwie tarcze miały podobno średnice około 2.2 metra (tj. 4-ch "kubitów kosmicznych"). Niestety, z tego co usłyszałem, budowa tego ogromnego urządzenia telekinetyki nigdy nie zakończyła się sukcesem. Na przekór więc że Methernitha miała w swoim posiadaniu trzy gotowe urządzenia telekinetyki, znaczy miała dwie "Testatica", oraz jedną "Thesta-Distatica", a także na przekór że owym zespołem rozwojowym kierował sam Paul Baumann którego uważa się za budowniczego owych urządzeń, zespół rozwojowy Methernitha ciągle NIE był w stanie doprowadzić do zadziałania owego czwartego urządzenia telekinetyki. (Tj. wprawdzie zespół ten zdołał je zbudować, jednak nie był w stanie tak je dostroić aby zadziałało.) Jak więc fakt ten zdaje się sugerować, w czasach budowy tego czwartego urządzenia telekinetyki, w składzie zespołu Methernithy wyraźnie brakowało wiedzy i doświadczenia owego tajemniczego Nitschel'a (tj. pomocnika Beli Brosana).


#J3. Moje własne teoretyczne prace rozwojowe (tj. prace dra inż. Jana Pająka) nad telekinetycznymi generatorami darmowej energii:

       Jak to wyjaśniłem powyżej, ja sam jestem trzecim z kolei wynalazcą telekinetycznej influenzmaschine. Mój wynalazek początkowo został zrodzony nie z chęci jej osobistego zbudowania, a z potrzeby opisania tej maszyny w pierwszym wydaniu mojej monografii [6]. Dopiero po teoretycznym rozpracowaniu szczegółów tej maszyny i po upewnieniu się że wiem dokładnie jak ją zbudować, zdecydowałem się podjąć próby uruchomienia jej produkcji fabrycznej - tak jak to opisuję w punkcie #F1 powyżej. Niestety, los przerwał te moje próby tuż przed tym jak zabierałem się za zbudowanie jej pierwszego prototypu produkcyjnego. Oto więc historia mojego wynalazku tej maszyny.
       W 1989 roku opracowywałem pierwsze wydanie swej monografii [6] o generatorach darmowej energii. Uważałem więc za swój obowiązek opisanie w [6] także owej niezwykłej maszyny telekinetycznej. Niestety, nie posiadałem o niej żadnej innej informacji, poza króciutką wzmianką o tej słynnej Testa-Distatica z [2K2.3.1] czasopisma Raum & Zeit, (nr 34, Juni/Juli 1988, strona 94). Znając jednakże działanie "efektu telekinetycznego", ogólną budowę agregatów telekinetycznych, oraz zasadę maszyny elektrostatycznej Wimshurst'a, zdołałem rozpracować i opisać w monografii [6], jak moja własna telekinetyczna influenzmaschine powinna działać. Następująca w dwa lata później wizyta u Methernitha potwierdziła, że wszystkie kluczowe szczegóły swojej hipotetycznej maszyny przewidziałem i zaprojektowałem w bardzo podobny sposób jak są one zrealizowane w już działającym modelu Thesta-Distatica. Ponowne wynalezienie influenzmaschine przeze mnie jeszcze raz potwierdza istniejącą regularność, że kiedy właściwy czas na określony wynalazek nadchodzi, wtedy wielu ludzi jest przez jakąś tajemniczą siłę zainspirowanych aby wynalazek ten sformułować zupełnie niezależnie od siebie. To zaś można interpretować jako potwierdzenie, że wynalazki stanowią rodzaj daru adresowanego dla całej ludzkości, nie zaś tylko dla osób które je pierwsze rozpracowały. W chwili obecnej, kiedy za sprawką okupujących Ziemię mrocznych mocy upowszechnianie się informacji o telekinetycznych maszynach Methernithy zostało skutecznie zablokowane, rozumiem że to na mnie zaczęła teraz spoczywać odpowiedzialność za upowszechnienie idei, zasady działania i konstrukcji tych maszyn telekinetycznych, a w ten sposób za uratowanie ich od popadnięcia w zapomnienie i za zainspirowanie innych ludzi do podjęcia ich budowy.
       Po szczegółowym zaprojektowaniu i opisaniu w monografii [6] budowy i działania wynalezionej przez siebie telekinetycznej influenzmaschine, podjąłem przygotowania do zbudowania jej prototypu i do wdrożenia tego prototypu do seryjnej produkcji fabrycznej. Niestety, kiedy wszystko było już gotowe do rozpoczęcia budowy tego prototypu, nagle staciłem pracę naukowca. Moje plany musiały więc zostać zaniechane - tak jak to opisałem w punkcie #F1 z tej strony. Na szczęście, tamte przygotowania do zbudowania owego prototypu nie poszły na marne. Obecnie mam bowiem gotowe plany jak do budowy tej maszyny należy się zabrać. Plany te mogę więc teraz opublikować na niniejszej stronie.
       Powinienem tutaj dodać, że ja wcale NIE należę do grupy osób które "poniosły klęskę" w próbach zbudowania telekinetycznej influenzmaschine - tak jak to opisuje punkt #E2 tej strony. Wszakże mi nigdy NIE dana była szansa choćby rozpoczęcia takiej budowy. Zawsze byłem przez kogoś celowo powstrzymywany przed owym rozpoczęciem. Owe mroczne moce która bez przerwy i usilnie mnie powstrzymuje przed podjęciem budowy licznych urządzeń mojego wynalazku, w punkcie K3 strony fe_cell_pl.htm ja nazywam bezosobowo "przekleństwem wynalazców". Jednak tak naprawdę to wcale nie jest to bezosobowe przekleństwo, a konkretni ludzie i konkretne instytucje które ja jestem w stanie wskazać palcami. W przypadku Nowej Zelandii i Australii ich działanie jest znacznie silniejsze niż w jakimkolwiek innym wysoko rozwiniętym kraju na świecie. To właśnie z powodu ich nieustannego działania ani Nowa Zelandia ani też Australia dotychczas nie dołożyła niczego przełomowego do dorobku technicznego naszej cywilizacji, co byłoby do końca urzeczywistnione w danym kraju. I to na przekór że w obu owych krajach rodzi się zadziwiająco dużo nowych idei. Albo bowiem owe mroczne moce zmuszają twórców nowych idei do opuszczenia swego kraju i do rozwijania swoich idei na obczyźnie - tak jak to się stało z nowozelandzkim geniuszem o nazwisku Ernst Rutherford. Albo też usiłują oni coś osiągnąć w swoim własnym kraju, jednak owo "przekleństwo wynalazców" powoduje że ponoszą oni klęskę z rąk swoich własnych rodaków - tak jak stało to się z Richard'dem Pearse opisanym na stronie mozajski.htm - o twórcy pierwszego samolotu na Ziemi, oraz z Peter'em Daysh Davey opisanym na stronie boiler_pl.htm - o twórcy niezwykłej grzałki elektrycznej. Właśnie owa potęga z jakim "przekleństwo wynalazców" ujawnia swoje działanie w Australii i w Nowej Zelandii, jest jednym z czynników dla których na stronie tfz_pl.htm - o konieczności ustanowienia na Ziemi "strefy wolnej od telekinezy" proponuję aby to w owych dwóch krajach ustanowiona została ta "strefa wolna od telekinezy" (tj. strefa na obszarze której użycie lub import opisywanych tutaj "urządzeń telekinetyki" byłoby całkowicie zakazane).
       Metody i zasady z pomocą których wynalazcy mogą się efektywnie bronić przed następstwami zadziałania "przekleństwa wynalazców" (a także przed następstwami wynikającej z tego przekleństwa tzw. "wynalazczej impotencji") opisałem już dokładniej na swoich stronach internetowych - ku nauce innych wynalazców. Wyjaśnienie jak urzeczywistniać taką obronę czytelnik znajdzie w punktach #H1 do #H3 totaliztycznej strony internetowej o nazwie eco_cars_pl.htm.
       Zasadnicza różnica pomiędzy mną a innymi budowniczymi i badaczami urządzeń telekinetyki polega na tym, że ja poznałem dokładnie zasadę działania owych urządzeń. Znam też podstawowe zjawiska na których działanie tych urzadzeń się opiera. Ponadto moje doświadczenie zawodowego naukowca i wykładowcy uczelni wyższej pozwala mi aby dokładnie opisać tą budowę i działanie, a w ten sposób aby zaispirować innych ludzi do podjęcia budowy owych cudownych maszyn. W końcu filozofia totalizmu którą wyznaję pozwala mi dokonywać tego wszystkiego na zupełnie altruistycznych zasadach, znaczy szczerze i dokładnie opisywać budowę i działanie maszyn telekinetyki dla dobra ludzkości, czyli bez zatajanie czegokolwiek oraz bez starania się aby czerpać z tego tytułu jakiekolwiek korzyści materialne.


Część #K: Wyciągnijmy wnioski z lekcji historii którą Bóg zechciał nam udzielić powyższym ukształtowaniem losów telekinetycznych influenzmaschines:

      

#K1. Jakie nauki wynikają z dotychczasowych losów telekinetycznych influenzmaschines:

       Nasza religia prezentuje nam Boga jako rodzaj 2000-letniego, ludzko wyglądającego staruszka, który głównie zajmuje się przebaczaniem nam grzechów i nie bardzo ma już czas na właściwe pokierowanie losami wszechświata. Dlatego zgodnie z religiami prowadzenie większości spraw świata fizycznego ów Bóg-staruszek zlecił ziemskim instytucjom religijnym. Tymczasem teoria wszystkiego zwana Konceptem Dipolarnej Grawitacji ujawnia nam zupełnie odmienny obraz Boga. Zgodnie z ową "teorią wszystkiego" Bóg faktycznie jest rodzajem ogromnego niewybaczającego naturalnego programu, który z iście "żelazną ręką" kontroluje praktycznie wszystko co dzieje się w całym wszechświecie, począwszy od zachowania cząsteczek elementarnych w atomach, poprzez stworzenie, danie życia i sterowanie losami każdej żywej istoty, oraz skończywszy na tworzeniu i na niszczeniu ogromnych galaktyk. Relatywnie dobre rozeznanie jak ów Bóg z Konceptu Dipolarnej Grawitacji faktycznie wygląda i działa, dają opisy zaczynające się na punkcie #B1 ze strony evolution_pl.htm - o prawdzie na temat ewolucji. Oczywiście, zgodnie z ową "teorią wszystkiego", ów faktyczny i wszechmocny Bóg nie tylko że kieruje losami wszystkiego, ale dodatkowo czyni to w taki sposób aby z wielu możliwych przebiegów jakie losy wszystkiego mogą przyjmować, zawsze realizowany był przebieg który nam ludziom dostarcza moralnie najbardziej edukującej lekcji do przeanalizowania. Taki zaś maksymalnie "edukujący" przebieg losów wszystkiego oznacza, że również dotychczasowe losy "telekinetycznej influenzmaschine" celowo były pokierowane przez Boga w sposób w jaki je obecnie widzimy. Naszym więc zadaniem jest teraz poznanie lekcji moralnej jaką za pośrednictwem losów owej maszyny ów wszechmocny i wszechwiedzący Bóg zechciał nam udzielić.
       Bóg był w stanie pokierować dotychczasowymi losami telekinetycznych influenzmaschines na cały szereg najróżniejszych sposobów. Jednak w swojej nieskończonej mądrości Bóg ukształtował losy tych maszyn na bardzo intrygujący wzór jaki opisałem w części #J powyżej. Oczywiście, przez takie właśnie a nie inne pokierowanie tymi losami, Bóg definitywnie chciał nam przekazać jakąś istotną lekcję moralną. Aby poznać jaka to lekcja, przeanalizujmy teraz jej podstawowe składowe.
       1. Następstwa okrywania tajemnicą szczegółów technicznych owych maszyn. Faktycznie każdy z oryginalnych budowniczych telekinetycznych influenzmaschines okrywał tajemnicą szczegóły techniczne budowanych przez siebie maszyn. Dlatego ani Bela Brosan, ani Nitschel, ani też Paul Baumann NIE zostawili ludzkości dokładnych wytycznych jak budować owe maszyny. Poza kilku generalnymi stwierdzeniami, oraz poza kilku zdjęciami, faktycznie nasza cywilizacja zupełnie NIE ma dokumentacji wykonawczej dla owych maszyn. Co gorsza, każdy z owych oryginalnych budowniczych telekinetycznych influenzmaschine umarł nie później niż w kilka lat po zbudowaniu swoich maszyn. Z chwilą zaś śmierci owych oryginalnych budowniczych zaginęła też na dobre i owa tajemnica budowy i działania owych niezwykłych maszyn. Powyższe wskazuje że pierwszą lekcją moralną którą Bóg chce nam udzielić, to że "ci wszyscy twórczy ludzie którzy rozpracowują zupełnie nowe wynalazki mają moralny obowiązek aby dokładnie informować resztę naszej cywlizacji o każdem istotnym szczególe swoich wynalazków". W przypadku zaś jeśli będą oni utrzymywali w tajemnicy jakieś istotne szczegóły swojego wynalazku, wówczas ich wynalazek będzie ludzkości zabrany.
       2. Pokierowanie moich własnych losów tak abym ponownie wynalazł telekinetyczne influeznaschines oraz inne urządzenia telekinetyki. W mojej opinii wcale NIE jest przypadkiem, że Bóg tak pokierował losami telekinetycznych influenzmaschine, że to mi przypadł w udziale zaszczyt i odpowiedzialność ponownego wynalezienia i upowszechnienia budowy i zasady działania owych maszyn. Wszakże moje poglądy na temat wynalazków cechują się kilkoma kanonami, które wcale dotychczas NIE były ani rozumiane, ani też przestrzegane na Ziemi. Najważniejszym z owych kanonów jest, że "dokładne opisy techniczne każdego wynalazku na Ziemi powinny być udostępniane bez żadnych ograniczeń każdej osobie na Ziemi która tylko zechce je poznać". Uzasadnienie dla owego kanonu podałem w punkcie #G1 totaliztycznej strony internetowej boiler_pl.htm - o twórcy i losach niezwykłej grzałki elektrycznej. Kolejnym relatywnie istotnym kanonem jest że "faktycznym celem życia każdego człowieka jest uzyskanie szczęścia". Dlatego celem rządów poszczególnych państw wcale NIE powinno być obecne "pilnowanie istniejącego status-quo", a powinno się stać "pomaganie ludziom w maksymilizacji ich szczęścia osobistego" - co wyjaśniam dokładniej na stronie partia_totalizmu.htm - o ideologii wiecznej szczęśliwości wszystkich ludzi. Aby zaś ludzie mogli łatwo uzniezależniać się od despotycznych rządów i od tyrańskich polityków którzy staraliby się utrzymywać ludzkość siłą przy starych ideologiach, koniecznym się staje aby każda osoba na Ziemi była w stanie sama sobie budować urządzenia telekinetyki które dostarczałyby jej wszelką energię którą osoba ta potrzebuje. (Na dodatek do dostępności w każdym sklepie fabrycznie produkowanych takich urządzeń.) Stąd kolejnym przekazem moralnym który Bóg nam ujawnia poprzez oddanie losów urządzeń telekinetycznych w moje ręce, jest że dokładne opisy działania i wytyczne budwania urządzeń telekinetyki powinny być dostępne bez przeszkód dla praktycznie każdej osoby na Ziemi.
       3. Obdarzenie tą maszyną członków religijnej komuny Methernitha. Moim zdaniem, wcale też NIE jest przypadkiem że wszystkie oryginalne telekinetyczne influenzmaschines wylądowały w religijnej komunie Methernitha. W mojej opinii ten fakt jest rodzajem symbolicznego przekazu od Boga czemu owe maszyny mają faktycznie służyć. Mianowicie, jak to wyjaśniam na stronie nirvana_pl.htm - o zastąpieniu dzisiejszego wynagradzania pracy pieniędzmi, wynagradzaniem totaliztyczną nirwaną, celem Boga w udostępnieniu ludzkości maszyn które będą dostarczały ludziom darmowej energii, jest że ludzie ci drastycznie zmienią metody działania społeczeństw. Zamiast więc dzisiejszych społeczeństw bazujących na państwowości, wymuszaniu pracy od ludzi, oraz na pieniądzach, Bóg nakazuje nam zacząć żyć na wzór pierwszych komun chrześcijańskich, w których praca dla innych miałaby ochotniczy charakter, zaś wynagrodzeniem za ową pracę byłoby osiąganie totaliztycznej nirwany. Omawiane tutaj maszyny telekinetyki dostarczaja właśnie ludzkości technicznego zaplecza dla dokonania takiej zmiany. Z kolei wzorcem dla owej zmiany jest religijna komuna Methernitha której opiece Bóg powierzył owe cudowne maszyny.
       Powyższe składowe lekcji moralnej którą Bóg stara się nam udzielić za pośrednictwem omawianej tutaj maszyny ujawniają dokładnie co powinniśmy czynić aby Bóg pozwolił nam zbudować owe maszyny i korzystać z dobrodziejstw które przyniosą one naszej cywilizacji.


#K2. Jak więc powinniśmy poprowadzić budowę i rozwój maszyn telekinetyki aby Bóg pozwolił nam zbudować te potrzebne ludzkości urządzenia:

       Receptura na przyjęcie takiego podejścia do budowy telekinetycznej influenzmaschine, aby budowa ta zakończyła się całkowitym sukcesem, jest bardzo proste. Wystarczy po prostu że z dotychczasowych losów owej maszyny wyciągniemy wnioski jak Bóg sobie życzy abyśmy maszynę tą budowali. Następnie w swoim podejściu do budowy tej maszyny musimy po prostu zrealizować to czego Bóg od nas w związku z nią się domaga, a co implikuje opisanym w poprzednim punkcie #K1 sposobem na jaki pokierował On jej dotychczasowymi losami.
       Analiza losów telekinetycznych influenzmaschines, dokonana w poprzednim punkcie #K1 wskazuje, że maszyny te dadzą się zbudować na Ziemi jeśli (a) żaden z ich istotnych szczegółów technicznych NIE będzie utrzymywany w tajemnicy, a wszystko na temat budowy i działania owych maszyn będzie dostępne dla każdej zainteresowanej osoby, (b) opisy sposobów budowania owych maszyn będą na tyle dokładne i na tyle łatwe do zdobycia, że każdy kto zechce je zbudować aby uniezależnić się od jakiejkolwiek formy opresji będzie mógł taką budowę zrealizować bez żadnych trudności technicznych, oraz (c) że za pośrednictwem owych maszyn ludziom będzie przypominane że mają obowiązek wspierania i wdrażania takich ideologii i systemów społecznych które służa maksymilizacji szczęścia oraz odejścia ludzkości od wynagradzania pracy pieniędzmi (tj. wspierania ideologii i systemów społecznych nastawionych na "maksymilizację szczęścia", a opisywanych na stronie partia_totalizmu.htm - o ideologii wiecznej szczęśliwości wszystkich ludzi).


Część #L: "Telekinetyka" to nie tylko "baterie telekinetyczne" oraz "urządzenia darmowej energii":

      

#L1. Dyscyplina zwana "telekinetyka" to droga do całego oceanu korzyści naukowych i światopoglądowych, które ludzkość odniesie z opanowania techniki bazującej na zachowaniach "przeciw-materii":

       Na odrębnej stronie o nazwie dipolar_gravity_pl.htm wyjaśnione zostało, że niezależnie od "naszego świata fizycznego", na drugim końcu dipola grawitacyjnego istnieje cały ogromny "przeciw-świat" zapełniony unikalnym, wiecznie ruchliwym płynem zwanym "przeciw-materia". Opisywana w punkcie #C1 niniejszej strony "totaliztyczna nauka" otworzy techniczne wykorzystanie owej "przeciw-materii" do budowania niezwykłych urządzeń przyszłości, takich jak komór oscylacyjnych wszystkich trzech generacji, wehikułów telekinetycznych, czy nawet wehikułów czasu. Dlatego "baterie telekinetyczne" oraz "urządzenia darmowej energii" to jedynie początek nowej dyscypliny totaliztycznej nauki zwanej "telekinetyka".


Część #M: Jakich nieszczęść nasza cywilizacja uniknie jeśli zdobędzie się na oficjalne powołanie dwóch "nawzajem konkurencyjnych" nauk, tj. na dodanie dotychczasowej "ateistycznej nauce ortodoksyjnej" konkurencji w postaci nowej "nauki totaliztycznej" która wypracuje i wdroży energetyczne urządzenia telekinetyki:

      

#M1. Uniknięcie dalszych katastrof nuklearnych - w rodzaju owych eksplozji czterech reaktorów atomowych w Fukushima z Japonii po trzęsieniu ziemi z piątku dnia 11 marca 2011 roku:

       W dzisiejszych czasach "reaktory atomowe" są najniebezpieczniejszymi urządzeniami "codziennego użytku" znajdującymi się na naszej planecie. Jak niebezpieczne one są, dowiodło tego już aż kilka "wypadków" z owymi reaktorami, przykładowo katastrofa w Czernobylu na Ukrainie z 26 kwietnia 1986 roku, czy niedawna katastrofa w Fukushima z Japonii po trzęsieniu ziemi z piątku dnia 11 marca 2011 roku. Jeśli więc ktoś buduje już aż tak niebezpieczne urządzenia, wszyscy by się spodziewali że "bezpieczeństwo" będzie najważniejszym celem do spełnienia podczas projektowania ich konstrukcji. Tymczasem kiedy ja przeanalizowałem konstrukcje owych czterech reaktorów japońskich które eksplodowały po trzęsieniu ziemi z piątku dnia 11 marca 2011 roku, wówczas na przekór iż NIE jestem ekspertem atomistyki, wykryłem w nich aż kilka kardynalnych błędów konstrukcyjnych, które są tak elementarne i tak oczywiste, że wręcz nakłaniają one do pytania "jakiż to 'inżynier' projektował owe reaktory atomowe". Wszakże owe kardynalne błędy konstrukcyjne wyglądają tak jakby ktoś celowo tak zaprojektował te reaktory aby mieć pewność że ktoregoś dnia spowodoują one nieszczęścia. Jeśli bowiem ktoś by nałożył warunek "jak należy zbudować reaktory atomowe aby były one możliwie najniebezpieczniejsze i aby z całą pewnością kiedyś eksplodowały", wówczas ów warunek byłby spełniony w tamtych japońskich reaktorach. W rezultacie, reaktory te były "nieszczęściem czekającym tylko na okazję aby się wydarzyć". Wystarczyło więc trzęsienie ziemi opisane dokładniej w punkcie #C7 strony o nazwie seismograph_pl.htm, aby nieszczęście owo się urzeczywistniło.
       Wyjaśnię teraz na czym polegają owe najbardziej kardynalne błędy konstrukcyjne popełnione przy konstruowaniu tamtych czterech japońskich reaktorów atomowych. Mianowicie, w naukach projektowania istnieje coś co możnaby nazwać "najważniejszą zasadą projektowania wszelkich urządzeń o niebezpiecznym działaniu". Zasadę tą w "moich czasach" uczyli w Polsce każdego studenta iżynierii. Stwierdza ona, że "działanie niebezpiecznych urządzeń musi zawsze być tak projektowane, aby w przypadku jakiejkolwiek awarii, działanie tych urządzeń natychmiast samo zaniknęło w wyniku działania jedynie sposobu na jaki zostały one skonstruowane, sił natury, oraz praw natury". To właśnie z uwagi na ową zasadę, przykładowo prasy i maszyny które mogą pourywać ręce swojego operatora, należy tak projektować aby ich niebezpieczne działanie dało się włączyć tylko jeśli ów operator właśnie naciska dwa odległe od siebie guziki włączające oboma swymi rękami naraz. To także z powodu tej zasady, woda w nowoczesnych zaporach jest spiętrzana wyłącznie przez wagę i stabilny kształt owej zapory. Odnosząc tą zasadę do omawianych tu reaktorów atomowych, ich konstrukcja i działanie pownno być tak zaprojektowane, że w przypadku jakiejkolwiek awarii, siły grawitacyjne i prawa reakcji atomowych samoczynnie zastopowałyby ich działanie. Tymczasem nawet pobieżna analiza konstrukcji owych reaktorów ujawnia, że zostały one tak zaprojektowane, iż w przypadku awarii, siły grawitacyjne i prawa reakcji jądrowych powodowały eskalowanie ich działania, zamiast ich stopowanie. Dlatego ja osobiście NIE rozumiem, od czego jest tzw. "Agencja Energii Atomowej" oraz owi niezliczeni doskonale płatni "eksperci", jeśli NIE zweryfikowali oni owych kardynalnych wad konstrukcyjnych i NIE zatrzymali budowy tak wadliwych reaktorów.
       Aby przypomnieć tutaj działanie reaktora atomowego, to polega ono na wsuwaniu prętów "paliwa atomowego" do specjalnej metalowej obudowy po angielsku zwanej "core". (Jeśli dobrze zostałem poinformowany, to w polskiej atomistyce "core" tlumaczy się jako "rdzeń".) Po ich wsunięciu, całkowita masa owego paliwa jądrowego zaczyna przekraczać tzw. "masę krytyczną" - co inicjuje reakcję jądrową. Aby zaś reakcją jądrową można było sterować, niezależnie od prętów paliwowych, do owego "rdzenia" wsuwane lub wysuwane są też dodatkowe "pręty sterujące" które absorbują neutrony i w ten sposób zatrzymują reakcję jądrową. Aby więc reakcję jądrową zintensyfikować, trzeba do reaktora wsunąć "pręty paliwowe", zaś wysunąć owe "pręty sterujące". Z kolei aby reakcję jądrową wyciszyć lub zatrzymać, do reaktora trzeba wsunąć owe "pręty sterujące" zaś wysunąć z niego owe "pręty paliwowe".
       Jeśli więc ktoś projektuje reaktor atomowy, wówczas aby spełnić powyżej opisaną "najważniejszą zasadę projektowania wszelkich urządzeń o niebezpiecznym działaniu", powinien tak reaktor ten zaprojektować, żeby "pręty paliwowe" wsuwane były do "rdzenia" reaktora "od spodu", zaś "pręty sterujące" wsuwane tam były "od góry". W przypadku bowiem jakiejkolwiek awarii, kiedy to urządzenia sterujące reaktorem przestaną działać, zwykłe siły grawitacji spowodowalyby, że "pręty sterujące" same zaczęłyby zsuwać się w dół do "rdzenia" - w ten sposób wyciszając reakcję jądrową, natomiast pręty paliwowe same zaczęłyby wysuwać się w dół z owego "rdzenia" - w ten sposób dodatkowo wyciszając reakcję jądrową.
       Schemat owych czterech reaktorów z Fukushima które eksplodowały w Japonii, opublikowany został w artykule [1#M1] "Growing terror" (tj. "Rosnący strach") ze strony A2 gazety The New Zealand Herald, wydanie ze środy (Wednesday), March 16, 2011. Co mnie w schemacie tym natychmiast uderzyło, to że w japońskich reaktorach wsuwanie obu rodzajów prętów następowało w dokładnie przeciwny do logiki sposób. Mianowicie, "pręty sterujące" wsuwane były od spodu, zaś "prety paliwowe" wsuwane były od góry. W rezultacie, kiedy trzęsienie ziemi uszkodziło urządzenia wsuwające i wysuwające owe pręty, siły grawitacji i ciepło spowodowały że "pręty sterujące" same się wysunęły - intensyfikując w ten sposób reakcję jądrową, zaś "pręty paliwowe" same się dodatkowo powsuwały" - reakcję tą jeszcze bardziej zaogniając. Na dodatek do tego, kolejnym "kardynalnym błędem konstrukcyjnym" owych reaktorów było, że sam "rdzeń" był zaprojektowany w formie pionowego pojemnika cylindrycznego o wklęśle zaokrąglonym dnie. Kiedy więc owo niekontrolowane intensyfikowanie reakcji jądrowej spowodowało stopienie się paliwa jądrowego i jego spłynięcie na spód "rdzenia", zaokrąglony spód owego cylindrycznego pojemnika spowodował zgromadzenie się w nim i zespolenie razem całego stopionego paliwa jądrowego - tak że paliwo to przekroczyło ową "masę krytyczną" i zamieniło reaktor w "bombę atomową spowolnionego działania". Nic dziwnego że następstwa były takie jakie były. Oczywiście, nieszczęścia spowodowane przez te reaktory można było prosto pomniejszyć, gdyby spody ich "rdzenia", zamiast kształtu wklęsłych kulistych pojemników czaszowatych skupiających w sobie paliwo jądrowe, otrzymały kształty wypukłych gwiazd które by rozczłonkowywały to paliwo na szereg podkrytycznych mas.
       Co mnie zastanawia, to kto weryfikował konstrukcję owych reaktorów zawierającą w sobie aż tyle "kardynalnych błędów konstrukcyjnych" i kto dopuścił aby reaktory te były wogóle zbudowane. Chociaż bowiem istnieje tzw. "Agencja Energii Atomowej", co naprawdę owa agencja czyni pozostaje sekretem jakiego nikomu postronnemu nie udaje się zgłębić. Kiedy odwiedzałem Polskę w niedługi czas po katastrofie nuklearnej w Czernobylu na Ukrainie z dnia 26 kwietnia 1986 roku, w telewziji i gazetach ówczesnej Polski prowadzona była intensywna kampania argumentująca że owa "Agencja Energii Atomowej" jest organizacją sekretywną, hermetycznie zamkniętą, unikającą ujawniania prawdy, ukrywającą liczne popełniane błędy i w sumie działającą na szkodę ludzkości oraz narodów którym jakoby ma ona służyć. Jako zaś taka, agencja ta powinna natychmiast zostać rozwiązania. Jak jednak wiemy, agencja ta NIE została rozwiązana. Z kolei artykuły w rodzaju [2#M1] "Secretive nuclear industry hard to trust" (tj. "Utrzymującemu sekrety przemysłowi jądrowemu trudno zaufać") ze strony A15 gazety The New Zealand Herald, (wydanie z czwartku (Thursday), March 17, 2011) ujawniają że nadal działa ona na swoje dawne sposoby. W rezultacie, ogromnie rzadko można spotkać kogoś, kto faktycznie popiera rozwój energii atomowej. Energia ta zrodziła się wszakże z wojny, sekretów i zniszczenia, oraz do dzisiaj utrzymuje tradycje wojowniczości, sekretów, okłamywania i niszczenia. Innymi słowy, energia atomowa jest najdokonalszą ilustracją wyjaśnionej w punkcie #C1 tej strony palącej konieczności, aby dla dotychczasowej "ateistycznej nauki ortodoksyjnej" jak najszybciej stworzyć moralniejszą od niej "konkurencję" która by "patrzyła jej na ręce" oraz otwierała do publicznego wglądu jej niemoralne i kłamliwe metody działania.
       Kiedy ja studiowałem w Polsce w czasach komunistycznych, ówcześni studenci "nabijali się" z tzw. "dyplomowych kursów partyjnych" które starannie wybranym "działaczom" dawały dyplomy "magistra" lub "inżyniera" po zaledwie krótkim przeszkoleniu. Faktycznie też, jeśli ktoś przeanalizuje niektóre Zachodnie systemy edukacyjne - co jest dokonane m.in. w punkcie #E1 strony rok.htm, to okazuje się że rzeczywiście są one jak owe "kursy partyjne" z czasów komunizmu - tj. "rozdają" dyplomy inżynierskie niedouczonym aspirantom po nawet krótszym przeszkoleniu niż kiedyś w Polsce trzeba było się szkolić aby nabyć prawa "kreślarza" a nie "inżyniera". Osobiście mam wrażenie że owe japońskie reaktory jądrowe projektowali i weryfikowali właśnie "inżynierowie" zaraz po ukończeniu takiego rodzaju "inżynierskiej edukacji".
       Po odkryciu że japońskie reaktory jądrowe kryją w sobie aż tak kardynalne usterki konstrukcyjne, zaglądnąłem do konstrukcji "typowego reaktora jądrowego" opublikowanej na stronie 585 z tomu 14 (dla litery "N" i dla hasla "Nuclear Energy") Amerykańskiej encyklopedii [3#M1] o tytule "The World Book Encyclopaedia" (World Book, Inc., Chicago, USA, 2003, ISBN 0-7166-0103-6). Z szokiem wówczas stwierdziłem, że tamta konstrukcja reaktorów japońskich jest "typową" konstrukcją tych urządzeń, oraz że na świecie dosłownie aż się roi od tak samo wadliwych reaktorów atomowych. Ten fakt wzajemnego podobieństwa wad wszystkich reaktorów jest zresztą potwierdzony inną katastrofą atomową która miała miejsce w dniu w dniu 28 marca 1979 roku w reaktorze z "Three Mile Island" z Harrisburg koło Waszyngtonu DC. Tam również przebieg katastrofy był niemal identyczny jak ów niedawny z Fukushima w Japonii - tyle że zainicjowany został nieco innym powodem niż trzęsienie ziemi. Innymi słowy, tamten kataklizm jądrowy z Japonii wcale NIE jest już ostatnim, zaś przy okazji następnego dużego trzęsienia ziemi, lub jakiegoś innego nieszczęścia, możemy się spodziewać następnych podobnych nuklearnych kataklizmów w całym szeregu dalszych krajów Zachodu.
       Powinienem tu dodać, że opisywane tutaj "kardynalne błędy konstrukcyjne" które sporo dzisiejszych reaktorów jądrowych Zachodu zamieniają w "bomby jądrowe jakie tylko czekają na okazję aby eksplodować", streszczone też zostały w punkcie #C7 totaliztycznej strony o nazwie seismograph_pl.htm.

Fot. #M1: słynne plastykowe kaczątko
Fot. #M1: Fotografia "plastykowego kaczątka" które ja (tj. dr inż. Jan Pająk) znalazłem w dniu 29 kwietnia 2011 roku wymyte falami sztormu na plażę w miejscowości Petone, Nowa Zelandia, niedaleko od mojego mieszkania. (Dokładniejsze objaśnienie zlokalizowania Petone można znaleźć w punkcie #I3 mojej strony o nazwie day26_pl.htm.) Z powodów które opiszę poniżej, to niezwykłe "kaczątko" jest ilustratywnym dowodem jak fałszywe i jak błędne są zapewnienia dzisiejszych polityków, przytakiwanych biernością i milczeniem naukowców, że katastrofa nuklearna z Fukushima w Japonii ma zasięg wyłącznie lokalny i wcale jakoby NIE zagraża mieszkańcom innych krajów. Dla oddania wielkości tego kaczątka, wraz z nim sfotografowałem też nowozelandzką monetę 2-dolarową z 2002 roku, o średnicy 26 mm.
       Historia powyższego kaczątka jest szczególnie niezwykła. Mianowicie, w 1992 roku burza na oceanie zerwała kontainer ze statku przewożącego około 29000 takich kaczątek od producenta w Chinach do nabywców w USA. Stąd 29000 takich kaczątek znalazło się w wodach Oceanu Atlantyckiego w pobliżu wschodnich wybrzeży USA. Stamtąd prądy morskie, szczególnie tzw. "Gulf Stream", zaczęły je dryftować po całym świecie. Wkrótce ludzie zaczęli je znajdować w najbardziej niespodziewanych miejscach świata. To spowodowało, że "kaczątka" owe stały się sławne na cały świat. Do dzisiaj na ich temat pojawiły się w internecie już miliony informacji. Przykładowo, kiedy w dniu 1 maja 2011 wpisałem do www.google.com słowa kluczowe plastic duckies floating in ocean, w odpowiedzi otrzymałem aż 2,140,000 wyników. Kiedy zaś tego samego dnia w polskiej wersji Google www.google.pl wpisałem słowa kluczowe plastykowe kaczki z oceanu, otrzymałem 15,400 wyników. W rezultacie tego ogromnego rozgłosu, plastykowymi kaczuszkami zainteresowali się też naukowcy USA badający ruchy prądów morskich. Naukowcy ci, tym razem już celowo, wypuścili dalszych kilka tysięcy podobnych kaczątek, każde z nich dobrze już oznakowane i ponumerowane, aby po otrzymaniu wiadomości gdzie je znaleziono móc ustalić "jak" i "dokąd" one zadryftowały niesione prądami morskimi. Badania internetowe sugerują, że praktycznie wszystkie owe kaczątka uwolnione celowo przez naukowców, także wystartowały spod wschodnich wybrzeży USA. Jeden z owych naukowców, niejaki Dr Curtis Ebbesmeyer, oferował nawet 100 dolarów każdemu kto znajdzie jego kaczątko. Kaczątkami tymi zainteresowali się również zbieracze niezwykłości. Przykładowo, w maju 2011 znalazłem informację na stronie internetowej www.nowpublic.com/ghostly_plastic_ducks_adrift_sea, że kolekcjonerzy z Anglii płacili już co najmniej 500 funtów sterlingów za autentyczny egzemplarz takiego kaczątka. Kaczątko które ja znalazłem posiada na sobie kilka cech identyfikujących, jak kolorowy emblem na przodzie (częściowo widoczny na powyższym zdjęciu), "Made in China" napis zlokalizowany na jego spodzie, oraz numer kolejny wpisany na dnie. Owe cechy pozwoliłyby dokładnie je zidentyfikować. Niestety, taka identyfikacja wymaga "detektywistycznej pracy" - dla której mi samemu brakuje czasu. Być więc może ktoś inny miałby ochotę aby tym się zająć. Ja znalazłem je w piątek dnia 29 kwietnia 2011 roku - tj. w dniu małżeństwa przyszłego króla i królowej Anglii. (Odnotuj, że taka data jego znalezienia nadaje owemu kaczątku status "szczęśliwego omenu". Wszakże dla kaczątka data ta sugeruje że związane są z nim równie "dalekosiężne perspektywy" jak dla owej pary przyszłego króla i królowej Anglii. Z kolei dla tamtej królewskiej pary moja kaczuszka dostarcza zapowiedzi, że i ich małżeństwo "jest równie dalekosiężne" jak droga owej kaczuszki przez oceany.) Moje znalezisko tej kaczuszki nastąpiło kiedy spacerowałem sobie po plaży w Petone zaraz po ustaniu nietypowo silnego i długotrwałego sztormu. Była ona wyrzucona na plażę niedaleko od miejsca z którego wykonane zostało zdjęcie pokazane jako "Fot. #C1" na stronie cloud_ufo_pl.htm. Kaczątko to leżało w grubej warstwie szczątków wymytych na petońską plażę przez fale morskie tamtego potężnego sztormu, który szalał na Wyspie Północnej Nowej Zelandii przez trzy dni poprzedzające to znalezisko, potem zaś ciągle szalał przez kilka następnych dni. Opisy następstw tego sztormu można znaleźć np. w artykule [1Fot_#M1] "Gale-force fury" (tj. "Furia potężnych wiatrów"), ze strony A1 gazety nowozelandzkiej The New Zealand Herald, wydanie ze środy (Wednesday), April 27, 2011. Ten sam potężny sztorm opisany jest też szerzej w (9) z punktu #I3 strony day26_pl.htm. Tamten niszczycielski sztorm uderzał w Welington silnymi wiatrami wiejącymi od południa, jakby wprost z Antarktydy. Najwidoczniej też owe wiatry wpędziły omawiane "plastykowe kaczątko" w wąski przesmyk skierowany właśnie ku południu, jaki łączy wellingtońską zatokę morską z Pacyfikiem. Aby więc ze wschodnich wybrzeży USA dopłynąć do plaży w Petone i być tam wymytym na ląd stały, kaczątko to musiało pokonać odległość równą niemal obwodowi kuli ziemskiej. Wszakże przepłynęło ono w swej drodze aż przez cały Ocean Atlantycki, opłynęło naokoło wybrzeży Afryki, przepłynęło cały Ocean Indyjski, przepłynęło pomiędzy Australią i Antarktydą, oraz napędzane silnymi wiatrami z południa przez w/w sztorm, dostało się przez wąskie wejście do zatoki wellingtońskiej i wylądowało na północnej plaży owej zatoki - czyli w Petone. Innymi słowy, kaczątko to "przez przypadek" dokonało "wyczynu" jaki w teorii prawdopodobieństwa wydaje się być wręcz niemożliwym do zrealizowania. Dlatego jest ono również ilustratywnym dowodem iż w naturze mogą się zdarzać rzeczy zaprzeczające logice i zdrowemu rozsądkowi. Jako takie, kaczątko to wnosi też do nauki znaczącą wymowę filozoficzną.
       Dla mnie oczywiście najwyższa wartość dowodowa owego kaczątka ma związek z nuklearną katastrofą w Fukushima z Japonii. Wynika to z faktu, że jeśli owo "kaczątko" zdołało przydryftować aż do Nowej Zelandii z tak daleka jak USA, napędzane i sterowane wyłącznie przypadkami i mechanizmami natury, to oznacza że również skażenia radioaktywne z Fukushima za kilka lat pojawią się w praktycznie każdym zakątku Ziemi. Innymi słowy, na przekór tego co oficjalnie się twierdzi, Fukushima - podobnie jak owe kaczątka, też będzie miała "globalny zasięg", a stąd zaindukuje mutacje i kalectwa rodzących się dzieci oraz zaindukuje wybuch zachorowań na raka wśród mieszkańców praktycznie każdego kontynentu i każdego kraju świata.
       Z uwagi na niezwykłość losów powyższego kaczątka, na jego ciągle relatywnie dobry stan techniczny, na jego status "talizmanu przynoszącego szczęście", a także ponieważ dla mnie kaczątko to wypełniło już swoje przeznaczenie, być może jakiś hobbysta byłby zainteresowany aby je włączyć do swoich kolekcji. (A może byłoby nim nawet zainteresowane jakieś muzeum.) Kaczątko to jestem w stanie dostarczyć wraz z moim osobistym zaświadczeniem potwierdzającym iż było ono wymyte na plaży w Petone, koło Wellington, Nowa Zelandia, a także wraz z panoramicznym zdjęciem na którym ja trzymam to kaczątko na tle krajobrazu miejsca jego znalezienia. Nie muszę tu już wyjaśniać, że poziom niezwykłości i watości eksponatowej tej "platykowej kaczuszki" znacząco podnosi też fakt, iż została ona znaleziona osobiście przez dra inż. Jana Pająk - czyli przez twórcę filozofii totalizmu oraz "treorii wszystkiego" zwanej Konceptem Dipolarnej Grawitacji, pierwszego naukowca na Ziemi który formalnie udowodnił istnienie Boga oraz istnienie nieśmiertelnej duszy, a ponadto wynalazcy Magnokraftu, Komory Oscylacyjnej, Wehikułu Czasu, oraz calego szeregu innych przyszłościowych urządzeń. Gdyby więc istniał hobbysta (czy muzeum) zainteresowany w tej kaczuszce, wówczas jestem gotowy do podjęcia z nim negocjacji w sprawie warunków nabycia tego niezwykłego kaczątka, pochodzącego przecież ze słynnej już w całym świecie rodziny.


#M1.1. "Scanariusz" katastrofy nuklearnej z Fukushima wydedukowany z wpływu jaki na zachowanie japońskich reaktorów atomowych musiały wywrzeć popełnione w nich "kardynalne błędy konstrukcyjne":

Motto: "Totalizm ostrzega, że 'najszkodliwsze błędy są popełniane przez najwyżej-płatnych ekspertów', cynicy twierdzą, że 'w interesie żyjących ze zwalczania leży aby mnożyć to co mają zwalczać', zaś Malejowie podsumowują to krótkim przysłowiem 'twoje płoty zjadają twój ryż'."

       Jeśli oglądać telewizję lub czytać gazety czy wiadomości internetowe, wówczas NIE daje się zrozumieć co faktycznie stało się z owymi reaktorami z Fukushima w Japonii. Wszakże dzisiejsi politycy nawet jeśli wiedzą co się tam dzieje, ciągle nie poinformują społeczeństwa o faktycznym stanie rzeczy z obawy aby potem ich przeciwnicy polityczni nie wykorzystali tych informacji do odsunięcia ich od władzy. Naukowcy też nawet jeśli wiedzą, będą milczeli w obawie o utratę wygodnych i dobrze płatnych posadek - tak jak to wyjaśnia punkt #C1 na początku tej strony oraz punkt #A2.6 na stronie totalizm_pl.htm. "Agencja Energii Atomowej" utrzymuje wszystko w sekrecie - z całą pewnością będzie więc milczała i w tej sprawie. Z kolei dziennikarze, wprawdzie chętnie by wyjaśnili co tam "jest grane", jednak nie znajdą nikogo na pozycji autorytetu, kto miałby odwagę aby ich właściwie poinformować. W rezultacie, dzisiejsze społeczeństwo jest jak rodzina chorych, którą lekarze jedynie karmią informacjami o "symptomach", jednak zatajają wiedzę o samej chorobie - tj. ujawniają im tylko informacje w rodzaju: wasi krewniacy mają gorączkę, krew im wypływa z oczu, itp. Wszakże właśnie taki charakter opisu "symptomów" mają wszelkie informacje dochodzące z Fukushima - przykładowo jak te ujawniane przez artykuł [1#M1.1] "It's time to pray, says nuke expert" (tj. "Czas aby zacząć teraz się modlić, stwierdził ekspert atomowy"), ze strony A1 The Dominion Post (wydanie z piątku (Friday), March 18, 2011); artykuł [2#M1.1] "WHO says contamination of food worse than thought" (tj. "World Health Organisation stwierdza że skażenia żywności gorsze niż sądzono") ze strony A16 gazety The New Zealand Herald (wydanie ze środy (Wednesday), March 23, 2011); artykuł [3#M1.1] "Fukushima workers hospitalised" (tj. "Pracownicy z Fukushima pozabierani do szpitala") ze strony A15 gazety The New Zealand Herald (wydanie z piatku (Friday), March 26, 2011); artykuł [4#M1.1] " 'Ten million times higher' radiation forces workers to flee" (tj. " 'Dziesięć milionów razy silniejsze' promieniowanie zmusza robotników do ucieczki") ze strony A1 gazety The New Zealand Herald (wydanie z poniedziałku (Monday), March 28, 2011); artykuł [5#M1.1] "Leaking plutonium adds to problems at plant" (tj. "Wyciekający pluton dodaje się do problemów z elektrownią") ze strony A19 gazety The New Zealand Herald (wydanie ze środy (Wednesday), March 30, 2011); artykuł [6#M1.1] "Radioactive dust circles Earth - but health risk low" (tj. "Pył radioaktywny otoczył Ziemię - jednak ryzyko dla zdrowia jest niewielkie"), ze strony A11 nowozelandzkiej gazety Sunday Star Times (wydanie z niedzieli (Sunday), April 3, 2011); artykuł [7#M1.1] "Radioactivity in breast milk" (tj. "Radioaktywność znaleziona w mleku z piersi kobiecych"), ze strony B9 nowozelandzkiej gazety Weekend Herald (wydanie datowane w sobotę (Saturday), April 23, 2011); czy artykuł [8#M1.1] "Radioactive beef sold in Tokyo" (tj. "radioaktywna wołowina sprzedawana w Tokio" - który opisuje sprzedaż tam wołowiny w jakiej radioaktywny izotop cezu przekracza legalny limit 6.5 razy), ze strony B6 nowozelandzkiej gazety The Dominion Post (wydanie z piątku (Friday), July 15, 2011); itd., itp. - po więcej informacji patrz punkty #F1 do #F4 strony o nazwie cooking_pl.htm. Tymczasem tylko na bazie opisanych powyżej "kardynalnych błędów konstrukcyjnych" tamtych reaktorów japońskich, już obecnie daje się relatywnie dobrze wydedukować co zapewne musiało się stać w Fukushima. Faktycznie, to dla właściwie wyedukowanego inżyniera wcale nie potrzebna była owa katastrofa aby dokładnie przewidzieć "scenariusz" nadchodzącego nieszczęścia już po jednym rzucie oka na tak oczywiście wadliwą konstrukcję tych reaktorów - jaka więc szkoda że zanim zbudowali te reaktory, Japończycy NIE zapytali o opinię jakiegoś polskiego inżyniera. Mi ów oczywisty scenariusz katastrofy rzucił się w oczy natychmiast kiedy w dniu 16 marca 2011 roku zobaczyłem w w/w artykule [1#M1] schematy owych wadliwie skonstruowanych japońskich reaktorów. Oczywiście, zajęło mi jakiś czas zanim po zrozumieniu owego scenariusza z analizy wad konstrukcyjnych tamtych japońskich reaktorów zdołałem wszystko dokładnie opisać. Dlatego opisy (zaprezentowane poniżej) jak moim "zdaniem właściwie wyedukowaneg inżyniera" wyglądał ów "scenariusz nuklearnej katastrofy" z Fukushima - wypracowany wyłącznie na podstawie błędów konstrukcyjnych popełnionych w ichnich reaktorach, wystawiłem na niniejszej stronie w dniu 30 marca 2011 roku. W cztery dni później, bo już w dniu 3 kwietnia 2011 roku, owe opisy wystawiłem również we wpisie numer #197 do swego "bloga totalizmu" (adresy tego bloga są wskazywane w punkcie #N3 poniżej). Oczywiście, czytając ten mój "scenariusz" trzeba pamiętać, że reprezentuje on tylko moje teoretyczne dedukcje inżynierskie, a NIE faktyczny "raport naukowy" z miejsca zdarzenia (który to raport powinien być nam zaprezentowany przez ekspertów wysoko-płatnych m.in. za rzetelne poinformowanie społeczeństwa co faktycznie się tam stało). Oto więc ten mój teoretycznie wydedukowany "scenariusz" japońskiej katastrofy nuklearnej, jaki znajomość zasad inżynierii podpowiedziała mi już w dniu 16 marca 2011 roku:
       Potężne trzęsienie ziemi z piątku dnia 11 marca 2011 roku uszkodziło system zasilania hydraulicznych podnośników którymi sterowane jest "wsuwanie do" i "wysuwanie z" reaktora prętów sterujących i prętów paliwowych. W rezultacie, siły grawitacyjne wymusiły powysuwanie się z reaktorów prętów sterujących, co spowodowało raptowne zintensyfikowanie reakcji jądrowych. Jednocześnie, te same siły grawitacyjne, w połączeniu z brakiem działania hydrauliki sterującej, uniemożliwiły załodze reaktora powyjmowanie prętów paliwych z "rdzenia" (aby zatrzymać reakcję). Załoga ta całkowicie utraciła więc kontrolę nad tym co w reaktorze zaczęło się wówczas dziać. Raptowna intensyfikacja reakcji jądrowych wywołała szybki wzrost temperatury, eksplozyjnie odparowując wodę w systemach chłodzenia reaktorów. Eksplodująca para wodna porozrywała pojemnik "rdzenia" reaktorów, oraz zmiotła dachy budynków z reaktorami - pozwalając radioaktywnym produktom i oparom, w tym śmiertelnie trującemu "plutonowi", na swobodne ulatywanie do otoczenia. W porozrywanym "rdzeniu" pręty paliwowe zostały pozbawione swych więzi mechanicznych. Zaczęły więc grawitacyjnie zsuwać się w dolną, zaokrągloną czaszę owego pojemnika "rdzenia". W owej zaś czaszy stopione już paliwo jądrowe skupiło się razem formując rodzaj "bomby atomowej spowolnionego działania" o ponadkrytycznej masie. Bomba ta zaczęła topić i odparowywać otaczające ją materiały, zaś owe opary zaczęły się wydostawać na zewnątrz w formie czarnego radioaktywnego dymu bogatego w śmiertelnie trujący "pluton", jaki opadł potem na miasta, pola i rzeki Japonii oraz okolicznych krajów i mórz - zatruwając wszystko swoją radioaktywnością (w tym glebę i pola z uprawami, trawę jedzoną przez krowy produkujące mleko, wodę, itp.). W rezultacie, okoliczna woda do picia, mleko i wszelkie miejscowe produkty rolne, zostały zatrute radioaktywnością. Stopione paliwo jądrowe stopniowo wtapiało się coraz głębiej w ziemię pod reaktorami, formując następne chmury radioaktywnych oparów unoszące się z reaktorów. Jednocześnie to paliwo i morderczy "pluton" zaczęły się rozpływać po ziemi w odrębnych kierunkach i tracić swoją masę krytyczą, co stopniowo spowodowało samoczynne, chociaż powolne, wyciszanie siły reakcji i ilości emitowanych radioaktywnych oparów i gazów. Władze i "eksperci" mogli więc zacząć się chwalić że "sytuacja została opanowana". Jednak owo mordercze radioaktywne paliwo jądrowe, wraz z otaczającą je ziemią którą również uczyniło ono radioaktywną, będą teraz przeciekały do wody i pobliskiego otoczenia przez setki (a może i przez tysiące) następnych lat.
       Powyższy scenariusz japońskiej katastrofy nuklearnej jest aż tak oczywisty i tak łatwy do przewidzenia już tylko na podstawie analizy konstrukcji tych reaktorów, że właściwie wyedukowani eksperci powinni mu zapobiec na długo zanim doszło do tego nieszczęścia. Fakt zaś, że nawet NIE próbowali mu zapobiec, potwierdza tylko ustalenie wyjaśnione w punkcie #C1 niniejszej strony (a także omawiane szeroko w punkcie #A2.6 strony o nazwie totalizm_pl.htm) - mianowicie że dzisiejsza "ateistyczna nauka ortodoksyjna", oraz dzisiejsza ortodoksyjna edukacja, paląco potrzebują formalnej totaliztycznej "konkurencji" która będzie "patrzyła im na ręce". To samo ustalenie jest też dodatkowo potwierdzane przez ową jakby "zmowę milczenia" jaka zdaje się działać w tej sprawie, a jakiej pożałowania-godne następstwa ludzkość powinna ciągle pamiętać z katastrofy w Czernobylu. Oto mamy bowiem katastrofę nuklearną, dla której wystarczy tylko umieć liczyć do czterech aby się dorachować iż jest ona co najmniej 4 razy większa, bardziej niszczycielska, oraz bardziej niebezpieczna od Czernobyla, zaś nagle wszyscy "eksperci" "nabrali wody w usta" i oficjalnie ją "bagatelizują". Wszakże nawet dziecko powienno być w stanie się doliczyć, że w Czernobylu eksplodował tylko jeden reaktor, podczas gdy w Fukushima eksplodowały aż cztery z nich - każdy z których wykazywał znacznie wyższy stopień zniszczenia niż reaktor z Czernobyla. W rezultacie, podczas gdy moje strony internetowe i blogi już od wielu dni "bezpłatnie" informowały swych czytelników o poziomie niszczycielskości tej katastrofy, tłumowi wysoko-płatnych "ekspertów" atomowych oraz licznym oficjalnym "agencjom" atomowym zajęło aż ponad 3 tygodnie zanim się doliczyli, że Fukushima jest jednak większa od Czernobyla. Przykładowo, na przekór że we wszelkich wiadomościach jakie na temat Fukushima docierały do mojego zakątka świata, ja celowo poszukiwałem momentu oficjalnego ujawnienia tej właśnie prawdy, z pierwszą i ciągle wysoce "nieśmiałą" informacją, że owa japońska eksplozja być może jest jednak większa od Czernobyla, zetknąłem się dopiero w dniu 3 kwietnia 2011 roku - w powyżej wskazywanym artykule [6#M1.1]. Artykuł ten ciągle jednak zapewniał swych czytelników, że Fukushima wcale NIE jest niebezpieczna dla czyjegokolwiek zdrowia - które to zapewnienie brzmiało nieco dziwnie zważywszy że ten sam artykuł informował o radioaktywnych opadach już potwierdzonych nawet w Islandii oraz koło północnego bieguna Ziemi. W rezultacie aż tak oczywistego celowego "bagatelizowania" tej katastrofy, nie widać także aby ktokolwiek oficjalnie informował społeczeństwa i zwykłych ludzi, gdzie zdążają radioaktywne chmury i prądy oceaniczne ani nad którymi krajami aktualnie one się znajdują, ludność nie jest informowana ani ostrzegana jak się chronić przed radioaktywnymi deszczami i przed radioaktywnymi produktami rolnymi, poza samą Japonią nigdzie indziej nie widać aby ktokolwiek oficjalnie sprawdzał ulice, wodę i żywność na poziomy radioaktywności, lekarstwa łagodzące skutki radioaktywności nadal nie są udostępniane - np. w wielu krajach nadal wogóle nie daje się zakupić tabletek jodku potasu, itd., itp. Mnie osobiście najbardziej jednak rozczarowuje i boli, że wszystkie te następstwa i nieszczęścia zapewne łatwo byłyby uniknięte, gdyby pozwolono mi zbudować moje komory oscylacyjne lub którekolwiek z moich "urządzeń telekinetyki do generowania darmowej energii" - jakie opisuję m.in. na niniejszej stronie internetowej. Wszakże projekty i propozycje zbudowania tych urządzeń porozsyłałem wraz ze swoimi podaniami o pracę dosłownie do setek uniwersytetów na całym świecie (w tym na wiele uniwersytetów japońskich) - tak jak wyjaśniam to dokładniej w punkcie #I1 swej strony o nazwie seismograph_pl.htm. Jakże to więc się dzieje, że mając do wyboru albo upieranie się przy rozwoju niemoralnej i morderczej energii atomowej, albo też spróbowanie podążania "nowymi drogami" wskazywanymi przez filozofię totalizmu oraz przez moje odkrycia i wynalazki, ludzie z determinacją samobójczych maniaków upierają się przy wdrażaniu w życie tylko tego co dla nich najbardziej niebezpieczne i mordercze.


#M1.1.1. Skandalicznie długo po nieszczęściu, fakty o katastrofie z Fukushima pomału zaczynają być ujawniane - w ten sposób dokładnie potwierdzając poprawność mojego "scenariusza katastrofy" opisanego kilka miesięcy wcześniej w powyższym punkcie #M1.1:

       W dniu 18 maja 2011 roku napotkałem pierwszy niewielki artykuł który nieśmiało zaczął ujawniać prawdę na temat katastrofy z Fukushima. Artykuł ten ukazał się więc dopiero w ponad dwa miesiące po tym jak ja podjąłem powyżej opisane zdecydowane kroki dla publicznego ujawnienia prawdziwego scenariusza z przebiegu i następstw tamtej brzemiennej w skutki katastrofy. Ów pierwszy artykuł [1#M1.1.1] ujawniający prawdę nosił tytuł "Nuclear plant 'suffered fast meltdown' " (tj. "Atomowe elektrownie 'szybko osiągnęły stan stopienia' "), zaś opublikowany został w nowozelandzkiej gezecie The Press (wydanie ze środy (Wednesday), May 18, 2011). Artykuł ów ujawnia, że już w 6 godzin po doświadczeniu trzęsieniu ziemi, pręty paliwowe z reaktorów w Fukushima zaczęły się topić i spływać na zaokrąglone dna pancernych osłon rdzeni owych reaktorów - dokładnie tak jak ja to wcześniej wyjaśniałem po oględzinach wad konstrukcyjnych tamtych reaktorów. Z kolei już w 16 godzin po trzęsieniu ziemi, całe stopione paliwo jądrowe zgromadziło się na zaokrąglonych dnach owych osłon. Czyli dokładnie tak jak ja to wyjaśniałem ponad dwa miesiące wcześniej, faktycznie to stopione paliwo uformowało na dnie owych osłon rodzaj bomb jądrowych o ponadkrytycznej masie. Artykuł ten także pisze, że dyrekcja firmy do której należą owe reaktory, uprzednio zatajała owe fakty, ponieważ jakoby bała się powszechnej paniki. Innymi słowy, dyrekcja ta twierdzi iż "czyniła zło w imię dobra". To twierdzenie NIE zmienia jednak faktu, że zgodnie z ustaleniami filozofii totalizmu "czynienie zła pozostaje złem bez względu na to w imię czego zło owo się wyrządza". Ciekawe, ile więcej równie dla ludzi niebezpiecznej prawdy - jakiej istnienie daje się wydedukować z analiz przyczyn i scenariusza tej katastrofy, owa dyrekcja nadal zataja przed społeczeństwem przy milczącej aprobacie naukowców odpowiedzianych za tą tematykę.
       Powyższy artykuł potwierdził więc prawdę najważniejszego fragmentu moich ostrzeżeń i wyjaśnień na temat tamtej katastrofy. Niestety, ludzie ciągle są zbyt zajęci gromadzeniem pieniędzy i przyjemnościami konsumpcji, aby zacząć zwracać uwagę na ostrzeżenia o konieczności chronienia się przed niebezpieczeństwami które owa katastrofa być może na nich sprowadza, a które nieśmiało i w zminimalizowanych dozach zaczynają być ujawniane - począwszy od w/w artykułu. Ciekawe "czy" i "kiedy" ujawniona też zostanie prawda na temat radioaktywnych opadów z tamtej katastrofy. Wszakże bez ujawnienia i tej prawdy, ludność całego świata być może zupełnie nieświadomie już połyka ową radioaktywność, ściągając w ten sposób na siebie bezpłodność, mutacje genetyczne, raka, oraz cały szereg innych problemów jakich naukowcy ortodoksyjni mogą nawet się bać aby je ludziom wyjaśnić. To więc dodatkowo zwiększa tylko pilność potrzeby dla nowej "nauki totaliztycznej" opisanej w punkcie #C1 tej strony - która to nauka za jeden z celów swego istnienia stawia sobie ujawnianie i naprawianie błędów, przemilczeń, itp., popełnianych przez dotychczasową "ateistyczną naukę ortodoksyjną".
       Z Bogiem nikt NIE wygra. Skoro Japończycy NIE zaakceptowali lekcji moralnej danej im przez Boga m.in. za pośrednictwem Fukushima, Bóg kontynuuje ową lekcję. Przykładowo, w artykule "Radioactive water gushing into Pacific from nuke plant" (tj. "radioaktywna woda sika do Pacyfiku z nuklearnych elektrowni"), ze strony B1 nowozelandzkiej gazety The Dominion Post (wydanie ze środy (Wednesday), August 7, 2013), zostało ujawnione, że właściciele elektrowni atomowych w Fukushima utracili kontrolę nad sytuacją i NIE są w stanie zatrzymać wycieku wysoce radioaktywnej wody do Pacyfiku. Ów zaś wyciek grozi skażeniem radioaktywnym źródeł zywności dla Japończyków.


#M1.2. Nuklearna katastrofa z Fukushima zdaje się być ostatnim "upomnieniem" i "przynagleniem" Boga aby ludzkość zmieniła jednak swoje działania i filozofię w sprawach dotyczących energii atomowej:

Motto: "Z codziennego życia wszyscy doskonale wiemy, że jeśli po jakiś kłopotach ktoś NIE zmieni swego postępowania z którego kłopoty te wyniknęły, wówczas wkrótce owe kłopoty wracają ze znacznie zwiększoną siłą. Dokładnie ta sama zasada rządzi kataklizmami."

       W punkcie #B5 odrębnej strony o nazwie seismograph_pl.htm wyjaśnione zostało, że jeśli Bóg NIE aprobuje czegoś co ludzie czynią, wówczas zesyła nasilające się nieszczęścia i katastrofy które z tym czymś się wiążą. Najpierw więc Bóg zesyła katastrofę "ostrzegającą" - taką jaką w sprawie energii atomowej był Czernobyl. Jeśli zaś ludzie w jej wyniku wcale nie zmienią swego postępowania i filozofii, wówczas Bóg zesyła następną, znacznie już silniejszą katastrofę "przynaglającą" - taką jaką w sprawie energii atomowej stała się Fukushima z Japonii. Jeśli i owa katastrofa "przynaglająca" NIE skutkuje, wówczas Bóg zesyła końcową katastrofę "anihilującą" która wybija większość ludzi związanych z działaniem lub obszarem co do którego Bóg ma zastrzeżenia. Takie trzy poziomy coraz silniejszych kataklizmów i nieszczęść daje się odnotować w praktycznie każdej sprawie którą Bóg NIE aprobuje - jednak którą ludzie uparcie kontynuują.
       Odnotuj tutaj, że sam fakt iż kataklizmy, podobnie jak wszelkie inne ludzkie nieszczęścia, mają taki właśnie "inteligentny" charakter stopniowego "nasilania się", jest dowodem że są one zesyłane celowo przez inteligentną "nadrzędną istotę" (czyli przez Boga). Te ich cechy dowodzą również, że celem kataklizmów jest "wyperswadowanie ludziom" odejścia od praktyk, postępowań, oraz zachowań, których owa nadrzędna istota NIE aprobuje.
       Dla różnych powodów katastrofa z Fukushima nastąpiła na obszarze Japonii. Niemniej "wiadomość od Boga" przekazana nam za pośrednictwem tej katastrofy najwyraźniej jest adresowana do całej ludzkości. Wszakże następstwa tej katastrofy dotykają wszystkie kraje i wszystkie narody naszej planety. Dla mnie osobiście "wiadomość" zawarta w tej katastrofie wygląda na bardzo klarowną: 'enegia atomowa należy do grupy "niemoralnych" energii i dlatego ludzkości NIE wolno nawet próbować z niej korzystać'.
       Znając jednak upór dotychczasowej "ateistycznej nauki ortodoksyjnej" w podążaniu samobójczymi ścieżkami, jestem pewien że nawet kataklizm z Fukushima NIE powstrzyma tej nauki przed kontynuowaniem użycia "niemoralnej" energii atomowej. Dlatego ja osobiście wierzę, że jedynym sposobem zażegnania niebezpieczeństwa, że już niedługo ludzkość zostanie potraktowana "anihilującym" kataklizmem atomowym który wybije znaczącą proporcję mieszkańców Ziemi, jest oficjalne stworzenie totaliztycznej "konkurencji" dla dzisiejszej "ateistycznej nauki ortodoksyjnej" - tak jak wyjaśnia to punkt #C1 niniejszej strony. Wszakże po swoim stworzeniu, owa konkurencyjna "nauka totaliztyczna" nie tylko że zacznie "patrzeć na ręce" starej nauce ateistycznej, ale podejmie także energiczne badania rozwojowe nad wskazywanymi przez filozofię totalizmu nowymi źródłami bezpiecznej energii - w rodzaju źródeł energii opisanych na niniejszej stronie (które to źródła energii owa dotychczasowa "ateistyczna nauka ortodoksyjna" uparcie odmawia przebadać - tak jak wyjaśnia to punkt #I1 na stronie o nazwie seismograph_pl.htm). To zaś zaradzi "kryzysowi energetycznemu" i uczyni zupełnie zbędnym używanie niemoralnej energii atomowej. Dlatego warto czytelniku, abyś w interesie własnego przeżycia, oraz przeżycia swoich potomków, zaczął czynić wszystko co w Twojej mocy, aby taka konkurencyjna "nauka totaliztyczna" jak najszybciej została jednak oficjalnie powołana.


#M1.3. Dlaczego radioaktywne skażenie Ziemi od katastrofy z Fukushima jest "testem moralnym" dzisiejszej oficjalnej nauki, potwierdzeniem jej całkowitej nieprzydatności, oraz ilustratywnym dowodem że owa "ateistyczna nauka ortodoksyjna" stała się już dokładną odwrotnością tego za co sama się uważa:

       Filozofia totalizmu naucza, że "każdy 'intelekt' który NIE jest zmuszony aby nieustannie konkurować o pozycję i o przetrwanie z innym intelektem równym sobie znaczeniem, z biegiem czasu obrasta wypaczeniami, tramsformuje się w pasożytniczy intelekt, oraz zaczyna działalność dokładnie odwrotną do tej dla której realizacji został on powołany". To właśnie z tego powodu np. niezamężne kobiety z biegiem czasu nabierają "staropanieńskich zagrań". To dlatego niemal każdy rząd i niemal każdy polityk pozbawiony "opozycji" i "konkurencji" z upływem czasu przemienia się w "skorumpowanego despotę i tyrana własnego narodu". To też dlatego ciągle dziś dzierżąca "monopol na wiedzę" i pozbawiona jakiejkolwiek konkurencji "ateistyczna nauka ortodoksyjna" zaczyna nabierać coraz bardziej wypaczonych zachowań "religii bez Boga", zaś zamiast "wnosić postęp", od jakiegoś już czasu działa ona wyłącznie jako "hamulec postępu" - tak jak to opisuje punkt #C1 z początkowej części niniejszej strony, a takze punkt #A2.6 strony o nazwie totalizm_pl.htm. Mądre stare przysłowie stwierdza, że "prawdziwych przyjaciół poznajemy w biedzie". Tak się zaś składa, że nuklearna katastrofa z Fukushima postawiła całą ludzkość w sytuacji, że obecnie "wszyscy znajdujemy się w biedzie". Wszakże radioaktywne opady z owej katastrofy już rozprzestrzeniły się po całej Ziemi. Wszyscy więc chcielibyśmy wiedzieć czy faktycznie zaczynamy się już objadać warzywami obficie "posolonymi" radioaktywnymi izotopami, czy mleko którym się zapijamy wykazuje już rosnącą radioaktywność, czy przypadkiem nie kupujemy ryb które już niemal "świecą w ciemności", czy myjemy się w wodzie zawierającej radioaktywne pierwiastki, czy w drodze do pracy wymaczają nam skórę radioaktywne deszcze, itd., itp. W takiej sytuacji spodziewalibyśmy się że oficjalna nauka ziemska okaże się naszym "przyjacielem" i że będzie nas chronić i ostrzegać przed niebezpieczeństwem. Czy jednak faktycznie ona nas "chroni" i "ostrzega"? Czy gdziekolwiek widzimy naukowców oficjalnie ujawniających sprawdzenia jak porównuje się Fukushima z Czernobylem, albo chociaż oficjalnie się wypowiadających na ile eksplozje czterech reaktorów z Fukushima są podobne do czterokrotnie powiększonych następstw eksplozji jednego reaktora z Czernobyla? Czy gdziekolwiek widzimy informacje jak wyglądają radioaktywne opady na naszym terenie i jak one się mają do opadów z okresu eksplozji w Czernobylu? Czy ktokolwiek nas informuje co się dzieje z radioaktywnością deszczy oraz jak ma się radioaktywność żywności?
       Teorie filozofii zwanych "totalizmem" i "pasożytnictwem" wyjaśniają nam co się dzieje. Zgodnie z nimi, dzisiejsza "ateistyczna nauka ortodoksyjna" od długiego już czasu "tresuje" swoich adeptów do nawyku iż "nie wolno się 'wychylać', bowiem za każdą wypowiedź niezgodną z tym co ludzie chcą usłyszeć traci się wygodne posadki". Dlatego również i w sprawie skażenia Ziemi radioaktywnymi wyziewami z eksplozji Fukushima, nasza nauka przyjmuje dokładnie to samo stanowisko jakie przyjęła już uprzednio we wszystkich innych sprawach które są NIEzgodne z panującą w tej nauce modą, oraz z tym co większość ludzi nawykła już słyszeć (tj. nauka ta przyjęła stanowisko które już wszyscy doskonale znamy z UFO, badań pozaziemskich inteligencji, duchów, istnienia Boga, pochodzenia wszechświata i życia, itp.). Niektórzy owo stanowisko nazywają już "zmową milczenia". Wszakże sprowadza się ono do przemilczania wszystkiego co tylko przemilczeć się uda, oraz do bagatelizowania oraz wymijającego potraktowania wszystkiego na temat czego jest się zmuszonym do udzielenia wypowiedzi. Innymi słowy, nawet gdyby eksplozja w Fukushima spowodowała śmierć połowy ludzkości, nauka i naukowcy będą oficjalnie twierdzili że NIE ma dowiedzionego związku pomiędzy owymi śmierciami, a eksplozją w Fukushima. Aż więc do czasu kiedy ludzkość zdobędzie się jednak na oficjalne ustanowienie nowej "nauki totaliztycznej", która stanie się "konkurencją" dla dotychczasowej "ateistycznej nauki ortodoksyjnej", ludzie NIE mają najmniejszych szans aby być przez naukę informowanymi o prawdzie - tak jak to wyjaśnił nam już ów punkt #C1 niniejszej strony.
       Ci ludzie którzy pamiętają czasy tzw. "komunistycznej propagandy" doskonale wiedzą, że tam gdzie brak jest oficjalnej, rzetelnej i klarownej informacji, aby informację tą znaleźć koniecznym się staje "czytanie pomiędzy wierdzami". Wszakże prawdy NIE daje się ukryć, za to można ją kamuflować - tak aby "niepowołani" NIE mogli się wyznać co ona stwierdza. W powyższym podrozdziale #M1.1 komentowałem artykuł [6#M1.1] który NIE mówiąc nic oficjalnie, ciągle mówi nam wiele pomiędzy wierszami. Kolejny taki artykuł oficjalnie nic NIE mający wspólnego z Fukushima, to [1#M1.3] o niewiele mówiącym tytule "Toxic elements found in baby foods" (tj. "trujące pierwiastki znalezione w pożywkach dla dzieci"), ze strony A3 gazety The New Zealand Herald (wydanie z poniedziałku (Monday), April 11, 2011 - tj. wydany dokładnie w miesiąc po katastrofie w Fukushima). Artykuł ten ujawnia, że nagle i niespodziewanie dla wszystkich, całą masę trujących pierwiastków znaleziono w Europie w fabrycznych pożywkach dla dzieci. I tak znaleziono w nich około 50 razy więcej arsenu niż mieć one powinny, 150 razy więcej kadmu, 8 razy więcej ołowiu, a ponadto znaleziono w nich uran. Aczkolwiek radioaktywność tychże pierwiastków NIE była nawet wzmiankowana w owym artykule, niemal każdy wie że uran jest zawsze radioaktywny, zaś pozostałe z owych trujących pierwiastków są dobrze znane z faktu że ich radioaktywne izotopy typowo są wyrzucane do otoczenia podczas awarii reaktorów atomowych. Pytanie na które obecnie warto szukać odpowiedzi, to co się kryje w żywności którą zjadają dorośli, oraz jak to wpływa na życie i zdrowie zjadających?


#M2. Zastopowanie dalszego mutowania się śmiercionośnych "super-bakterii" odpornych na działanie antybiotyków - tj. bakterii podobnych do owej morderczej E.coli która wymutowała się w Niemczech po atomowej eksplozji z Fukushima w Japonii:

       Czytelnikowi zapewne znana jest staropolska przepowiednia opisana w punkcie #H1 strony internetowej o nazwie przepowiednie.htm, która stwierdza, że nadejdzie kiedyś czas takiego wyludnienia naszej planety iż "człowiek będzie całował ziemię jeśli zobaczy na niej ślady innego człowieka". Jeśli rozważyć jakie czynniki mogłyby spowodować aż takie masowe wymarcie ludzi, wówczas jedno z pierwszych miejsc na wykazie "podejrzanych" zapewne zajmowałyby "super-bakterie" które tak się już wymutowały, że stały się odporne na antybiotyki i na inne powszechnie używane lekarstwa. O śmiertelnym zagrożeniu ludzkości ze strony owych super-bakterii zdają sobie już sprawę nawet najbardziej zagorzali poplecznicy popychającego ludzkość do zagłady "monopolu na wiedzę" dzierżonego przez "ateistyczną naukę ortodoksyjną" opisywaną w punkcie #C1 tej strony. Coraz częściej widzimy też upusty publicznej paniki powodowanej właśnie masowym upowszechnianiem się owych super-bakterii połączonym z widocznym brakiem u "ateistycznych naukowców ortodoksyjnych" jakiejkolwiek idei jak zapobiec katastrofie której nadejście owe super-bakterie nieuchronnie przybliżają. (Przykładem owej narastającej paniki są artykuły w rodzaju [1#M2] "Bacteria on brink of victory" (tj. "Bakterie w przededniu zwycięstwa") ze strony A3 nowozelandzkiej gazety The Dominion Post Weekend (wydanie z soboty (Saturday) April 9, 2011) - który stwierdza m.in. że "wielu powszechnych infekcji wkróce nie będzie dawało się już wyleczyć" - w oryginale angielskojęzycznym "many common infections will no longer have a cure".) Jak zwykle też w przypadkach kryzysu, "ateistyczna nauka ortodoksyjna" NIE potrafi nam wskazać ani odpowiedzi na ogromnie istotne pytanie (A) "jak można powstrzymać dalsze mutowanie się owych super-bakterii?", ani też odpowiedzi na równie istotne pytanie (B) "jak leczyć ludzi którzy już padli ofiarami infekcji owymi super-bakteriami?". Tymczasem nowa "nauka totaliztyczna", jak zwykle jest już w stanie wskazać ludziom gdzie szukać odpowiedzi na oba powyższe pytania - sugestie najbardziej prawdpopodobnych z takich odpowiedzi przytaczam więc poniżej.
       (A) Odpowiedź na pytanie "jak zastopować dalsze mutowanie się super-bakterii?" nowa "nauka totaliztyczna" jest w stanie uzyskać poprzez szukanie najbardziej krytycznego ogniwa w mechaniźmie mutowania się tych bakterii - jakie to szukanie zostanie "pozbawione uprzedzeń i zahamowań starej nauki ateistycznej wynikających z jej wysiłków utrzymania swego 'monopolu na wiedzę' ". Jak też na to zdaje się wskazywać dotychczasowy rozwój owych "super-bakterii", prawdopodobnie takim "krytycznym ogniwem" dla mutacji super-bakterii jest "radioaktywność" która dla mechanizmu mutowania się bakterii spełnia taką samą funkcję jak "spust" spełnia w broni palnej - jeśli więc ludzie zaprzestaną rozsiewania radioaktywności, super-bakterie przestaną się mutować. Innymi słowy, gdyby ludzkość zdobyła się na zastopowanie dalszego rozsiewania radioaktywnych pierwiastków po Ziemi, mikro-organizmy nie byłyby w stanie ich absorbować, stąd przyszłe mutowanie się super-bakterii by samo zanikło. Oczywiście, zastopowanie dalszego zasiewu radioaktywnych pierwiastków po Ziemi wcale NIE jest takie trudne - wystarczy aby w tym celu całkowicie zaprzestać dokonywania na Ziemi wysoce niemoralnych reakcji jądrowych (czyli całkowicie zastopować dalsze niemoralne "próbne eksplozje jądrowe", a także całkowicie zaprzestać używania owych niemoralnych reaktorów jądrowych - tak jak narazie zadeklarowały to tylko rządy Szwajcarii i Niemiec). Faktycznie bowiem poznany już został spory materiał dowodowy który dosyć jednoznacznie zdaje się ilustrować bezpośredni związek pomiędzy rozsiewem radioaktywnych pierwiastków po Ziemi, a pojawianiem się śmiercionośnych mutacji super-bakterii i morderczych wirusów. Przeglądnijmy tu chociaż kilka przykładów tego materiału dowodowego:
       (A1) Można doszukać się związku pomiędzy najróżniejszymi katastrofami nuklearnymi które rozsiały po Ziemi znaczne ilości radioaktywnych pierwiastków, a falami pojawień się nowych "super-bakterii" odpornych na antybiotyki. W punkcie #B1 strony o nazwie plague_pl.htm, zawarte jest zestawienie najbardziej niebezpiecznych mutacji bakterii i wirusów jakie w ostatnim ponad ćwierćwieczu zaczęły gnębić ludzkość. Jeśli porównać daty owych fal, wówczas się zdają się one zbiegać w czasie z okresami kiedy najróżniejsze katastrofy i testy nuklearne rozsiewały radioaktywne pierwiastki po powierzchni Ziemi.
       (A2) Radioaktywność jest już dobrze znana ze swojej zdolności do powodowania mutacji genetycznych. Wszakże już miejsca pierwszych eksplozji nuklearnych stały się lokacjami wielu szokujących mutacji. Stąd NIE powinno nikogo dziwić, że kiedy w 2011 roku radioaktywne opady z kataklizmu w Fukushima (Japonia) posiane zostały po warzywach, owocach, oraz produktach rolnych i wodociągowej wodzie pitnej całego świata, wkrótce potem nowa fala wymutowanych "super-bakterii" pojawiła się w aż całym szeregu krajów. Wszakże obecność radioaktywnych pierwiastków na warzywach i innych produktach spożywczych zjadanych przykładowo przez mieszkańców Niemiec i Europy stwarzała wprost idealne warunki aby w jelitach tych ludzi wymutowały się najróżniejsze złośliwe szczepy zawsze obecnych tam bakterii. W ten sposób prawdopodobnie w Niemczech wymutowała się śmiercinośna E.coli która zaczęła potem szerzyć spustoszenie praktycznie w całej Europie.
       (A3) Pochodzenie niemieckiej mutacji E.coli okazało się ogromnie trudne do jednoznacznego ustalenia - co dodatkowo sugeruje że faktycznie bakteria ta wymutowała się w jelitach swoich ofiar w następstwie zjadania radioaktywności. Jak wynikało z wiadomości w prasie i w telewizji, pochodzenie niemieckiej zarazy śmiercionośną super-bakterią E.coli okazało się ogromnie trudne do jednoznacznego ustalenia - co podkreślały liczne wypowiedzi ekspertów (jako przykład patrz artykuł [2#M2] "E-coli bug made deadly by rare 'glue' " (tj. "Bakteria E-coli uczyniona śmiertelną przez rzadki 'klej' ") ze strony B12 nowozelandzkiej gazety "Weekend Herald", wydanie z soboty (Saturday), June 4, 2011). Najpierw posądzano że epidemia tej super-bakterii wywodzi się z hiszpańskich ogórków - przykładowo patrz artykuł [3#M2] "Spanish cucumbers cleared of causing deaths" (tj. "Hiszpańskie ogórki oczyszczone z zarzutu powodowania śmierci") ze strony A17 nowozelandzkiej gazety The New Zealand Herald, wydanie z czwartku (Thursday), June 2, 2011. Potem zaczęto posądzać "pędy fasolkowa" (po angielsku "beansprouts") pochodzące z niemieckiej farmy koło północnego miasteczka Uelzen (położonego pomiędzy Hamburgiem i Hanowerem) - patrz artykuł [4#M2] "Beansprouts likely source of Germany's deadly bug" (tj. "Pędy fasolkowe prawdopodobnym źródłem śmiercionośnej bakterii niemieckiej"), ze strony B3 nowozelandzkiej gazety The Dominion Post, wydanie z wtorku (Thursday), June 7, 2011. Wkrótce jednak szybko odwołano i to posądzenie. Według ustaleń "totaliztycznej nauki", takie równoczesne zaistnienie wielu odmiennych "śladów które wszystkie prowadzą do nikąd" typowo jest charakterystyczne dla przypadków kiedy ma się do czynienia z "aktem Boga korygującym moralność lub zwracającym karmę". W owych bowiem przypadkach "korygowania moralności lub zwracania grupowej karmy" typowo Bóg równocześne wyzwala działanie tzw. "kanonu niejednoznaczności" opisywanego w punkcie #C2 strony o nazwie tornado_pl.htm. Z kolei ów "kanon niejednoznaczności" powoduje, że np. owa niemiecka epidemia śmiercionośnej E.coli zawierałaby w sobie cechy które by umożliwiały jednoczesne wyjaśnienie jej pochodzenia z aż całego szeregu niezależnych od siebie źródeł. Stąd o powodowanie tej epidemii władze mogłyby oskarżać kolejno aż kilku odmiennych "winnych" (hiszpańskie ogórki, niemieckie "pędy fasolkowe", itp.) - co oczywiście wcale nie oznaczałoby że owi "winni" naprawdę są odpowiedzialni za tamtą "epidemię". Wszakże we wszelkich przypadkach takich "aktów Boga korygujących moralność lub zwracających karmę grupową" faktyczną winę za dany kataklizm ponosi moralność i karma poszkodowanego "intelektu grupowego" - tak jak wyjaśniają to np. punkty #B5 i #I1 strony internetowej o nazwie seismograph_pl.htm czy punkt #B4 strony o nazwie tornado_pl.htm.
       (A4) Równocześnie z Niemcami, podobnie śmiertelne mikro-organizmy wymutowały się również w Nowej Zelandii - zaraz po tym jak dotarły do niej radioaktywne opady z Fukushima. Ten fakt jest prawdopodobnie jednym z najsilniejszych przesłanek sugerujących mutowanie się owej niemieckiej śmiertelnej "super-bakterii" E.coli właśnie jako skutek rozsiewania po świecie radioaktywnych pierwiastków w wyniku nuklearnej katastrofy z Fukushima. O tamtych nowozelandzkich odpowiednikach dla śmiertelnej mutacji niemieckiej E-coli pojawiło się już sporo artykułów w nowozelandzkich gazetach - przykładowo patrz artykuł [5#M2] "Stomach bug hits ferry travellers" (tj. "Zarazek żołądkowy powalił podróżujących promem morskim") ze strony A3 nowozelandzkiej gazety The Dominion Post, wydanie z wtorku (Thursday), April 7, 2011. Artykuł ten informuje, że w okolicach Wellington nowo-pojawiła się wówczas jakaś epidemia wyjątkowo paskudnego zarazka żołądkowego (w artykule nazywali go "gastroenteritis"). Wyłożyła ona całe tuziny ludzi, a nawet zatruła kompletnie całą załogę promu morskiego przez Cieśninę Cook'a łącząca Wellington z Wyspą Południową Nowej Zelandii. Ja też w owym czasie zapadłem na ów "zarazek" - o czym napiszę nieco więcej w następnym podpunkcie. Jeszcze inny artykuł [6#M2] "Deadly virus closes upper harbour to shellfish gatherers" (tj. "Śmiertelny wirus zamknął górną zatokę dla zbieraczy małży") ze strony A9 nowozelandzkiej gazety The New Zealand Herald (wydanie z wtorku (Tuesday), May 31, 2011) ujawnił że w mniej więcej tym samym czasie w nowo-zelandzkich małżach wymutował się jakiś NIE istniejący w nich wcześniej nowy wirus, który po spożyciu przez ludzi okazuje się śmiertelny. Wszystko powyższe razem wzięte zdaje się więc potwierdzać dosyć klarownie, że niemal równocześnie z Niemcami, najróżniejsze mordercze mikroorganizmy wymutowały się również na drugim końcu świata, tj. w Nowej Zelandii, zaraz po tym jak ów kraj zaczął być "przyprószany" radioaktywnymi opadami z Fukushima.
       (A5) Kiedy ja zachorowałem na ową nową mutację nowozelandzkiej "super-bakterii", NIE byłem w stanie jej wyleczyć przez aż tak długo, aż zaprzestałem picia wodociągowej wody która była wystawiona na radioaktywne opady z Fukushima. W czasie owej nowozelandzkiej epidemii "zarazka" żołądkowego, m.in. ja też na niego zapadłem. Mianowicie, na początku kwietnia 2011 roku ja sam, a także moja żona, oboje doświadczyliśmy czegoś, o czym przez długi czas sądziliśmy że było to silne zatrucie pokarmowe. Na przekór też energicznych prób moralnego "samouzdrawiania" się wysoce efektywną metodą opisaną w punkcie #G2 odrębnej strony o nazwie healing_pl.htm, u mnie owo "zatrucie" wlokło się aż przez dwa tygodnie. (Podczas stosowania powyższej metody moralnego "samouzdrawiania" się, ja NIE używałem żadnego dodatkowego lekarstwa. Powodem było że moim preferowanym lekiem na biegunkę, który zawsze zażywam, są korzenie tapioka opisane w punkcie #B1 w/w strony healing_pl.htm, zaś w Nowej Zelandii NIE miałem wówczas dostępu do tej tropikalnej rośliny.) Ponieważ zarówno natura objawów tego "zatrucia", jak i brak postępu w jego leczeniu, razem sugerowały, że to "zatrucie" pokarmowe jest przedłużane poprzez moje powtarzalne spożywanie tego co je powoduje, poprzez zmienianie rodzaju żywności jaką wówczas zjadałem starałem się ustalić co właściwie może nas zatruwać bez przerwy przez aż tak długo - tak aby poprzez wyeliminowanie źródła trucizny móc się obronić przed kontynuacją tej choroby. Jednocześnie analizowałem która żywność może być źródłem naszych problemów, a także kontynuowałem "samowyzwalanie efektu placebo" bezlekarstwową metodą opisaną w w/w punkcie #G2. W końcu wyczerpały się owe rodzaje żywności jaką jedliśmy, podczas gdy owo "zatrucie pokarmowe" ciągle nie chciało ustąpić. Postanowiłem więc że musimy wyeliminować także z pokarmu miejską wodę z kranu którą normalnie piliśmy. Zastąpiliśmy ją wodą którą zaczeliśmy przywozić sobie do domu z podziemnej studni zlokalizowanej w Petone. Zaraz też po tym jak zmieniliśmy rodzaj wody jaką piliśmy, najprzykrzejsze objawy mojego "zatrucia" w końcu ustąpiły - tj. zakończyła się biegunka, "mglenie" do wymiotowania, oraz "odbijanie się" starymi jajkami - chociaż najróżniejsze dodatkowe problemy z wynikające z tej "zarazy" musiałem nadal stopniowo leczyć. Tamten zanik biegunki po zmianie wody którą piliśmy sugerował wniosek że prawdopodobnie nasza choroba ma związek z katastrofą atomową w Fukushima z Japonii - niestety ja NIE miałem licznika Geigera dla sprawdzenia naszej wody wodociągowej na jej radioaktywność. Jest bowiem mało prawdopodobne aby taka chemicznie uzdatniana woda np. nagle zaczęła zawierać jakieś mikro-organizmy które mogłyby spowodować i przedłużać naszą chorobę. Natomiast wiadomo, że "woda miejska" z Petone którą wtedy spożywaliśmy jest gromadzona w dużym odkrytym stawie zanim po chemicznym uzdatnieniu jest ona pompowana do ludzkich domostw. Z kolei ów staw jest wystawiony na opady atmosferyczne - stąd jeśli radioaktywnie skażone chmury zdołały dotrzeć z Fukushima aż do Petone, ich zanieczyszczenia mogły spaść z deszczem do owych stawów zbierających "miejską wodę" dla Petone, zaś my mogliśmy wypijać owe radioaktywne opady. Z drugiej strony, woda pobrana z podziemnej studni jest filtrowana przez glebę i stąd NIE może zawierać w sobie żadnych cząsteczek z takich opadów atomowych. Oczywiście, wszytko to było jedynie moją "hipotezą" na której sprawdzenie NIE miałem środków ani wymaganego oprzyrządowania. Niemniej dziwne podobieństwo sytuacji w Niemczech z ichnią mutacją morderczej E.coli, oraz równocześnie niemal identycznej sytuacji w Nowej Zelandii, sugeruje że w obu tych przypadkach zlokalizowanych na przeciwstawnych końcach świata, musiał zadziałać jakiś jeden i ten sam globalnie rozprzestrzeniający się czynnik. Jedynym zaś takim globalnym czynnikiem była w owym czasie radioaktywność z Fukushima, Japonia, która mogła wyzwolić mutowanie się złośliwych mikroorganizmów w aż całym szeregu krajów świata naraz.
       (B) Z kolei odpowiedź nowej "totaliztycznej nauki" na pytanie "jak jak leczyć ludzi którzy padli ofiarami infekcji owymi super-bakteriami odpornymi na antybiotyki?" już została udzielona, zaś ja osobiście wypróbowałem ją w efektywnym działaniu. Jest ona omawiana w punktach #G2 i #G2.2 odrębnej strony o nazwie healing_pl.htm. Streśćmy więc tutaj tylko jej esencję. Odpowiedź ta stwierdza, że aby móc zacząć efektywnie leczyć ofiary "super-bakterii" odpornych na antybiotyki, zarówno cała ludzkość, jak i indywidualne osoby, muszą energicznie podjąć rozwój i wdrażanie do użycia "moralnych" metod leczenia bazujących na tym co dzisiejsza "ateistyczna medycyna ortodoksyjna" nazywa "efektem placebo" - w rodzaju metody "samoleczenia" opisanej w punkcie #G2 strony o nazwie healing_pl.htm, jednocześnie zaś należy zaniechać kontynuowanie dotychczasowych niemoralnych zasad leczenia chorób opartych na zwalczaniu bakterii chemikaliami na które z upływem czasu mutacje tych bakterii zawsze uzyskują całkowitą odporność.


Część #N: Podsumowanie, oraz informacje końcowe tej strony:

      

#N1. Podsumowanie tej strony:

       Niniejsza strona rzuciła wyzwanie praktycznie najtrudniejszemu zadaniu ludzkości, tj. zadaniu zbudowania urządzenia telekinetycznego które generuje nieustanny ruch chociaż nie wymaga zaopatrzenia w żadną formę zewnętrznej energii.


#N2. Jak dzięki stronie "skorowidz.htm" daje się znaleźć totaliztyczne opisy interesujących nas tematów:

       Cały szereg tematów równie interesujących jak te z niniejszej strony, też omówionych zostało pod kątem unikalnym dla filozofii totalizmu. Wszystkie owe pokrewne tematy można odnaleźć i wywoływać za pośrednictwem skorowidza specjalnie przygotowanego aby ułatwiać ich odnajdowanie. Nazwa "skorowidz" oznacza wykaz, zwykle podawany na końcu książek, który pozwala na szybkie odnalezienie interesującego nas opisu czy tematu. Moje strony internetowe też mają taki właśnie "skorowidz" - tyle że dodatkowo zaopatrzony w zielone linki które po kliknięciu na nie myszą natychmiast otwierają stronę z tematem jaki kogoś interesuje. Skorowidz ten znajduje się na stronie o nazwie skorowidz.htm. Można go też wywołać z "organizującej" części "Menu 1" każdej totaliztycznej strony. Radzę aby do niego zaglądnąć i zacząć z niego systematycznie korzystać - wszakże przybliża on setki totaliztycznych tematów które mogą zainteresować każdego.


#N3. Blog totalizmu:

       Warto okresowo sprawdzać "blog totalizmu" który działa już od kwietnia 2005 roku, ostatnio pod adresami totalizm.wordpress.com i totalizm.blox.pl/html. (Odnotuj że oba te adresy blogu są lustrzanymi kopiami o takiej samej treści wpisów.) Wszakże na "blogu totalizmu" wiele ze spraw omawianych na tej stronie naświetlane jest na bieżąco dodatkowymi komentarzami i informacjami spisywanymi w miarę jak nowe zdarzenia stopniowo rozwijają się przed naszymi oczami.


#N4. Emaile autora tej strony:

       Aktualne adresy emailowe autora tej strony, tj. oficjalnie dra inż. Jana Pająk, zaś kurtuazyjnie Prof. dra inż. Jana Pająk, pod jakie można wysyłać ewentualne uwagi, własne opinie, lub informacje jakie zdaniem czytelnika autor tej strony powinien poznać, podane są na autobiograficznej stronie internetowej o nazwie pajak_jan.htm (dla jej wersji w języku HTML), lub o nazwie pajak_jan.pdf (dla wersji strony "pajak_jan.pdf" w bezpiecznym formacie PDF - które to bezpieczne wersje PDF dalszych stron autora mogą też być ładowane z pomocą linków z punktu #B1 strony o nazwie tekst_11.htm).
       Prawo autora do używania kurtuazyjnego tytułu "Profesor" wynika ze zwyczaju iż "z profesorami jest jak z generałami", znaczy raz profesor, zawsze już profesor. Z kolei w swojej karierze naukowej autor tej strony był profesorem aż na 4-ch odmiennych uniwersytetach, tj. na 3-ch z nich był tzw. "Associate Professor" w hierarchii uczelnianej bazowanej na angielskim systemie uczelnianym (w okresie od 1 września 1992 roku, do 31 października 1998 roku) - który to Zachodni tytuł stanowi odpowiednik "profesora nadzwyczajnego" na polskich uczelniach. Z kolei na jednym uniwersytecie autor był (Full) "Professor" (od 1 marca 2007 roku do 31 grudnia 2007 roku - tj. na ostatnim miejscu pracy z naukowej kariery autora) który to tytuł jest odpowiednikiem pełnego "profesora zwyczajnego" z polskich uczelni.
       Proszę jednak odnotować, że dla całego szeregu powodów (np. mojego chronicznego deficytu czasu, prowadzenia badań wyłącznie na zasadzie mojego prywatnego hobby naukowego, pozostawania niezatrudnionym i wynikający z tego mój brak oficjalnego statusu jaki pozwalałby mi zajmować oficjalne stanowisko w określonych sprawach, istnienia w Polsce aż całej armii zawodowych profesorów uczelnianych - których obowiązki zawodowe obejmują m.in. udzielanie odpowiedzi na zapytania społeczeństwa, itd., itp.) począszy od 1 stycznia 2013 roku ja przyjąłem żelazną zasadę, że NIE odpowiadam na żadne emaile wysyłane do mnie przez czytelników moich stron - o czym niniejszym szczerze i uczciwie informuję wszystkich zainteresowanych. Stąd jeśli czytelnik ma sprawę która wymaga odpowiedzi, wówczas NIE powinien do mnie pisać, bowiem w takiej sytuacji wysłanie mi emaila domagającego się odpowiedzi w świetle ustaleń filozofii totalizmu byłoby działaniem niemoralnym. Wszakże spowodowałoby, że czytelnik doznałby zawodu ponieważ z całą pewnością NIE otrzymałby odpowiedzi. Ponadto taki email odbierałby i mi sporo "energii moralnej" ponieważ z jego powodu i ja czułbym się winnym, że NIE znalazłem czasu na napisanie odpowiedzi. Natomiast w/g totalizmu "moralnym działanien" w takiej sytuacji byłoby albo niezobowiązujące mnie do odpisania przesłanie mi jakichś informacji które zdaniem czytelnika są warte abym je poznał, albo teź napisanie raczej do któregoś z zawodowych profesorów polskich uczelni - wszakże oni są opłacani z podatków obywateli między innymi za udzielanie odpowiedzi na zapytania społeczeństwa, a ponadto wszyscy oni mają sekretarki (tak że korespondencja NIE zjada im czasu który powinni przeznaczać na badania).


#N5. Kopia tej strony jest też upowszechniana jako broszurka z serii [11] w bezpiecznym formacie PDF:

       Niniejsza strona dostępna jest także w formie broszurki oznaczanej symbolem [11], którą przygotowałem w "PDF" (od "Portable Document Format") - obecnie uważanym za najbezpieczniejszy z wszystkich internetowych formatów, jako że do niego normalnie wirusy się NIE doczepiają. Ta klarowna broszurka jest gotowa zarówno do drukowania, jak i do wygodnego czytania z ekranu komputera. Ciągle ma ona też aktywne wszystkie swoje zielone linki. Stąd jeśli jest czytana z ekranu komputera podłączonego do internetu, wówczas po kliknięciu na owe linki otworzą się linkowane nimi strony lub ilustracje. Niestety, ponieważ jej objętość jest około dwukrotnie wyższa niż objętość strony internetowej jakiej treść ona publikuje, ograniczenia pamięci na sporej liczbie darmowych serwerów jakie ja używam, NIE pozwalają aby ją na nich oferować (jeśli więc NIE załaduje się ona z niniejszego adresu, ponieważ NIE jest ona tu dostępna, wówczas należy kliknąć na któryś odmienny adres z Menu 3, poczym sprawdzić czy stamtąd juź się załaduje). Aby otworzyć ową broszurkę (lub/i załadować ją do własnego komputera), wystarczy albo kliknąć na następujący zielony link albo też z którejś totaliztycznej witryny otworzyć sobie plik nazywany tak jak w powyższym linku.
       Jeśli zaś czytelnik zechce też sprawdzić, czy jakaś inna totaliztyczna strona właśnie studiowana przez niego, też jest już dostępna w formie takiej PDF broszurki, wówczas powinien sprawdzić, czy wyszczególniona ona została w linkach z "części #B" strony o nazwie tekst_11.htm. Owe linki wskazują bowiem wszystkie totaliztyczne strony, które już zostały opublikowane jako takie broszurki z serii [11] w formacie PDF. Życzę przyjemnego czytania!


#N6. Copyrights © 2013 by Dr Jan Pająk:

       Copyrights © 2013 by Dr Jan Pająk. Wszelkie prawa zastrzeżone. Niniejsza strona stanowi raport z wyników badań jej autora - tyle że napisany jest on popularnym językiem (aby mógł być zrozumiany również przez czytelników o nienaukowej orientacji). Idee zaprezentowane na tej stronie są unikalne dla badań autora i dlatego w tym samym ujęciu co na tej stronie (oraz co w innych opracowaniach autora) idee te uprzednio NIE były jeszcze publikowane przez żadnego innego badacza. Jako taka, strona ta prezentuje idee które stanowią intelektualną własność jej autora. Dlatego jej treść podlega tym samym prawom intelektualnej własności jak każde inne opracowanie naukowe. Szczególnie jej autor zastrzega dla siebie intelektualną własność odkryć naukowych i wynalazków opisanych na tej stronie. Zastrzega więc sobie, aby podczas powtarzania w innych opracowaniach jakiejkolwiek idei zaprezentowanej na niniejszej stronie (tj. jakiejkolwiek teorii, zasady, dedukcji, intepretacji, urządzenia, dowodu, itp.), powtarzająca osoba oddała pełny kredyt autorowi tej strony, poprzez wyraźne wyjaśnienie iż autorem danej idei i/lub badań jest Dr Jan Pająk, poprzez wskazanie internetowego adresu niniejszej strony pod którym idea ta i strona oryginalnie były opublikowane, oraz poprzez podanie daty najnowszego aktualizowania tej strony (tj. daty wskazywanej poniżej).
* * *
If you prefer to read in English click on the flag below
(Jeśli preferujesz czytanie w języku angielskim
kliknij na poniższą flagę)


English flag
Data pierwszego opracowania niniejszej strony: 17 czerwca 2008 roku
Data najnowszego jej aktualizowania: 7 sierpnia 2013 roku
(Sprawdź w adresach z Menu 4 czy istnieje już nowsza aktualizacja)